TOP
|
特許
|
意匠
|
商標
特許ウォッチ
Twitter
他の特許を見る
公開番号
2024169026
公報種別
公開特許公報(A)
公開日
2024-12-05
出願番号
2023086196
出願日
2023-05-25
発明の名称
車両の駆動力制御装置
出願人
トヨタ自動車株式会社
代理人
個人
,
個人
主分類
F02D
29/06 20060101AFI20241128BHJP(燃焼機関;熱ガスまたは燃焼生成物を利用する機関設備)
要約
【課題】登坂路の走行時に運転者がアクセル装置を過操作することを抑制しつつ、適切に駆動力を増加させることができる車両の駆動力制御装置を提供する。
【解決手段】運転者によるアクセル装置の操作量に基づいて駆動力を発生させる車両の駆動力制御装置であって、前記駆動力を制御するコントローラを備え、前記コントローラは、走行路の勾配角度が、予め定められた第1所定角度以上かつ第2所定角度未満の走行路であり(ステップS3でYes)、車速の変化量が予め定められた所定変化量以下の定速走行であり(ステップS1でYes)、かつアクセル装置の操作量を増加させる踏み増し操作が検出された場合に(ステップS2でYes)、車両に要求される駆動力を、アクセル装置の操作量に基づいて定められる通常駆動力と走行路の勾配角度に応じた駆動力増加量とを合算した駆動力に設定する(ステップS4)。
【選択図】図2
特許請求の範囲
【請求項1】
運転者によるアクセル装置の操作量に基づいて駆動力を発生させる車両の駆動力制御装置であって、
前記駆動力を制御するコントローラを備え、
前記コントローラは、
走行路の勾配角度が、予め定められた第1所定角度以上かつ第2所定角度未満の走行路であり、車速の変化量が予め定められた所定変化量以下の定速走行であり、かつ前記アクセル装置の操作量を増加させる踏み増し操作が検出された場合に、前記車両に要求される駆動力を、前記アクセル装置の操作量に基づいて定められる通常駆動力と前記走行路の勾配角度に応じた駆動力増加量とを合算した駆動力に設定する
ことを特徴とする車両の駆動力制御装置。
発明の詳細な説明
【技術分野】
【0001】
本発明は、運転者によるアクセル操作量に基づいて車両の駆動力を制御する装置に関するものである。
続きを表示(約 2,200 文字)
【背景技術】
【0002】
特許文献1には、走行路の勾配角度が予め定められた所定角度以上の登坂路を走行している場合には、走行路の勾配角度が所定角度未満の平坦路を走行している場合と比較して、運転者によるアクセル操作量に基づいた駆動力源の出力トルクを高く設定するように構成された駆動力制御装置が記載されている。なお、特許文献1に記載された駆動力制御装置は、更に、登坂路を走行している場合には、平坦路を走行している場合よりもアクセルペダルの反力トルクを小さくするように構成されている。
【先行技術文献】
【特許文献】
【0003】
国際公開第2013/136744号
【発明の概要】
【発明が解決しようとする課題】
【0004】
特許文献1に記載された駆動力制御装置は、走行路の勾配角度に応じて、アクセル操作量に応じた駆動力を変更するように構成されているため、運転者がアクセルペダルの踏み込み量を走行路の勾配角度に応じて変更する必要がなく、またはその踏み込み量の変化量を小さくすることができ、運転者によるアクセル操作の負担を低減することができる。一方、登坂路を走行する場合には、車両の自重に応じた抵抗力が作用して加速度が生じ難くなることを運転者が推測するため、運転者は、平坦路を走行する場合よりもアクセルペダルを大きく踏み込む傾向にある。そのため、駆動力制御装置によって駆動力を増加させることに加えて、運転者がアクセル操作量を大きくしたことによって駆動力が増加する可能性があり、そのような場合には、運転者が意図しない大きな駆動力が発生して運転者が違和感を抱き、またはアクセルペダルの操作性が低下する可能性がある。
【0005】
本発明は、上記の技術的課題に着目してなされたものであって、登坂路の走行時に運転者がアクセル装置を過操作することを抑制しつつ、適切に駆動力を増加させることができる車両の駆動力制御装置を提供することを目的とするものである。
【課題を解決するための手段】
【0006】
本発明は、上記の目的を達成するために、運転者によるアクセル装置の操作量に基づいて駆動力を発生させる車両の駆動力制御装置であって、前記駆動力を制御するコントローラを備え、前記コントローラは、走行路の勾配角度が、予め定められた第1所定角度以上かつ第2所定角度未満の走行路であり、車速の変化量が予め定められた所定変化量以下の定速走行であり、かつ前記アクセル装置の操作量を増加させる踏み増し操作が検出された場合に、前記車両に要求される駆動力を、前記アクセル装置の操作量に基づいて定められる通常駆動力と前記走行路の勾配角度に応じた駆動力増加量とを合算した駆動力に設定することを特徴としている。
【発明の効果】
【0007】
本発明によれば、走行路の勾配角度が第1所定角度以上かつ第2所定角度未満の走行路、すなわち、比較的勾配角度が小さい登坂路であり、車速の変化量が所定変化量以下の定速走行であり、アクセル装置の操作量を増加させる踏み増しが操作された場合に、車両に要求される駆動力を、アクセル装置の操作量に基づいて定められる通常駆動力と走行路の勾配角度に応じた駆動力増加量とを合算した駆動力に設定する。したがって、勾配角度が小さい登坂路であって運転者が登坂路であることを認識せず、かつ車両の自重による走行抵抗が駆動力に対抗して作用する走行路の走行時に、加速走行するためのアクセル装置の踏み増し操作量が不足するなどによって、運転者が意図した駆動力(加速度)を発生できなくなることを抑制することができる。また、そのような勾配角度が小さい登坂路で駆動力の増加量を大きくするため、運転者が登坂路での加速走行のためのアクセル装置の踏み増し操作をすることがなく、制御による駆動力の増加と運転者が意図した駆動力の増加とが重畳することを回避でき、運転者が意図しない大きな駆動力が発生することを抑制できる。
【図面の簡単な説明】
【0008】
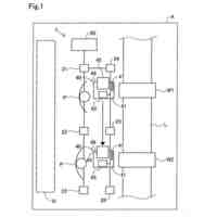
本発明の実施形態における駆動力制御装置の一例を説明するためのブロック図である。
本発明の実施形態における駆動力制御装置で実行される制御の一例を説明するためのフローチャートである。
【発明を実施するための形態】
【0009】
本発明の実施形態における駆動力制御装置は、運転者によるアクセルペダルやジョイスティックなどのアクセル装置の操作量に基づいて駆動力を定めるように構成された車両を対象とするものであって、駆動力源としてのエンジンを備えたコンベンショナルなエンジン車両、駆動力源としてのモータを備えた電気自動車、あるいは駆動力源としてエンジンとモータとを備えたハイブリッド車両などの種々の車両を対象とすることができる。
【0010】
そのような車両は、駆動力源の出力トルクを制御し、あるいは駆動力源と駆動輪との間に設けられた変速機構の変速比を制御すること、もしくは駆動力源の出力トルクと変速機構の変速比との双方を制御することにより、駆動力を変更することができる。なお、以下の説明では、駆動力源の出力トルクを制御することにより、車両の駆動力を変更する例を挙げて説明する。
(【0011】以降は省略されています)
この特許をJ-PlatPat(特許庁公式サイト)で参照する
関連特許
トヨタ自動車株式会社
電池
今日
トヨタ自動車株式会社
電池
今日
トヨタ自動車株式会社
蓄電装置
今日
トヨタ自動車株式会社
車両装置
今日
トヨタ自動車株式会社
エンジン
今日
トヨタ自動車株式会社
蓄電装置
今日
トヨタ自動車株式会社
蓄電装置
今日
トヨタ自動車株式会社
蓄電装置
今日
トヨタ自動車株式会社
蓄電装置
今日
トヨタ自動車株式会社
蓄電装置
今日
トヨタ自動車株式会社
蓄電装置
今日
トヨタ自動車株式会社
蓄電装置
今日
トヨタ自動車株式会社
蓄電装置
今日
トヨタ自動車株式会社
塗工装置
今日
トヨタ自動車株式会社
蓄電装置
今日
トヨタ自動車株式会社
蓄電装置
今日
トヨタ自動車株式会社
蓄電装置
今日
トヨタ自動車株式会社
制御装置
今日
トヨタ自動車株式会社
処理装置
今日
トヨタ自動車株式会社
投影システム
今日
トヨタ自動車株式会社
作業システム
今日
トヨタ自動車株式会社
作業システム
今日
トヨタ自動車株式会社
車両下部構造
今日
トヨタ自動車株式会社
支援ロボット
今日
トヨタ自動車株式会社
電池スタック
今日
トヨタ自動車株式会社
投影システム
今日
トヨタ自動車株式会社
投影システム
今日
トヨタ自動車株式会社
投影システム
今日
トヨタ自動車株式会社
車両側部構造
今日
トヨタ自動車株式会社
投影システム
今日
トヨタ自動車株式会社
オイルシール
今日
トヨタ自動車株式会社
アイオノマー
今日
トヨタ自動車株式会社
車両前部構造
今日
トヨタ自動車株式会社
アイオノマー
今日
トヨタ自動車株式会社
車両の制御装置
今日
トヨタ自動車株式会社
タンクの製造方法
今日
続きを見る
他の特許を見る