TOP
|
特許
|
意匠
|
商標
特許ウォッチ
Twitter
他の特許を見る
公開番号
2025176261
公報種別
公開特許公報(A)
公開日
2025-12-04
出願番号
2024082285
出願日
2024-05-21
発明の名称
火葬炉
出願人
株式会社宮本工業所
代理人
弁理士法人みなみ特許事務所
主分類
F23G
1/00 20060101AFI20251127BHJP(燃焼装置;燃焼方法)
要約
【課題】燃焼室内において台車の温度上昇を防ぐことで冷却時間を要さない火葬炉を提供する。
【解決手段】棺を載置する台車と、前記台車を収容し前記棺の燃焼が行われる燃焼室と、前記台車に水を供給し前記台車を冷却する冷却装置を備え、前記台車は、台車本体と、前記台車本体の上面に設けられた水を貯める貯水部を有しており、前記貯水部は、前記台車本体の上面の周縁部に設けられた堤部の内周側部分であり、前記冷却装置は、前記貯水部に水を張るものである。
【選択図】図1
特許請求の範囲
【請求項1】
棺を載置する台車と、前記台車を収容し前記棺の燃焼が行われる燃焼室と、前記台車に水を供給し前記台車を冷却する冷却装置を備え、
前記台車は、台車本体と、前記台車本体の上面に設けられた水を貯める貯水部を有しており、前記貯水部は、前記台車本体の上面の周縁部に設けられた堤部の内周側部分であり、
前記冷却装置は、前記貯水部に水を張るものであることを特徴とする火葬炉。
続きを表示(約 220 文字)
【請求項2】
前記冷却装置は、水を貯めるタンクと、前記タンクに給水する給水部と、前記タンクから排水する溢水部と、前記タンクと前記貯水部とを接続するサイフォン配管を有し、
前記溢水部は、前記貯水部の深さ範囲の高さに設けられており、
前記サイフォン配管は、前記タンクの水中に一端側の開口が設けられ、前記貯水部内であって前記溢水部の高さより下側に他端側の開口が設けられるものであることを特徴とする請求項1記載の火葬炉。
発明の詳細な説明
【技術分野】
【0001】
本発明は、棺を載置する台車の冷却装置を有する火葬炉に関する。
続きを表示(約 1,300 文字)
【背景技術】
【0002】
火葬に際しては、棺が載置された台車を火葬炉の燃焼室に収容して燃焼し、台車を燃焼室から取り出して、台車上の遺骨を収骨する。燃焼時の燃焼室内の温度は1000℃に達するので、燃焼室から取り出した直後の台車も非常に高温となっている。よって、収骨を行うためには、台車を冷却する時間が必要であった。また、近年では火葬場不足により火葬時間の短縮が求められ、台車が熱い状態のまま収骨が行われることもあり、遺族や運転員の負担となっていた。
【0003】
そこで従来、たとえば特許文献1に示すような台車の冷却方法が提案されている。これは、燃焼室から取り出した台車に霧状の水を吹き付けて冷却するものである。
【先行技術文献】
【特許文献】
【0004】
特開昭61-96316号公報
【発明の概要】
【発明が解決しようとする課題】
【0005】
しかしながら、このような従来の方法は、燃焼の終了後に冷却を行うものであり、自然冷却よりは早いものの、ある程度の冷却時間を要するものであった。
【0006】
本発明は、このような事情を鑑みたものであり、燃焼室内において台車の温度上昇を防ぐことで冷却時間を要さない火葬炉を提供することを目的とする。
【課題を解決するための手段】
【0007】
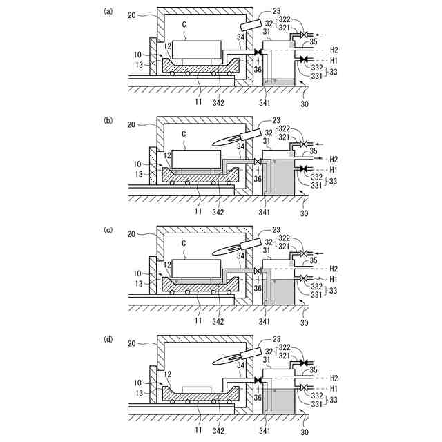
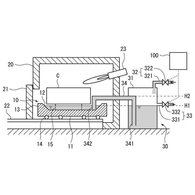
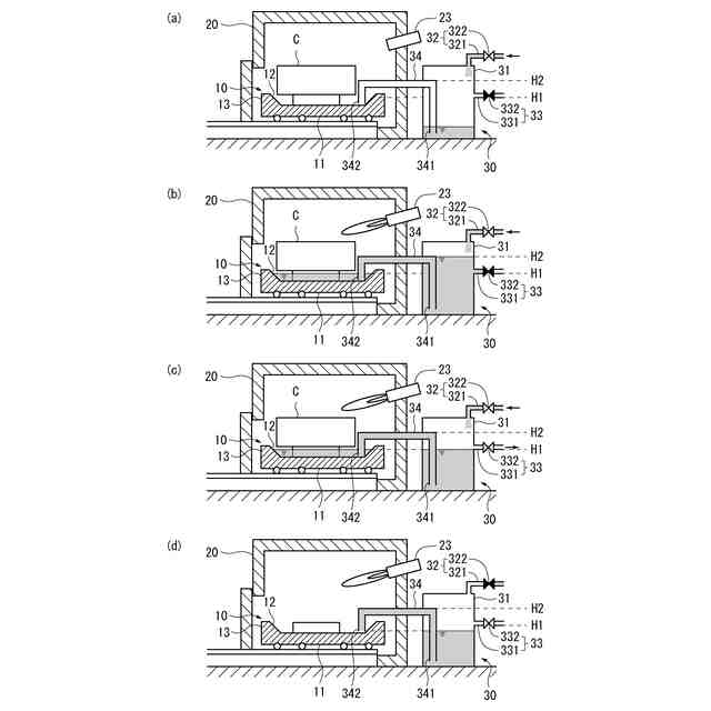
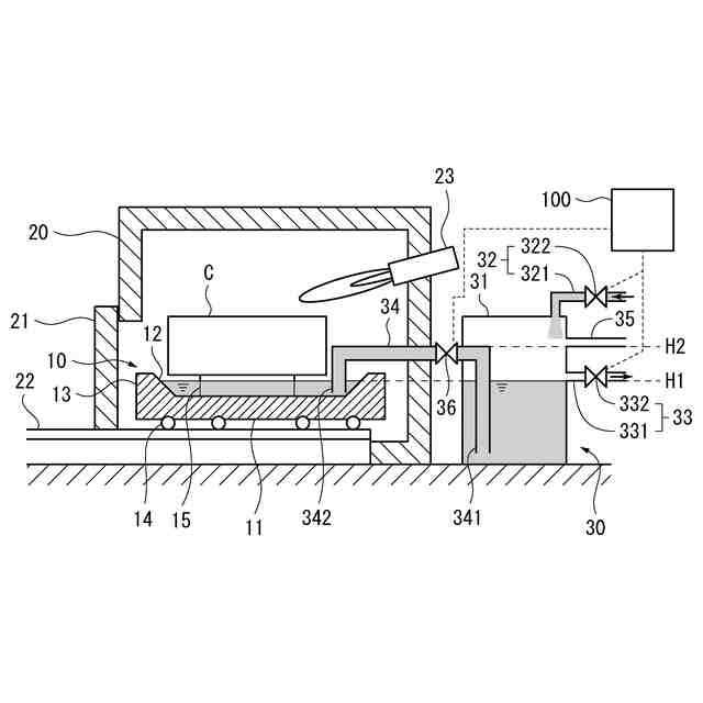
本発明は、棺を載置する台車と、前記台車を収容し前記棺の燃焼が行われる燃焼室と、前記台車に水を供給し前記台車を冷却する冷却装置を備え、前記台車は、台車本体と、前記台車本体の上面に設けられた水を貯める貯水部を有しており、前記貯水部は、前記台車本体の上面の周縁部に設けられた堤部の内周側部分であり、前記冷却装置は、前記貯水部に水を張るものであることを特徴とする。
【0008】
また、本発明は、前記冷却装置が、水を貯めるタンクと、前記タンクに給水する給水部と、前記タンクから排水する溢水部と、前記タンクと前記貯水部とを接続するサイフォン配管を有し、前記溢水部が、前記貯水部の深さ範囲の高さに設けられており、前記サイフォン配管が、前記タンクの水中に一端側の開口が設けられ、前記貯水部内であって前記溢水部の高さより下側に他端側の開口が設けられるものであってもよい。
【発明の効果】
【0009】
本発明によれば、台車本体の上面は周縁部の堤部を除いて水に覆われるので、燃焼時の火炎が台車本体に直接当たらず、台車の温度上昇が防がれる。これにより、火葬の終了後、速やかに収骨を行うことが可能であり、台車の熱さで遺族や運転員に負担がかかることもない。なお、遺体にも多くの水分が含まれているので、燃焼室内に水を供給しても火葬自体に影響はない。
【0010】
また、貯水部に水を供給する構造としてサイフォン配管を用いるものであれば、サイフォンの原理によって貯水部に張られた水の液面高さを確実に維持することが可能である。また、水を供給するための動力を要さないので、構造が簡易であり、製造や運転の費用が抑えられる。
【図面の簡単な説明】
(【0011】以降は省略されています)
この特許をJ-PlatPat(特許庁公式サイト)で参照する
関連特許
株式会社宮本工業所
火葬炉
1日前
株式会社宮本工業所
火葬設備および排熱利用方法
21日前
個人
固形燃料ストーブ
28日前
個人
煙突煤払い掃除機
4か月前
個人
燃焼炉の操業方法
3か月前
個人
ウッドガスストーブ
2か月前
個人
形見の製造方法
2か月前
コーキ株式会社
煙突
2か月前
株式会社トヨトミ
石油燃焼器
1か月前
株式会社豊田自動織機
耐熱部材
2か月前
株式会社パロマ
燃焼装置
4か月前
タイム技研株式会社
流体混合装置
1日前
株式会社トヨトミ
固体燃料燃焼器
6か月前
株式会社オメガ
熱風発生装置
6か月前
株式会社サイトウ工研
焚き火台
1か月前
三浦工業株式会社
ボイラ
5か月前
個人
有機物酸化分解資源化装置
15日前
株式会社フクハラ
充填物処理方法
5か月前
個人
回転キルンを利用した燻炭製造方法
5か月前
東京パイプ株式会社
着火器具
4か月前
株式会社タクマ
付着物除去システム
5か月前
リンナイ株式会社
燃焼装置
5か月前
大陽日酸株式会社
バーナ
6か月前
三浦工業株式会社
燃焼システム
1か月前
大陽日酸株式会社
バーナ
6か月前
大陽日酸株式会社
バーナ
6か月前
山形化成工業株式会社
手持ち式着火用具
3か月前
大阪瓦斯株式会社
燃焼装置
1か月前
三浦工業株式会社
水素燃焼ボイラ
2か月前
株式会社アドバンテック
燃焼装置
2か月前
株式会社アドバンテック
燃焼装置
2か月前
リンナイ株式会社
予混合装置
7か月前
株式会社アドバンテック
燃焼装置
2か月前
三菱重工業株式会社
清掃装置
2か月前
株式会社島川製作所
有害成分加熱浄化装置
7日前
リンナイ株式会社
ガスマニホールド
7日前
続きを見る
他の特許を見る