TOP
|
特許
|
意匠
|
商標
特許ウォッチ
Twitter
他の特許を見る
公開番号
2025159791
公報種別
公開特許公報(A)
公開日
2025-10-22
出願番号
2024062548
出願日
2024-04-09
発明の名称
結露防止構造および方法
出願人
大和ハウス工業株式会社
代理人
弁理士法人アイミー国際特許事務所
主分類
E04B
1/70 20060101AFI20251015BHJP(建築物)
要約
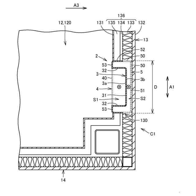
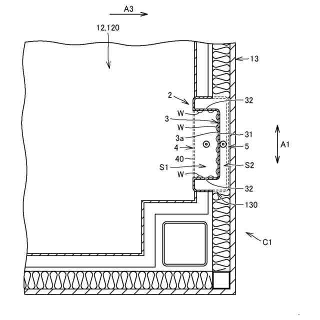
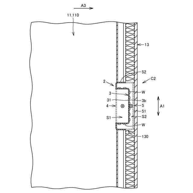
【課題】簡易な構成で、壁で囲まれた室において結露が発生することを防止することのできる結露防止構造を提供する。
【解決手段】結露防止構造は、壁で囲まれた室(12)において結露が発生することを防止する結露防止構造であって、壁の一部に設けられ、室内空間(120)側に開口する切欠き凹部(130)と、切欠き凹部内に設けられ、熱伝導性を有する結露促進部材(3)とを備える。結露促進部材を挟む二つの空間(S1,S2)の温度差により、結露促進部材に結露を発生させる。
【選択図】図2
特許請求の範囲
【請求項1】
壁で囲まれた室において結露が発生することを防止する結露防止構造であって、
前記壁の一部に設けられ、室内空間側に開口する切欠き凹部と、
前記切欠き凹部内に設けられ、熱伝導性を有する結露促進部材とを備える、結露防止構造。
続きを表示(約 700 文字)
【請求項2】
前記結露促進部材が、前記室内空間側に開口する略U字状の断面形状を有し、
前記結露促進部材の内側に、第1の結露発生空間が形成される、請求項1に記載の結露防止構造。
【請求項3】
前記第1の結露発生空間と前記室内空間との間に配置され、通気孔を有する表面被覆部をさらに備える、請求項2に記載の結露防止構造。
【請求項4】
前記結露促進部材および前記表面被覆部が一体的に連結されて、結露収集具を構成する、請求項3に記載の結露防止構造。
【請求項5】
前記結露促進部材の外側に第2の結露発生空間を形成するように配置され、通気孔を有する裏面被覆部をさらに備える、請求項1~4のいずれかに記載の結露防止構造。
【請求項6】
前記結露促進部材および前記裏面被覆部が一体的に連結されて、結露収集具を構成する、請求項5に記載の結露防止構造。
【請求項7】
前記切欠き凹部の下端面に、前記結露促進部材に付着した結露水を外部に排出するための排水口が形成されている、請求項1に記載の結露防止構造。
【請求項8】
壁で囲まれた室において結露が発生することを防止するための結露防止方法であって、
前記壁の一部に、室内空間側に開口する切欠き凹部を設け、
前記切欠き凹部に、熱伝導性を有する結露促進部材を含む結露収集具を嵌め込み、
前記結露促進部材を挟む二つの空間の温度差により前記結露促進部材に結露を発生させ、
前記結露促進部材に付着した結露水を、外部に排水する、結露防止方法。
発明の詳細な説明
【技術分野】
【0001】
本発明は、結露防止構造および方法に関し、特に、壁で囲まれた室において結露が発生することを防止する結露防止構造および結露収集具に関する。
続きを表示(約 940 文字)
【背景技術】
【0002】
住宅などの建物の壁や天井が結露することを防止する技術が従来から提案されている。たとえば特開平09-174731号公報(特許文献1)には、結露防止材料を外壁の外装材内面又は屋根裏の屋根材内面の吸水性合成樹脂シート面に接するように設けることで結露防止を図る技術が開示されている。
【先行技術文献】
【特許文献】
【0003】
特開平09-174731号公報
【発明の概要】
【発明が解決しようとする課題】
【0004】
建物の壁や天井の結露を防止するためには、壁や天井自体の断熱性を高めたり、室内空間を除湿したりすることが、一般的である。
【0005】
また、特許文献1のように結露防止材料を施すことも有効ではあるものの、結露防止材料を広範囲に施す必要があり、より効果的に、壁や天井の結露を防止できる技術が望まれていた。
【0006】
本発明は、上記のような課題を解決するためになされたものであって、その目的は、簡易な構成で、壁で囲まれた室において結露が発生することを防止することのできる結露防止構造および方法を提供することである。
【課題を解決するための手段】
【0007】
この発明のある局面に従う結露防止構造は、壁で囲まれた室において結露が発生することを防止する結露防止構造であって、壁の一部に設けられ、室内空間側に開口する切欠き凹部と、切欠き凹部内に設けられ、熱伝導性を有する結露促進部材とを備える。
【0008】
好ましくは、結露促進部材が、室内空間側に開口する略U字状の断面形状を有し、結露促進部材の内側に、第1の結露発生空間が形成される。
【0009】
好ましくは、結露防止構造は、第1の結露発生空間と室内空間との間に配置され、通気孔を有する表面被覆部をさらに備える。
【0010】
さらに好ましくは、結露防止構造は、結露促進部材の外側に第2の結露発生空間を形成するように配置され、通気孔を有する裏面被覆部をさらに備える。
(【0011】以降は省略されています)
この特許をJ-PlatPat(特許庁公式サイト)で参照する
関連特許
大和ハウス工業株式会社
音低減設備
今日
大和ハウス工業株式会社
座屈拘束ブレース
1日前
個人
接合構造
22日前
個人
屋台
1か月前
個人
タッチミー
21日前
個人
野良猫ハウス
1か月前
個人
フェンス
2か月前
個人
安心補助てすり
5日前
個人
転落防止用手摺
1か月前
個人
居住車両用駐車場
1か月前
個人
地下型マンション
3か月前
積水樹脂株式会社
柵体
1か月前
個人
ベンリナアングル
21日前
個人
筋交自動設定装置
29日前
ニチハ株式会社
建築板
2か月前
個人
鋼管結合資材
3か月前
株式会社タナクロ
テント
4か月前
個人
熱抵抗多層断熱建材
1か月前
個人
補強部材
1か月前
個人
柵
2か月前
個人
防災建築物
11日前
成友建設株式会社
建物
1か月前
個人
身体用シェルター
29日前
鹿島建設株式会社
壁体
2か月前
株式会社シンケン
住宅
6日前
個人
身体用シェルター
29日前
個人
循環流水式屋根融雪装置
3か月前
インターマン株式会社
天井構造
2か月前
三協立山株式会社
構造体
29日前
三協立山株式会社
構造体
6日前
株式会社大林組
接合構造
1日前
三協立山株式会社
構造体
29日前
三協立山株式会社
構造体
29日前
三協立山株式会社
構造体
29日前
三協立山株式会社
構造体
29日前
三洋工業株式会社
床構造
6日前
続きを見る
他の特許を見る