TOP
|
特許
|
意匠
|
商標
特許ウォッチ
Twitter
他の特許を見る
公開番号
2025159509
公報種別
公開特許公報(A)
公開日
2025-10-21
出願番号
2024062121
出願日
2024-04-08
発明の名称
車両用エアバッグの制御装置
出願人
トヨタ自動車株式会社
代理人
弁理士法人太陽国際特許事務所
主分類
B60R
21/214 20110101AFI20251014BHJP(車両一般)
要約
【課題】天井エアバッグを展開させる場合の乗員拘束性能を向上させる。
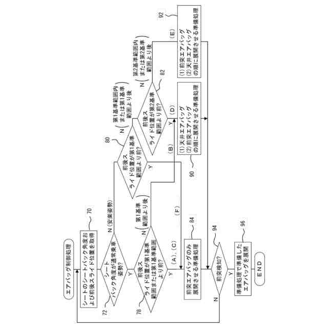
【解決手段】車両前突時に、シート12に着座している乗員の上方に収納した天井エアバッグ30および乗員の前方に収納した前突エアバッグ26のうち前突エアバッグ26のみを展開させる((A)(C)(F)参照)か、天井エアバッグ30および前突エアバッグ26の両方を展開させる((B)(D)(E)参照)かを、シート12の前後スライド位置およびシートバック角度に応じて切り替える。
【選択図】図4
特許請求の範囲
【請求項1】
車両前突時に、シートに着座している乗員の上方に収納した天井エアバッグおよび前記乗員の前方に収納した前突エアバッグのうち前突エアバッグのみを展開させるか、前記天井エアバッグおよび前記前突エアバッグの両方を展開させるかを、前記シートの前後スライド位置およびシートバック角度に応じて切り替える制御部を含む車両用エアバッグの制御装置。
続きを表示(約 1,000 文字)
【請求項2】
前記制御部は、前記シートバック角度が通常乗車姿勢に相当する第1の角度範囲内でかつ前記前後スライド位置が基準範囲内または前記基準範囲よりも車両前方側に位置している場合、または、前記シートバック角度が安楽姿勢に相当する第2の角度範囲内でかつ前記前後スライド位置が前記基準範囲よりも車両前方側に位置している場合には、車両前突時に前記前突エアバッグのみを展開させ、前記シートバック角度が前記第1の角度範囲内でかつ前記前後スライド位置が前記基準範囲よりも車両後方に位置している場合、または、前記シートバック角度が前記第2の角度範囲内でかつ前記前後スライド位置が前記基準範囲内または前記基準範囲よりも車両後方側に位置している場合には、車両前突時に前記天井エアバッグおよび前記前突エアバッグの両方を展開させる請求項1記載の車両用エアバッグの制御装置。
【請求項3】
前記制御部は、前記天井エアバッグの展開方向を変更可能なアクチュエータによって前記展開方向を調整する請求項2記載の車両用エアバッグの制御装置。
【請求項4】
前記制御部は、前記シートバック角度が前記第2の角度範囲内でかつ前記前後スライド位置が前記基準範囲内または前記基準範囲よりも車両後方側に位置している場合に、前記シートバック角度が前記第1の角度範囲内でかつ前記前後スライド位置が前記基準範囲よりも後方側に位置している場合に比べて、前記展開方向を車両後方側へ調整する請求項3記載の車両用エアバッグの制御装置。
【請求項5】
前記制御部は、前記シートバック角度が前記第1の角度範囲内でかつ前記前後スライド位置が第1の基準範囲よりも車両後方側に位置している場合、または、前記シートバック角度が前記第2の角度範囲内でかつ前記前後スライド位置が前記第1の基準範囲と異なる第2の基準範囲よりも車両前方側に位置している場合は、車両前突時に前記天井エアバッグを展開させかつ前記前突エアバッグを前記天井エアバッグと同時または前記天井エアバッグよりも後に展開させる一方、前記シートバック角度が前記第2の角度範囲内でかつ前記前後スライド位置が前記第2の基準範囲内または前記第2の基準範囲よりも車両後方側に位置している場合は、車両前突時に前記前突エアバッグを先、前記天井エアバッグを後に展開させる請求項2記載の車両用エアバッグの制御装置。
【請求項6】
前記第2の基準範囲は、前記第1の基準範囲よりも車両後方側に設定されている請求項5記載の車両用エアバッグの制御装置。
発明の詳細な説明
【技術分野】
【0001】
本開示は車両用エアバッグの制御装置に関する。
続きを表示(約 1,900 文字)
【背景技術】
【0002】
特許文献1には、シートセンサによって車両用シートの位置、乗員の姿勢の少なくとも一方を検出し、シートセンサの検出結果に基づき、ルーフエアバッグ側に設けられた角度調整機構によりルーフエアバッグの展開角度を調整する技術が記載されている。
【先行技術文献】
【特許文献】
【0003】
特開2022-049424号公報
【発明の概要】
【発明が解決しようとする課題】
【0004】
特許文献1では、車両用シートが安楽姿勢でない場合は天井エアバッグ以外のエアバッグを展開させ、車両用シートが安楽姿勢の場合は天井エアバッグを単独で展開させている。しかし、天井エアバッグを単独で展開させた場合には、展開された天井エアバッグの車両前方側に大きな空間が存在することになるので、天井エアバッグによる乗員拘束時に天井エアバッグを所期の位置に保持できず、乗員の拘束力が不足する可能性がある。
【0005】
本開示は上記事実を考慮して成されたもので、天井エアバッグを展開させる場合の乗員拘束性能を向上できる車両用エアバッグの制御装置を得ることが目的である。
【課題を解決するための手段】
【0006】
第1の態様に係る車両用エアバッグの制御装置は、車両前突時に、シートに着座している乗員の上方に収納した天井エアバッグおよび前記乗員の前方に収納した前突エアバッグのうち前突エアバッグのみを展開させるか、前記天井エアバッグおよび前記前突エアバッグの両方を展開させるかを、前記シートの前後スライド位置およびシートバック角度に応じて切り替える制御部を含んでいる。
【0007】
第1の態様では、車両前突時に天井エアバッグを展開させる場合に、天井エアバッグおよび前突エアバッグの両方を展開させるので、車両前突時に天井エアバッグが前突エアバッグによって支持されて所期の位置に保持される。これにより、天井エアバッグを展開させる場合の乗員拘束性能を向上させることができる。
【0008】
第2の態様は、第1の態様において、前記制御部は、前記シートバック角度が通常乗車姿勢に相当する第1の角度範囲内でかつ前記前後スライド位置が基準範囲内または前記基準範囲よりも車両前方側に位置している場合、または、前記シートバック角度が安楽姿勢に相当する第2の角度範囲内でかつ前記前後スライド位置が前記基準範囲よりも車両前方側に位置している場合には、車両前突時に前記前突エアバッグのみを展開させ、前記シートバック角度が前記第1の角度範囲内でかつ前記前後スライド位置が前記基準範囲よりも車両後方に位置している場合、または、前記シートバック角度が前記第2の角度範囲内でかつ前記前後スライド位置が前記基準範囲内または前記基準範囲よりも車両後方側に位置している場合には、車両前突時に前記天井エアバッグおよび前記前突エアバッグの両方を展開させる。
【0009】
第2の態様では、シートバック角度が通常乗車姿勢に相当する角度範囲内でかつ前後スライド位置が基準範囲よりも車両後方に位置している場合、または、シートバック角度が安楽姿勢に相当する角度範囲内でかつ前後スライド位置が基準範囲内または基準範囲よりも車両後方側に位置している場合、すなわち、乗員の姿勢が、天井エアバッグを単独で展開させたとすると天井エアバッグの車両前方側に大きな空間が存在する姿勢になっている場合には、車両前突時に天井エアバッグおよび前突エアバッグの両方を展開させる。これにより、車両前突時に、天井エアバッグが前突エアバッグによって所期の位置に支持されるので、天井エアバッグを展開させる場合の乗員拘束性能を向上させることができる。
【0010】
また、第2の態様では、シートバック角度が通常乗車姿勢に相当する角度範囲内でかつ前後スライド位置が基準範囲内または基準範囲よりも車両前方側に位置している場合、または、シートバック角度が安楽姿勢に相当する角度範囲内でかつ前後スライド位置が基準範囲よりも車両前方側に位置している場合、すなわち、乗員の姿勢が、前突エアバッグを単独で展開させたとしても十分な拘束性能を得られる姿勢になっている場合には、車両前突時に前突エアバッグのみを展開させる。これにより、乗員が安楽姿勢となっている場合に一律に天井エアバッグを展開させる構成(特許文献1に記載の構成)と比較して、天井エアバッグの展開が乗員拘束に有効な場合にのみ天井エアバッグを展開させることができる。
(【0011】以降は省略されています)
この特許をJ-PlatPat(特許庁公式サイト)で参照する
関連特許
トヨタ自動車株式会社
車両
6日前
トヨタ自動車株式会社
電池
13日前
トヨタ自動車株式会社
電池
14日前
トヨタ自動車株式会社
方法
7日前
トヨタ自動車株式会社
方法
7日前
トヨタ自動車株式会社
車両
11日前
トヨタ自動車株式会社
車両
12日前
トヨタ自動車株式会社
車両
4日前
トヨタ自動車株式会社
椅子
7日前
トヨタ自動車株式会社
車体
今日
トヨタ自動車株式会社
電池
4日前
トヨタ自動車株式会社
加熱器
11日前
トヨタ自動車株式会社
飛行体
4日前
トヨタ自動車株式会社
モータ
5日前
トヨタ自動車株式会社
固定子
12日前
トヨタ自動車株式会社
電磁弁
7日前
トヨタ自動車株式会社
電動車
7日前
トヨタ自動車株式会社
ケース
13日前
トヨタ自動車株式会社
制御装置
11日前
トヨタ自動車株式会社
乾燥装置
4日前
トヨタ自動車株式会社
路側装置
13日前
トヨタ自動車株式会社
車載装置
11日前
トヨタ自動車株式会社
二次電池
12日前
トヨタ自動車株式会社
通話装置
11日前
トヨタ自動車株式会社
判定装置
7日前
トヨタ自動車株式会社
蓄電装置
今日
トヨタ自動車株式会社
製造方法
4日前
トヨタ自動車株式会社
蓄電装置
11日前
トヨタ自動車株式会社
製造装置
12日前
トヨタ自動車株式会社
端末装置
4日前
トヨタ自動車株式会社
監視装置
12日前
トヨタ自動車株式会社
駆動装置
4日前
トヨタ自動車株式会社
充電設備
4日前
トヨタ自動車株式会社
搬送装置
4日前
トヨタ自動車株式会社
塗工装置
12日前
トヨタ自動車株式会社
蓄電装置
13日前
続きを見る
他の特許を見る