TOP
|
特許
|
意匠
|
商標
特許ウォッチ
Twitter
他の特許を見る
公開番号
2025158046
公報種別
公開特許公報(A)
公開日
2025-10-16
出願番号
2024060497
出願日
2024-04-03
発明の名称
吊りボルト取付具及び吊りボルト取付構造
出願人
大和ハウス工業株式会社
,
関包スチール株式会社
,
宇都宮工業株式会社
代理人
個人
,
個人
主分類
E04B
9/18 20060101AFI20251008BHJP(建築物)
要約
【課題】吊りボルトの座屈耐力の向上を図ることができる吊りボルト取付具及び吊りボルト取付構造を提供する。
【解決手段】下側フランジ部120を有する吊受材100に吊りボルト10を取り付けるための吊りボルト取付具であって、下側フランジ部120に引っ掛けられる引っ掛け部210・310と、引っ掛け部210・310と接続され、少なくとも一部が下側フランジ部120の下面に当接する当接部220・320と、当接部220・320に設けられ、吊りボルト10の上端部を固定可能に構成される固定部230・330と、を具備する。
【選択図】図2
特許請求の範囲
【請求項1】
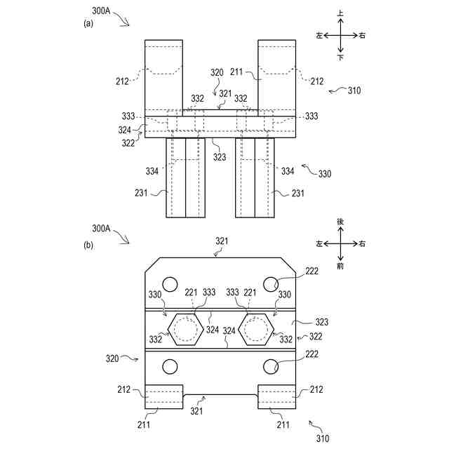
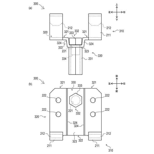
フランジ部を有する吊受材に吊りボルトを取り付けるための吊りボルト取付具であって、
前記フランジ部に引っ掛けられる引っ掛け部と、
前記引っ掛け部と接続され、少なくとも一部が前記フランジ部の下面に当接する当接部と、
前記当接部に設けられ、前記吊りボルトの上端部を固定可能に構成される固定部と、
を具備する、
吊りボルト取付具。
続きを表示(約 1,100 文字)
【請求項2】
前記固定部は、
前記当接部の下面から下方へ延びるように形成され、前記吊りボルトに螺合される高ナット状の高ナット部材を含む、
請求項1に記載の吊りボルト取付具。
【請求項3】
前記高ナット部材は、
前記高ナット部材の上面が前記当接部の下面に溶接により接合されている、
請求項2に記載の吊りボルト取付具。
【請求項4】
前記当接部は、
前記フランジ部の下面に当接する第一部分と、
前記第一部分と接続され、前記フランジ部の下面との間に空間を設けるように下方へ凹んだ第二部分と、
を含み、
前記固定部は、
前記空間内に配置された頭部と、前記頭部から前記第二部分を介して下方へ突出するネジ部と、を有するボルト部材を含み、
前記高ナット部材は、
前記ネジ部に上方から螺合される、
請求項2に記載の吊りボルト取付具。
【請求項5】
前記第二部分は、
前記頭部を載置する底部と、前記底部から立ち上がる側壁部と、を有し、
前記頭部は、
前記側壁部と係合可能に構成される、
請求項4に記載の吊りボルト取付具。
【請求項6】
前記当接部は、
前記当接部を前記フランジ部に締結させるための複数の孔部を有し、
複数の前記孔部は、
前記吊受材の長手方向に沿って前記高ナット部材を間に挟み込む位置に形成される、
請求項2に記載の吊りボルト取付具。
【請求項7】
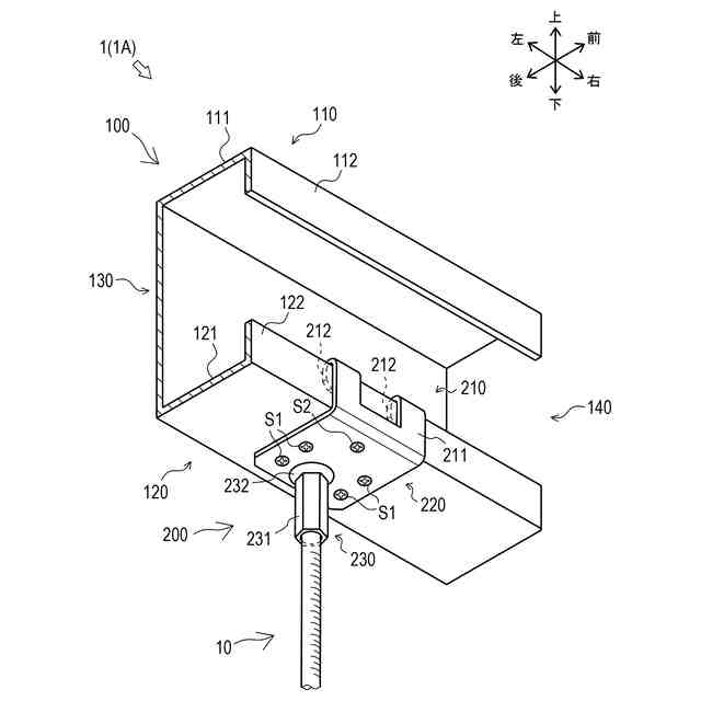
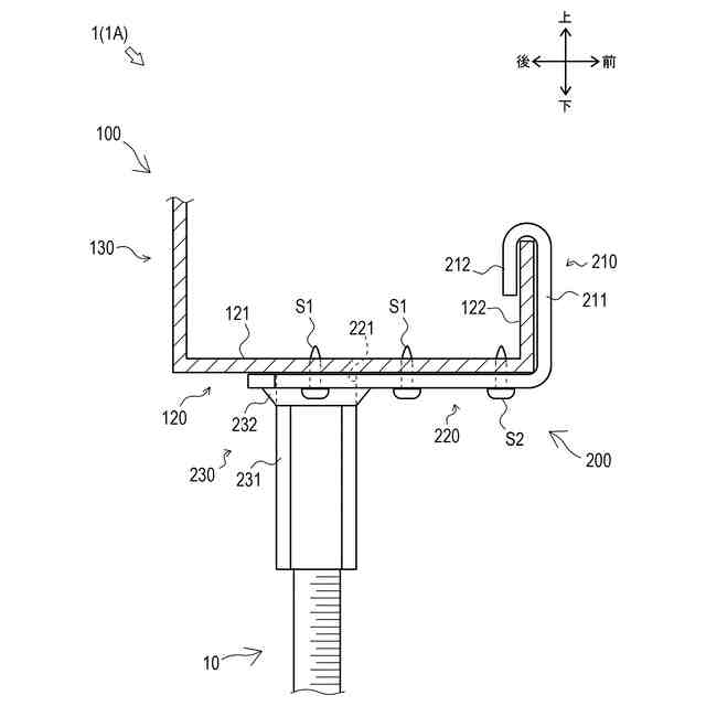
吊受材に吊りボルトを取り付けるための吊りボルト取付具を具備する吊りボルト取付構造であって、
前記吊受材は、
開口を形成する上下のフランジ部と、前記開口と反対側において上下の前記フランジ部を互いに接続するウェブと、を有し、
前記吊りボルト取付具は、
下側の前記フランジ部に引っ掛けられる引っ掛け部と、
前記引っ掛け部と接続されると共に前記引っ掛け部からウェブ側に延びるように形成され、少なくとも一部が下側の前記フランジ部の下面に当接する当接部と、
前記当接部に設けられ、前記吊りボルトの上端部を固定可能に構成される固定部と、
を具備する、
吊りボルト取付構造。
【請求項8】
前記固定部は、
前記当接部の下面から下方へ延びるように形成され、前記吊りボルトに螺合される高ナット状の高ナット部材を含み、
前記高ナット部材は、
下側の前記フランジ部に対して、前記吊受材の開口側と前記ウェブ側とのうち前記ウェブ側に位置するように形成される、
請求項7に記載の吊りボルト取付構造。
発明の詳細な説明
【技術分野】
【0001】
本発明は、吊受材に吊りボルトを取り付けるための吊りボルト取付具及び吊りボルト取付構造の技術に関する。
続きを表示(約 1,100 文字)
【背景技術】
【0002】
従来、吊受材に吊りボルトを取り付けるための吊りボルト取付具及び吊りボルト取付構造の技術は公知となっている。例えば、特許文献1に記載の如くである。
【0003】
特許文献1には、建物の躯体の一部を構成するC形鋼(吊受材)に、天井面材等を吊り下げるための吊りボルトが吊り下げられた天井構造(吊りボルト取付構造)が記載されている。この吊りボルト取付構造においては、C形鋼に吊りボルト取付具が固定される。そして吊りボルトが、吊りボルト取付具の下端部に位置する板片にねじ込まれることによって、吊りボルト取付具に固定される。これにより吊りボルトは、吊りボルト取付具を介してC形鋼に取り付けられる。
【0004】
ここで、例えば軒天等の屋外に設けられた吊りボルト取付構造において、風圧等により吊りボルトに下方から圧縮力が作用する場合がある。この場合、吊りボルト取付具の板片にねじ込まれた吊り部ボルトは、上端部が回転自由となっているため、容易に座屈する可能性がある。
【先行技術文献】
【特許文献】
【0005】
実用新案登録第3204309号公報
【発明の概要】
【発明が解決しようとする課題】
【0006】
本発明は、以上の如き状況を鑑みてなされたものであり、その解決しようとする課題は、吊りボルトの座屈耐力の向上を図ることができる吊りボルト取付具及び吊りボルト取付構造を提供するものである。
【課題を解決するための手段】
【0007】
本発明の解決しようとする課題は以上の如くであり、次にこの課題を解決するための手段を説明する。
【0008】
即ち、請求項1においては、フランジ部を有する吊受材に吊りボルトを取り付けるための吊りボルト取付具であって、前記フランジ部に引っ掛けられる引っ掛け部と、前記引っ掛け部と接続され、少なくとも一部が前記フランジ部の下面に当接する当接部と、前記当接部に設けられ、前記吊りボルトの上端部を固定可能に構成される固定部と、を具備するものである。
【0009】
請求項2においては、前記固定部は、前記当接部の下面から下方へ延びるように形成され、前記吊りボルトに螺合される高ナット状の高ナット部材を含むものである。
【0010】
請求項3においては、前記高ナット部材は、前記高ナット部材の上面が前記当接部の下面に溶接により接合されているものである。
(【0011】以降は省略されています)
この特許をJ-PlatPat(特許庁公式サイト)で参照する
関連特許
個人
接合構造
1か月前
個人
屋台
2か月前
個人
タッチミー
1か月前
個人
野良猫ハウス
2か月前
個人
安心補助てすり
1か月前
個人
フェンス
3か月前
個人
転落防止用手摺
2か月前
個人
ベンリナアングル
1か月前
積水樹脂株式会社
柵体
2か月前
個人
筋交自動設定装置
1か月前
個人
地下型マンション
4か月前
個人
居住車両用駐車場
2か月前
ニチハ株式会社
建築板
3か月前
個人
熱抵抗多層断熱建材
2か月前
株式会社タナクロ
テント
4か月前
個人
鋼管結合資材
4か月前
個人
補強部材
2か月前
個人
柵
3か月前
成友建設株式会社
建物
2か月前
個人
防災建築物
1か月前
個人
身体用シェルター
1か月前
個人
身体用シェルター
1か月前
株式会社シンケン
住宅
1か月前
個人
循環流水式屋根融雪装置
4か月前
鹿島建設株式会社
壁体
2か月前
三協立山株式会社
構造体
1か月前
三協立山株式会社
構造体
1か月前
三協立山株式会社
構造体
12日前
三協立山株式会社
構造体
1か月前
三協立山株式会社
構造体
1か月前
三協立山株式会社
構造体
1か月前
三協立山株式会社
構造体
17日前
三協立山株式会社
構造体
1か月前
三協立山株式会社
構造体
5か月前
株式会社熊谷組
木質材料
2か月前
株式会社熊谷組
吊り治具
1か月前
続きを見る
他の特許を見る