TOP
|
特許
|
意匠
|
商標
特許ウォッチ
Twitter
他の特許を見る
10個以上の画像は省略されています。
公開番号
2025153042
公報種別
公開特許公報(A)
公開日
2025-10-10
出願番号
2024055303
出願日
2024-03-29
発明の名称
家計管理装置及びプログラム
出願人
simufu株式会社
代理人
個人
,
個人
,
個人
主分類
G06Q
10/00 20230101AFI20251002BHJP(計算;計数)
要約
【課題】ユーザの支出計画を支援することができる家計管理技術を提供する。
【解決手段】家計管理装置は、各定期支出項目の単価及び頻度を取得する定期支出項目取得部1と、所定の第一期間長の期間を第一期間として、各第一期間にユーザが支出する支出項目であって定期支出項目以外の支出項目を第一期間支出項目として、第一期間支出項目には、第一期間支出項目の単価の合計に関する予算額である第一期間支出予算額が定められており、各第一期間支出項目の単価を取得する第一期間支出項目取得部2と、ユーザの収入情報と、取得された各定期支出項目の単価及び頻度と、取得された各第一期間支出項目の単価又は第一期間支出予算額とから計算されるユーザの1年間の貯金額についての情報である貯金額情報を表示する貯金額情報表示部5と、を含み、第一期間長は1年よりも短い期間であり、第一期間は未来の期間を含む。
【選択図】図1
特許請求の範囲
【請求項1】
1年よりも短い時間間隔で定期的に発生する支出項目を定期支出項目として、各定期支出項目の単価及び頻度を取得する定期支出項目取得部と、
所定の第一期間長の期間を第一期間として、各第一期間にユーザが支出する支出項目であって前記定期支出項目以外の支出項目を第一期間支出項目として、前記第一期間支出項目には、前記第一期間支出項目の単価の合計に関する予算額である第一期間支出予算額が定められており、各第一期間支出項目の単価を取得する第一期間支出項目取得部と、
前記ユーザの収入情報と、前記取得された各定期支出項目の単価及び頻度と、前記取得された各第一期間支出項目の単価又は前記第一期間支出予算額とから計算される前記ユーザの1年間の貯金額についての情報である貯金額情報を表示する貯金額情報表示部と、を含み、
前記第一期間長は1年よりも短い期間であり、前記第一期間は未来の期間を含む、
家計管理装置。
続きを表示(約 660 文字)
【請求項2】
請求項1の家計管理装置であって、
前記第一期間長よりも長い期間である所定の第二期間長の期間を第二期間として、第二期間にユーザが支出する支出項目であって前記定期支出項目及び前記第一期間支出項目以外の支出項目を第二期間支出項目として、各第二期間支出項目の単価を取得する第二期間支出項目取得部を更に含み、
前記貯金額情報表示部は、前記ユーザの収入情報と、前記取得された各定期支出項目の単価及び頻度と、前記取得された各第一期間支出項目の単価又は前記第一期間支出予算額と、前記取得された各第二期間支出項目の単価とから計算される前記ユーザの一年間の貯金額についての情報である貯金額情報を表示し、
前記第二期間長は1年であり、前記第二期間は未来の期間を含む、
家計管理装置。
【請求項3】
請求項1の家計管理装置であって、
前記第一期間支出項目取得部は、前記第一期間支出予算額から、前記取得された各第一期間支出項目の単価の合計を引いた額である残り予算額をユーザに提示する、
家計管理装置。
【請求項4】
請求項1から3の何れかの家計管理装置であって、
定期支出項目、第一期間支出項目及び第二期間支出項目の少なくとも1つであって未来の支出項目に関連する広告をユーザに通知する通知部を更に含む、
家計管理装置。
【請求項5】
請求項1の家計管理装置の各部としてコンピュータを機能させるためのプログラム。
発明の詳細な説明
【技術分野】
【0001】
開示の技術は、家計を管理する技術に関する。
続きを表示(約 1,700 文字)
【背景技術】
【0002】
家計管理は、人が社会生活を送る上で欠かせないものである。家計管理をするために、さまざまな技術が過去に開発されてきた。例えば、食費などの費目ごとに毎月の予算を決めて収入と支出を記録する家計簿が知られている。また、近年では、家計簿にもデジタル化が進められてきている(例えば、非特許文献1参照。)。
【先行技術文献】
【非特許文献】
【0003】
株式会社くふうAIスタジオ、“Zaimお金が貯まる家計簿アプリ!”、[online]、[令和6年2月29日検索]、インターネット<URL:https://zaim.net/>
【発明の概要】
【発明が解決しようとする課題】
【0004】
従来の家計簿は、過去の消費行動を記録することに重点が置かれており、ユーザの支出計画を支援することに重点が置かれていなかった。
【0005】
開示の技術は、ユーザの支出計画を支援することができる家計管理装置及びプログラムを提供することを目的とする。
【課題を解決するための手段】
【0006】
開示の技術の一態様である家計管理装置は、1年よりも短い時間間隔で定期的に発生する支出項目を定期支出項目として、各定期支出項目の単価及び頻度を取得する定期支出項目取得部と、所定の第一期間長の期間を第一期間として、各第一期間にユーザが支出する支出項目であって定期支出項目以外の支出項目を第一期間支出項目として、第一期間支出項目には、第一期間支出項目の単価の合計に関する予算額である第一期間支出予算額が定められており、各第一期間支出項目の単価を取得する第一期間支出項目取得部と、ユーザの収入情報と、取得された各定期支出項目の単価及び頻度と、取得された各第一期間支出項目の単価又は第一期間支出予算額とから計算されるユーザの1年間の貯金額についての情報である貯金額情報を表示する貯金額情報表示部と、を含み、第一期間長は1年よりも短い期間であり、第一期間は未来の期間を含む。
【発明の効果】
【0007】
開示の技術によれば、ユーザの支出計画を支援することができる。
【図面の簡単な説明】
【0008】
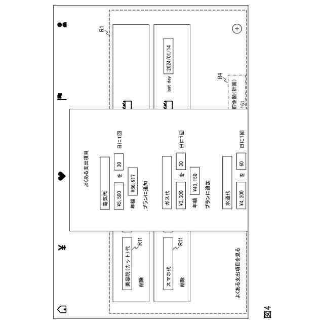
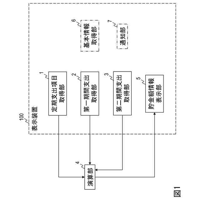
図1は、家計管理装置の機能構成の例を示す図である。
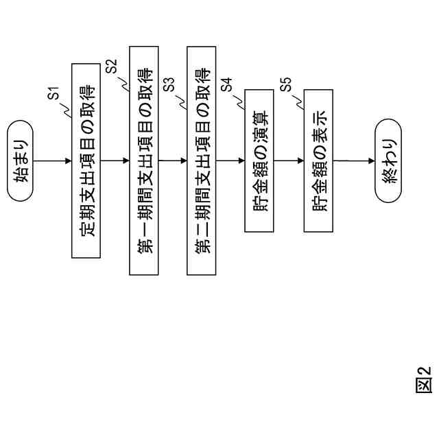
図2は、家計管理方法の処理手続きの例を示す図である。
図3は、表示の例を示す図である。
図4は、表示の例を示す図である。
図5は、表示の例を示す図である。
図6は、表示の例を示す図である。
図7は、表示の例を示す図である。
図8は、表示の例を示す図である。
図9は、表示の例を示す図である。
図10は、表示の例を示す図である。
図11は、表示の例を示す図である。
図12は、表示の例を示す図である。
図13は、表示の例を示す図である。
図14は、コンピュータの機能構成例を示す図である。
【発明を実施するための形態】
【0009】
以下、図面を参照して開示の技術の実施形態を説明する。なお、図面中において同じ機能を有する構成部には同じ番号を付し、重複説明を省略する。
【0010】
[家計管理装置及び方法]
家計管理装置は、図1に示すように、定期支出項目取得部1、第一期間支出項目取得部2、第二期間支出項目取得部3、演算部4及び貯金額情報表示部5を例えば備えている。家計管理装置は、図1に破線で示す表示装置100を備えていてもよい。この場合、定期支出項目取得部1、第一期間支出項目取得部2、第二期間支出項目取得部3及び貯金額情報表示部5は、表示装置100による表示により実現されてもよい。表示装置100は、液晶ディスプレイ(LCD)、LEDディスプレイ、プラズマ(PDP)ディスプレイ、電子ペーパー等の表示装置である。
(【0011】以降は省略されています)
この特許をJ-PlatPat(特許庁公式サイト)で参照する
関連特許
個人
地球保全システム
13日前
個人
QRコードの彩色
4日前
個人
工程設計支援装置
2か月前
個人
為替ポイント伊達夢貯
1か月前
個人
冷凍食品輸出支援構造
1か月前
個人
残土処理システム
6日前
個人
表変換編集支援システム
1か月前
個人
携帯情報端末装置
2か月前
個人
結婚相手紹介支援システム
1か月前
個人
知財出願支援AIシステム
1か月前
個人
知的財産出願支援システム
7日前
個人
AIによる情報の売買の仲介
1か月前
個人
パスワード管理支援システム
1か月前
個人
行動時間管理システム
1か月前
日本精機株式会社
施工管理システム
1か月前
株式会社キーエンス
受発注システム
12日前
個人
食品レシピ生成システム
12日前
個人
海外支援型農作物活用システム
25日前
株式会社アジラ
進入判定装置
1か月前
個人
パスポートレス入出国システム
1か月前
株式会社キーエンス
受発注システム
12日前
株式会社キーエンス
受発注システム
12日前
個人
システム及びプログラム
26日前
個人
AIキャラクター制御システム
1か月前
キヤノン株式会社
表示システム
12日前
個人
食事受注会計処理システム
1か月前
個人
音声・通知・再配達UX制御構造
7日前
個人
冷凍加工連携型農場運用システム
1か月前
個人
音声対話型帳票生成支援システム
1か月前
個人
SaaS型勤務調整支援システム
1か月前
大同特殊鋼株式会社
疵判定方法
19日前
個人
人格進化型対話応答制御システム
1か月前
個人
未来型家系図構築システム
25日前
個人
帳票自動生成型SaaSシステム
7日前
大阪瓦斯株式会社
住宅設備機器
1か月前
サクサ株式会社
中継装置
1か月前
続きを見る
他の特許を見る