TOP
|
特許
|
意匠
|
商標
特許ウォッチ
Twitter
他の特許を見る
10個以上の画像は省略されています。
公開番号
2025148552
公報種別
公開特許公報(A)
公開日
2025-10-07
出願番号
2025120815,2021029113
出願日
2025-07-17,2021-02-25
発明の名称
画像出力方法、画像出力システム、画像出力装置及び画像出力プログラム
出願人
大日本印刷株式会社
代理人
個人
,
個人
主分類
G06T
19/00 20110101AFI20250930BHJP(計算;計数)
要約
【課題】テーマを選択した後に、インテリアデザインの結果が参照可能な画像出力方法等を提供すること。また、臨場感のある3次元画像を提供可能な画像出力方法等を提供すること。
【解決手段】画像出力方法は、住宅のインテリアに関する分類を複数出力し、分類の選択を受け付け、選択された分類に応じたインテリア構成要素により構成する住空間を模する仮想空間を生成し、生成した仮想空間内の仮想視点から見た仮想空間画像を取得し、取得した仮想空間画像を出力する処理をコンピュータが行なうことを特徴とする。
【選択図】図10
特許請求の範囲
【請求項1】
住宅のインテリアに関する分類を複数出力し、
分類の選択を受け付け、
選択された分類に応じたインテリア構成要素により構成する住空間を模する仮想空間を生成し、
生成した仮想空間内の仮想視点から見た仮想空間画像を取得し、
取得した仮想空間画像を、前記仮想空間内をウォークスルー可能な画面に出力する
処理をコンピュータが実行することを特徴とする画像出力方法。
続きを表示(約 1,900 文字)
【請求項2】
前記仮想視点が、前記インテリア構成要素から所定の距離以内に設定された場合、前記インテリア構成要素のテクスチュア画像を切り替え、
表示対象となっているインテリア構成要素の情報を表示する
処理を前記コンピュータが実行することを特徴とする請求項1に記載の画像出力方法。
【請求項3】
住宅のインテリアに関する分類を複数出力する第1の分類出力部と、
分類の選択を受け付ける受付部と、
選択された前記分類に応じたインテリア構成要素により構成する住空間を模する仮想空間を生成する第1の生成部と、
第1ユーザからの指示に従い、生成した仮想空間内の仮想視点を設定する設定部と、
前記仮想視点から見た仮想空間画像を取得する取得部と、
取得した仮想空間画像を、前記仮想空間内をウォークスルー可能な画面に出力する第1の画像出力部と
を有する第1システム、
を備えることを特徴とする画像出力システム。
【請求項4】
前記第1システムに加えて、
住宅のインテリアに関する複数の分類から第1ユーザが選択した分類を取得する分類取得部と、
取得した前記分類に応じたインテリア構成要素により構成する住空間を模する仮想空間を生成する第2の生成部と、
仮想空間内に予め設定された複数の仮想視点の選択を第2ユーザから受け付ける選択受付部と、
受け付けた前記仮想視点から見た仮想空間画像を取得する第2の取得部と、
取得した仮想空間画像を出力する第2の画像出力部と
を有する第2システム
を備えることを特徴とする請求項3に記載の画像出力システム。
【請求項5】
住宅のインテリアに関する分類を複数出力する分類出力部と、
分類の選択を受け付ける受付部と、
選択された分類に応じたインテリア構成要素により構成する住空間を模する仮想空間を生成する生成部と、
生成した仮想空間内の仮想視点から見た仮想空間画像を取得する取得部と、
取得した仮想空間画像を、前記仮想空間内をウォークスルー可能な画面に出力する画像出力部と
を備えることを特徴とする画像出力装置。
【請求項6】
住宅のインテリアに関する分類を複数出力し、
分類の選択を受け付け、
選択された分類に応じたインテリア構成要素により構成する住空間を模する仮想空間を生成し、
生成した仮想空間内の仮想視点から見た仮想空間画像を取得し、
取得した仮想空間画像を、前記仮想空間内をウォークスルー可能な画面に出力する
処理をコンピュータに実行させることを特徴とする画像出力プログラム。
【請求項7】
住宅のインテリアに関する分類を複数出力する第1の分類出力部と、
分類の選択を受け付ける第1の受付部と、
選択された前記分類に応じたインテリア構成要素により構成する住空間を模する仮想空間を生成する第1の生成部と、
ユーザからの指示に従い、生成した仮想空間内の仮想視点を設定する設定部と、
前記仮想視点から見た仮想空間画像を取得する取得部と、
取得した仮想空間画像を、前記仮想空間内をウォークスルー可能な画面に出力する第1の画像出力部と、
コーディネータに付与される識別情報を取得するID取得部と、
取得した前記識別情報、及び、仮想空間画像を対応付けて記憶する記憶部と、
取得した前記識別情報、及び、前記仮想空間画像を出力する結果出力部と
を有するショールームシステム、
住宅のインテリアに関する分類を複数出力する第2の分類出力部と、
分類の選択を受け付ける第2の受付部と、
選択された前記分類に応じたインテリア構成要素により構成する住空間を模する仮想空間を生成する第2の生成部と、
所定の仮想視点から見た仮想空間画像を取得する第2の取得部と、
取得した仮想空間画像を、前記仮想空間内をウォークスルー可能な画面に出力する第2の画像出力部と
を有する営業員システム、及び、
前記識別情報を受け付ける第3の受付部と、
受け付けた前記識別情報に対応する前記仮想空間画像を前記記憶部から取得し、前記仮想空間内をウォークスルー可能な画面に出力する第3の画像出力部と
を有するコーディネータシステム
を備えることを特徴とする画像出力システム。
発明の詳細な説明
【技術分野】
【0001】
本発明は、仮想空間内の仮想視点から見た仮想空間画像を出力する画像出力方法等に関する。
続きを表示(約 2,600 文字)
【背景技術】
【0002】
インテリアデザインを支援する装置が提案されている(例えば、特許文献1参照)。
【先行技術文献】
【特許文献】
【0003】
特開2001-142924号公報
【発明の概要】
【発明が解決しようとする課題】
【0004】
特許文献1に記載の公知技術においては室内のテーマを選択した後に、内装材・造作材の色柄を選ぶ必要がある。また、出力画像は2次元画像であり臨場感に欠ける点がある。
【0005】
本発明はこのような状況に鑑みてなされたものである。その目的は、テーマを選択した後に、インテリアデザインの結果が参照可能な画像出力方法等の提供である。また、臨場感のある3次元画像を提供可能な画像出力方法等の提供である。
【課題を解決するための手段】
【0006】
本願の一態様に係る画像出力方法は、住宅のインテリアに関する分類を複数出力し、分類の選択を受け付け、選択された分類に応じたインテリア構成要素により構成する住空間を模する仮想空間を生成し、生成した仮想空間内の仮想視点から見た仮想空間画像を取得し、取得した仮想空間画像を出力する処理をコンピュータが行なうことを特徴とする。
【発明の効果】
【0007】
本願の一態様にあっては、分類(テーマ)を選択後に、インテリアデザインの結果が参照可能となる。
【図面の簡単な説明】
【0008】
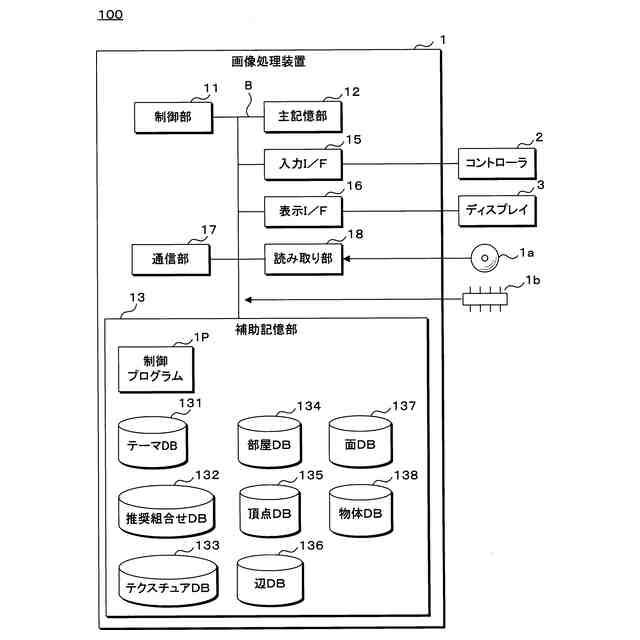
VRシステムの構成例を示す説明図である。
テーマDBの例を示す説明図である。
推奨組合せDBの例を示す説明図である。
テクスチュアDBの例を示す説明図である。
部屋DBの例を示す説明図である。
頂点DBの例を示す説明図である。
辺DBの例を示す説明図である。
面DBの例を示す説明図である。
物体DBの例を示す説明図である。
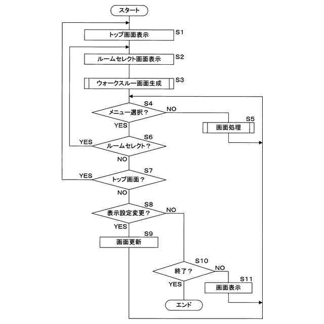
メイン処理の手順例を示すフローチャートである。
ウォークスルー画面生成処理の手順例を示すフローチャートである。
画面処理の手順例を示すフローチャートである。
カラーセレクト処理の手順例を示すフローチャートである。
環境切替処理の手順例を示すフローチャートである。
視点高さ変更処理の手順例を示すフローチャートである。
視点切替処理の手順例を示すフローチャートである。
ルームセレクト画面の例を示す説明図である。
ウォークスルー画面の例を示す説明図である。
カラーセレクトメニュー画面の例を示す説明図である。
環境切替画面の例を示す説明図である。
視点高さ変更画面の例を示す説明図である。
レイアウト画面の例を示す説明図である。
建装材選択画面の例を示す説明図である。
情報画面の例を示す説明図である。
情報画面の例を示す説明図である。
収納開閉の様子を示す説明図である。
VRシステムの他の構成例を示す説明図である。
管理サーバのハードウェア構成例を示すブロック図である。
ユーザ端末のハードウェア構成例を示すブロック図である。
ユーザDBの例を示す説明図である。
ケースDBの例を示す説明図である。
履歴DBの例を示す説明図である。
検討処理の手順例を示すフローチャートである。
参照処理の手順例を示すフローチャートである。
ウォークスルー画面の他の例を示す説明図である。
訓練データDBの例を示す説明図である。
学習モデルの例を示す説明図である。
学習モデル生成処理の手順例を示すフローチャートである。
テーマ選択処理の手順例を示すフローチャートである。
画像処理装置が備える機能部の一例を示すブロック図である。
近接表示処理の手順例を示すフローチャートである。
近接表示の例を示す説明図である。
履歴DBの他の例を示す説明図である。
画像表示処理の手順例を示すフローチャートである。
しおりDBの例を示す説明図である。
ペルソナDBの例を示す説明図である。
お勧めマーク付与処理の手順例を示すフローチャートである。
推奨家具DBの例を示す説明図である。
関連情報処理の手順例を示すフローチャートである。
動画作成処理の手順例を示すフローチャートである。
移動ルートの例を示す説明図である。
テンプレートDBの例を示す説明図である。
プレゼンボード作成処理の手順例を示すフローチャートである。
テンプレートの例を示す説明図である。
VRシステムの他の構成例を示す説明図である。
【発明を実施するための形態】
【0009】
(実施の形態1)
以下実施の形態を、図面を参照して説明する。図1はVRシステムの構成例を示す説明図である。VRはVirtual Realityの略語である。VRシステム100は画像処理装置1
、コントローラ2及びディスプレイ3を含む。画像処理装置1はデスクトップPC(Personal Computer)、ノートPC又はタブレットコンピュータ等で構成する。画像処理装置
1は、可能な限りリアルなビデオ映像を表示可能とするため、3Dグラフィック処理能力の高いグラフィック処理手段を備えたコンピュータ、いわゆるゲーミングPCで構成してもよい。また、画像処理装置1を複数のコンピュータからなるマルチコンピュータ、ソフトウェアによって仮想的に構築された仮想マシン又は量子コンピュータで構成しても良い
。
【0010】
コントローラ2は例えばVRコントローラである。ユーザはコントローラ2を用いて、画像処理装置1への指示を行なう。ディスプレイ3は液晶表示パネル等を含む表示装置である。ディスプレイ3は4Kディスプレイや8Kディスプレイ等の高精細ディスプレイであることが望ましい。また、ディスプレイ3はヘッドマウントディスプレイ、VRゴーグルでもよい。
(【0011】以降は省略されています)
この特許をJ-PlatPat(特許庁公式サイト)で参照する
関連特許
個人
地球保全システム
9日前
個人
フラワーコートA
2か月前
個人
工程設計支援装置
1か月前
個人
為替ポイント伊達夢貯
1か月前
個人
冷凍食品輸出支援構造
1か月前
個人
介護情報提供システム
2か月前
個人
残土処理システム
2日前
個人
携帯情報端末装置
1か月前
個人
表変換編集支援システム
29日前
個人
結婚相手紹介支援システム
1か月前
個人
知財出願支援AIシステム
1か月前
個人
知的財産出願支援システム
3日前
個人
行動時間管理システム
1か月前
個人
パスワード管理支援システム
29日前
個人
AIによる情報の売買の仲介
1か月前
株式会社アジラ
進入判定装置
1か月前
日本精機株式会社
施工管理システム
1か月前
個人
食品レシピ生成システム
8日前
株式会社キーエンス
受発注システム
8日前
株式会社キーエンス
受発注システム
8日前
個人
アンケート支援システム
2か月前
株式会社キーエンス
受発注システム
8日前
個人
パスポートレス入出国システム
1か月前
個人
システム及びプログラム
22日前
個人
海外支援型農作物活用システム
21日前
個人
AIキャラクター制御システム
29日前
個人
社会還元・施設向け供給支援構造
29日前
大同特殊鋼株式会社
疵判定方法
15日前
サクサ株式会社
中継装置
29日前
サクサ株式会社
中継装置
2か月前
個人
ジェスチャーパッドのガイド部材
2か月前
個人
人格進化型対話応答制御システム
29日前
大阪瓦斯株式会社
住宅設備機器
1か月前
個人
未来型家系図構築システム
21日前
個人
食事受注会計処理システム
1か月前
個人
音声・通知・再配達UX制御構造
3日前
続きを見る
他の特許を見る