TOP
|
特許
|
意匠
|
商標
特許ウォッチ
Twitter
他の特許を見る
公開番号
2025144824
公報種別
公開特許公報(A)
公開日
2025-10-03
出願番号
2024044686
出願日
2024-03-21
発明の名称
パルスレーザー光発生方法及びパルスレーザー光発生装置
出願人
国立大学法人電気通信大学
代理人
個人
,
個人
,
個人
主分類
G02F
1/01 20060101AFI20250926BHJP(光学)
要約
【課題】 レーザー光を光共振器内に蓄積することにより増強したレーザー光をパルスレーザー光として超低損失で外部に取り出すことができるパルスレーザー光発生方法及びパルスレーザー光発生装置を提供する。
【解決手段】
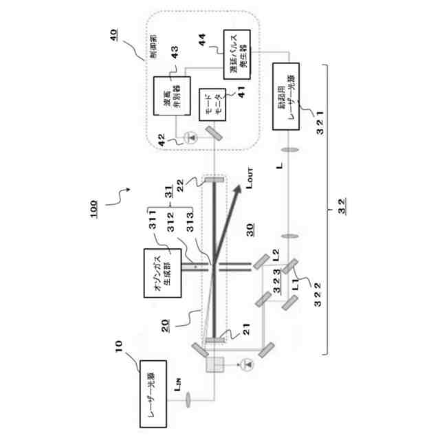
レーザー光源10からレーザー光を光共振器20に入射して上記光共振器20内にレーザー光を蓄積し、上記光共振器20内に蓄積されたレーザー光の強度が所定値に達したことを検出して上記光共振器20内の気体光学スイッチ30を動作させ、上記光共振器20内に蓄積されたレーザー光を上記光共振器20内から上記気体光学スイッチ30を介してパルスレーザー光L
OUT
として外部に取り出す。
【選択図】 図1
特許請求の範囲
【請求項1】
レーザー光源からレーザー光を光共振器に入射して上記光共振器内にレーザー光を蓄積し、
上記光共振器内に蓄積されたレーザー光の強度が所定値に達したことを検出して上記光共振器内の気体光学スイッチを動作させ、
上記光共振器内に蓄積されたレーザー光を上記光共振器内から上記気体光学スイッチを介してパルスレーザー光として外部に取り出すことを特徴とするパルスレーザー光発生方法。
続きを表示(約 1,600 文字)
【請求項2】
上記光共振器内に共鳴的に光を吸収する分子を含む気体を供給して一定の領域を形成し、上記分子の吸収帯域の波長の励起用レーザー光を上記領域内において交差するように照射して該気体を光励起することで、上記領域内に干渉縞を生成し、上記領域内における上記干渉縞を過渡的な回折素子として用いて、上記干渉縞に入射される上記気体の非吸収帯域の波長のレーザー光を回折させる上記気体光学スイッチを介して、上記光共振器内からパルスレーザー光を外部に取り出すこと特徴とする請求項1に記載のパルスレーザー光発生方法。
【請求項3】
上記気体による上記一定の領域は、励起用レーザーに強い吸収を持ち、蓄積されるレーザーには超低損失性を持つガスが層流状態となっており、上記励起用レーザー光は、このガスに強い吸収を示す波長のパルスレーザー光であることを特徴とする請求項2に記載のパルスレーザー光発生方法。
【請求項4】
上記光共振器内に蓄積可能な発振周波数と空間モードの連続発振レーザー光が上記レーザー光源から上記光共振器に入射されることを特徴とする請求項1乃至請求項3の何れか1項に記載のパルスレーザー光発生方法。
【請求項5】
上記光共振器内に蓄積するレーザー光の該光共振器内での往復時間で決まるパルス間隔のパルスレーザー光が上記レーザー光源から上記光共振器に入射されること特徴とする請求項1乃至請求項3の何れか1項に記載のパルスレーザー光発生方法。
【請求項6】
増強させるレーザー光を出射するレーザー光源と、
上記レーザー光源から増強させるレーザー光が入射される光共振器と、
上記光共振器内に設けられる気体光学スイッチと、
上記気体光学スイッチのスイッチング動作を制御する制御部とを備え、
上記制御部は、上記レーザー光源から増強させるレーザー光を入射することにより上記光共振器内に蓄積されたレーザー光の強度が所定値に達したこと検出して、上記光共振器内の上記気体光学スイッチをスイッチング動作させ、
上記光共振器内に蓄積され、増強させたレーザー光を上記気体光学スイッチを介して上記光共振器内から外部にパルスレーザー光として取り出すことを特徴とするパルスレーザー光発生装置。
【請求項7】
上記気体光学スイッチは、共鳴的に光を吸収する分子を含む気体を供給して一定の領域を形成する気体発生手段と、上記分子の吸収帯域の波長の励起用レーザー光を上記領域内において交差するように照射して該気体を光励起することで、上記領域内に干渉縞を生成する光励起手段とを備え、上記領域内における上記干渉縞を過渡的な回折素子として用いて、上記干渉縞に入射される上記気体の非吸収帯域の波長のレーザー光を回折させる回折光学素子からなり、上記干渉縞が生成される領域を上記光共振器内に位置させてなることを特徴とする請求項6記載のパルスレーザー光発生装置。
【請求項8】
上記気体による上記一定の領域は、励起用レーザーに強い吸収を持ち、蓄積されるレーザーには超低損失性を持つガスが層流状態となっており、上記励起用レーザー光は、このガスに強い吸収を示す波長のパルスレーザー光であることを特徴とする請求項7に記載のパルスレーザー光発生装置。
【請求項9】
上記レーザー光源は、上記光共振器内に蓄積可能な発振周波数と空間モードの連続発振レーザー光を上記増強させるレーザー光として出射することを特徴とする請求項6乃至請求項8の何れか1項に記載のパルスレーザー発生装置。
【請求項10】
上記レーザー光源は、上記光共振器内に蓄積するレーザー光の該光共振器内での往復時間で決まるパルス間隔のパルスレーザー光を上記増強させるレーザー光として出射することを特徴とする請求項6乃至請求項6の何れか1項に記載のパルスレーザー発生装置。
発明の詳細な説明
【技術分野】
【0001】
本発明は、パルスレーザー光発生方法及びパルスレーザー光発生装置に関する。
続きを表示(約 1,900 文字)
【背景技術】
【0002】
パルスレーザー光を発生する手法方法としては、従来からQスイッチやモードロックといった手法があり(例えば、特許文献1、2参照)、また、超短パルスレーザー光では、チャープ増幅といった手法がある(例えば、特許文献3、4参照)。
【0003】
例えば、特許文献1には、レーザー媒質の片側に高反射率ミラーを、他方側に低反射率ミラーを配設してなる共振器間にQスイッチ素子及びキャビティダンプ素子を配設し、レーザー光を共振器内に完全に閉じ込めた状態でQスイッチ発振を行わせ、共振器内に蓄積されたパルスレーザー光のピークレベル近傍で、続けてキャビティダンプ素子を動作させてキャビティダンプを行なわせることにより、共振器内部に蓄積されたエネルギーを瞬間的に外部に取り出すように構成されたパルスレーザー光発振装置が開示されている。
【0004】
しかし、近年パルスレーザー光の繰り返し周波数が急増し、高ピークかつ高平均出力のレーザー光が開発、応用からも望まれるようになってきた。レーザー光は、増幅の手法をもとに光を増強させることは容易であるが、その一方で光強度の強い部分に利得媒質などを置く必要がある。このような状態では、望まない非線形光学効果や光学破壊が生じることがあり、実際にはビーム断面積を大きくして単位面積当たりの光強度を低下させるような形で増幅システムを構築している。そのため、システムの大型化になってしまっている。
【0005】
また、高平均出力レーザー光では、レーザー光発生装置内の光強度も当然ながら増加している。この場合、わずかな割合の損失率の素子があっても、その損失パワーは非常に大きくなり、それが散乱光や熱となって周辺に広がる。これらは、装置自身や周辺機器の温度を上昇させたり、表面からのダストを発生させたり、新たな冷却装置が必要になったりしている。
【0006】
こういった課題を解決する方法として、例えば非特許文献1,2には、空の共振器内に光を蓄積させ、それを何らかの方法で取り出すenhancement cavityという手法が提案されている。
【0007】
一方、超低損失鏡を使用すれば、共振器内に桁違いに大きな強度の光を蓄積できる技術はすでに多くのところで開発されている。こういった鏡の損失はppmオーダーまで超低損失化でき、外部からの光の5~6桁強い強度を共振器内部に蓄えることも可能になってきている。例えば、100WのCWレーザー光をppmレベルの低損失共振器内に蓄積させれば、10
5
程度の光増強が可能になり、10MWもの光を何もない共振器内に発生させることが可能となる。もし、これを外部に取り出すことができれば、100Wから10MWのパルスレーザー光を発生できることになるが、これまではppmの低損失のスイッチがないために、例えば非特許文献3のように共振器内部でVUV光に波長変換をしたり、例えば非特許文献4のように電子ビームで散乱させX線を発生させたりした応用になっている。
【0008】
共振器内の光を効率よく取り出すためには、スイッチに高速性も要求される。必要なスイッチング速度は共振器長Lの2倍を光速cで除した値(2L/c)になるために、2mクラスの共振器では12ナノ秒程度の速度が必要になる。光の高速スイッチとしては、音響光学素子や電気光学素子などがあるが、共振器内に挿入してしまうと10
-3
~10
-2
程度の挿入損失が生じてしまう。この損失があると共振器中の光増強率は1/(1-η)程度になるために、10
2
~10
3
に制限され、共振器内蓄積としての魅力がなくなってしまう。
【0009】
この課題を回避するために、例えば非特許文献5のように、Breitkopfらは小さなミラーを回転円盤状に取り付け、その円盤を高速で回転させることで、共振器光路にミラーが来た時に取り出す提案を行っている。
【先行技術文献】
【特許文献】
【0010】
特開2003-69118号公報
特開2021-150367号公報
特開2007-129174号公報
特表2022-523326号公報
特許第7360159号公報
【非特許文献】
(【0011】以降は省略されています)
この特許をJ-PlatPat(特許庁公式サイト)で参照する
関連特許
住友化学株式会社
積層体
4日前
日東電工株式会社
積層光学部材及び光学装置
4日前
住友ベークライト株式会社
光学シート
4日前
京セラ株式会社
走査装置及び制御装置
4日前
京セラ株式会社
走査装置及び制御装置
4日前
住友ベークライト株式会社
光学性積層体
4日前
住友ベークライト株式会社
光学性積層体
4日前
住友化学株式会社
積層体および表示装置
4日前
日本放送協会
半波長電圧測定方法および位相測定装置
4日前
リンテック株式会社
ハードコートフィルム、光学ディスプレイ
4日前
日東電工株式会社
レンズ及び内視鏡用部材
4日前
新光電気工業株式会社
光導波路部品及び光導波路部品の製造方法
4日前
リンテック株式会社
積層体及び配線シート
4日前
京セラ株式会社
揺動装置、電磁波照射装置、及び制御装置
4日前
ニデックインスツルメンツ株式会社
接合レンズ、レンズユニット
4日前
株式会社日立エルジーデータストレージ
虚像表示装置及び虚像表示方法
4日前
住友ベークライト株式会社
偏光性湾曲積層体およびレンズの製造方法
4日前
パナソニックオートモーティブシステムズ株式会社
ヘッドアップディスプレイ
4日前
パナソニックオートモーティブシステムズ株式会社
調光装置及び調光方法
4日前
ダイキン工業株式会社
リフレクタ、紫外線照射ユニット、空気調和装置及びリフレクタの製造方法
4日前
TDK株式会社
光合波器、光変調機能付き光合波部材、可視光光源モジュール、光学エンジン及びXRグラス
4日前
国立大学法人九州大学
有機非線形光学化合物を用いた光変調導波路素子の製造方法
4日前
シャープディスプレイテクノロジー株式会社
表示装置
4日前
KDDI株式会社
波長可変光バンドパスフィルタ、それを用いた分光器および波長可変光バンドパスフィルタの制御方法
4日前
他の特許を見る