TOP
|
特許
|
意匠
|
商標
特許ウォッチ
Twitter
他の特許を見る
10個以上の画像は省略されています。
公開番号
2025144770
公報種別
公開特許公報(A)
公開日
2025-10-03
出願番号
2024044610
出願日
2024-03-21
発明の名称
マルチレベルインバータ
出願人
株式会社デンソー
代理人
個人
,
個人
,
個人
,
個人
,
個人
主分類
H02M
7/487 20070101AFI20250926BHJP(電力の発電,変換,配電)
要約
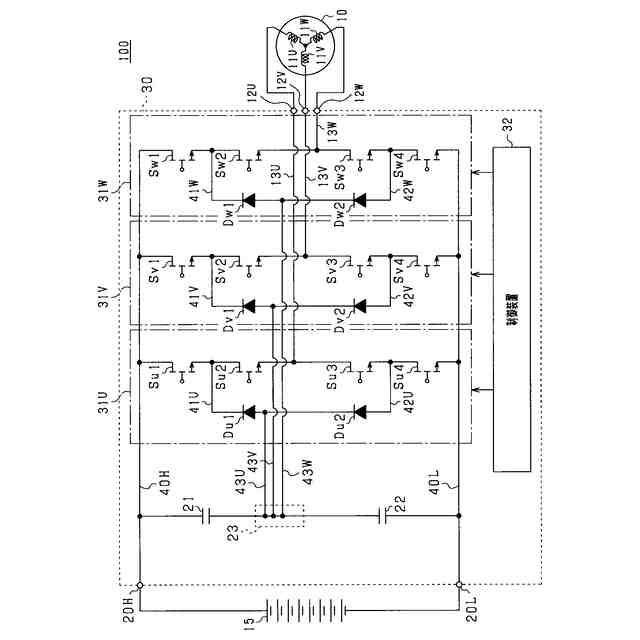
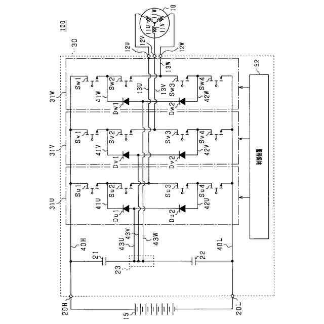
【課題】スイッチング制御の実施に伴い発生するサージ電圧を低減することができるマルチレベルインバータを提供する。
【解決手段】3レベルインバータ30は、第1,第2コンデンサ21,22と、U,V,W相第1~第4スイッチSu1~Su4,Sv1~Sv4,Sw1~Sw4と、U,V,W相第1,第2ダイオードDu1,Du2,Dv1,Dv2,Dw1,Dw2とが実装された基板を備えている。基板は、各コンデンサ21,22、各スイッチSu1~Su4,Sv1~Sv4,Sw1~Sw4及び各ダイオードDu1,Du2,Dv1,Dv2,Dw1,Dw2が配置された配置面と、配置面とは異なる面であり、各コンデンサ21,22及び各ダイオードDu1,Du2,Dv1,Dv2,Dw1,Dw2を電気的に接続する各相第3配線43U,43V,43Wが形成された接続面とを有する。
【選択図】 図1
特許請求の範囲
【請求項1】
直列接続された複数のコンデンサ部(21,22,121~124)と、
前記各コンデンサ部の直列接続体から出力可能な複数の電圧のうちいずれかの電圧を選択して出力すべく制御される複数のスイッチ部(Su1~Su8,Sv1~Sv4,Sw1~Sw4)と、
複数の前記電圧のうち中間レベルの電圧が選択された場合に前記スイッチ部に流れる電流を整流する複数の整流部(Du1~Du6,Dv1,Dv2,Dw1,Dw2)と、
を備えるマルチレベルインバータ(30,130)において、
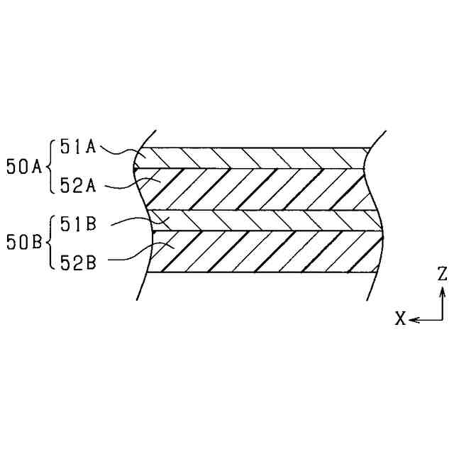
前記各コンデンサ部、前記各スイッチ部及び前記各整流部が実装された基板(50,150,250,350)を備え、
前記基板は、板面として、
前記各コンデンサ部、前記各スイッチ部及び前記各整流部が配置された配置面と、
前記配置面とは異なる板面であり、前記各コンデンサ部及び前記各整流部を電気的に接続する接続配線(43U,43V,43W,143U,146U,149U)が形成された接続面と、
を有する、マルチレベルインバータ。
続きを表示(約 2,600 文字)
【請求項2】
前記各スイッチ部は、直列接続され、
前記配置面において、前記各スイッチ部は、直列接続された順に並んで設けられている、請求項1に記載のマルチレベルインバータ。
【請求項3】
前記配置面において、前記各スイッチ部から、前記各スイッチ部が並ぶ方向である第1方向と直交する第2方向にずれた位置には、前記整流部が設けられており、
前記配置面において、前記各スイッチ部に対して、前記第2方向において前記整流部の設置位置とは反対側の位置には、前記各コンデンサ部が設けられている、請求項2に記載のマルチレベルインバータ。
【請求項4】
複数の前記スイッチ部として、第1スイッチ(Su1,Sv1,Sw1)、第2スイッチ(Su2,Sv2,Sw2)、第3スイッチ(Su3,Sv3,Sw3)及び第4スイッチ(Su4,Sv4,Sw4)が備えられ、
複数の前記整流部として、第1ダイオード(Du1,Dv1,Dw1)及び第2ダイオード(Du2,Dv2,Dw2)が備えられ、
複数の前記コンデンサ部として、直列接続された第1コンデンサ(21)及び第2コンデンサ(22)が備えられ、
前記第1スイッチ、前記第2スイッチ、前記第3スイッチ及び前記第4スイッチは、この順に直列接続されており、
前記配置面に形成された正極側配線(40H)を介して、前記第1スイッチの高電位側端子が、前記第1コンデンサの第1端に接続され、
前記配置面に形成された負極側配線(40L)を介して、前記第4スイッチの低電位側端子が、前記第2コンデンサの第2端に接続され、
前記配置面に形成された第1中間配線(41U,41V,41W)を介して、前記第1スイッチの低電位側端子及び前記第2スイッチの高電位側端子が、前記第1ダイオードのカソードに接続され、
前記配置面に形成された第2中間配線(42U,41V,41W)を介して、前記第3スイッチの低電位側端子及び前記第4スイッチの高電位側端子が、前記第2ダイオードのアノードに接続され、
前記接続面に形成された前記接続配線(43U,43V,43W)を介して、前記第1ダイオードのアノードと前記第2ダイオードのカソードとが、前記第1コンデンサの第2端及び前記第2コンデンサの第1端に接続されている、請求項3に記載のマルチレベルインバータ。
【請求項5】
前記配置面のうち、前記第1スイッチ及び前記第1コンデンサに対して前記第1方向において前記第2コンデンサとは反対側には、前記第2方向に延びる前記正極側配線が形成されており、
前記配置面のうち、前記第4スイッチ及び前記第2コンデンサに対して前記第1方向において前記第1コンデンサとは反対側には、前記第2方向に延びる負極側配線が形成されており、
前記配置面のうち、前記第1方向において前記第1スイッチと前記第2スイッチとの間には、前記第2方向に延びる前記第1中間配線が形成されており、
前記配置面のうち、前記第1方向において前記第3スイッチと前記第4スイッチとの間には、前記第2方向に延びる前記第2中間配線が形成されており、
前記接続配線は、前記基板の板面の正面視において、前記正極側配線、前記負極側配線、前記第1中間配線及び第2中間配線それぞれの少なくとも一部に重複している、請求項4に記載のマルチレベルインバータ。
【請求項6】
前記第1ダイオード及び前記第2ダイオードのそれぞれは、複数のダイオードの並列接続体で構成されており、
前記配置面において、前記第1ダイオード及び前記第2ダイオードを構成する複数の前記ダイオードは、前記第1方向に並んで設けられており、
前記第1中間配線は、前記第1ダイオードの設置位置側において、前記第1スイッチ及び前記第2スイッチの設置位置側よりも前記第1方向に幅広く形成されており、
前記第2中間配線は、前記第2ダイオードの設置位置側において、前記第3スイッチ及び前記第4スイッチの設置位置側よりも前記第1方向に幅広く形成されている、請求項5に記載のマルチレベルインバータ。
【請求項7】
前記第1コンデンサ及び前記第2コンデンサのそれぞれは、複数のコンデンサの並列接続体で構成されており、
前記配置面において、前記第1コンデンサ及び前記第2コンデンサを構成する複数の前記コンデンサは、前記第1方向に並んで設けられており、
前記配置面において、前記第1コンデンサ及び前記第2コンデンサと前記第1ダイオード及び前記第2ダイオードとの間に、前記第1スイッチ、前記第2スイッチ、前記第3スイッチ及び前記第4スイッチが設けられており、
前記正極側配線は、前記第1コンデンサの設置位置側において、前記第1スイッチの設置位置側よりも前記第1方向に幅広く形成されており、
前記負極側配線は、前記第2コンデンサの設置位置側において、前記第4スイッチの設置位置側よりも前記第1方向に幅広く形成されている、請求項5に記載のマルチレベルインバータ。
【請求項8】
前記各スイッチ部のそれぞれは、複数のスイッチの並列接続体で構成されており、
前記配置面において、前記各スイッチ部を構成する複数の前記スイッチは、前記第2方向に並んで設けられている、請求項3~7のいずれか1項に記載のマルチレベルインバータ。
【請求項9】
前記第1コンデンサ、前記第2コンデンサ、前記第1スイッチ、前記第2スイッチ、前記第3スイッチ、前記第4スイッチ、前記第1ダイオード及び前記第2ダイオードが設けられる前記配置面は、同一面である、請求項4~7のいずれか1項に記載のマルチレベルインバータ。
【請求項10】
前記接続配線は、前記配置面に配置された前記第1コンデンサ、前記第2コンデンサ、前記第1スイッチ、前記第2スイッチ、前記第3スイッチ、前記第4スイッチ、前記第1ダイオード及び前記第2ダイオードの設置位置が含まれるように、前記接続面に形成されたベタパターンである、請求項4~7のいずれか1項に記載のマルチレベルインバータ。
(【請求項11】以降は省略されています)
発明の詳細な説明
【技術分野】
【0001】
本開示は、マルチレベルインバータに関する。
続きを表示(約 1,600 文字)
【背景技術】
【0002】
従来、直流電力を交流電力に変換して出力するマルチレベルインバータが知られている。マルチレベルインバータは、多段階の電圧を出力すべく、オン又はオフに制御されるスイッチを備える。
【0003】
スイッチのスイッチング制御が実施されることに伴い、インバータに流れる電流の電流経路が切り替えられる。この場合に、電流が変化する経路である転流経路のインダクタンスにより電圧が誘導され、サージ電圧が発生し得る。この点に鑑みて、例えば、転流経路の経路長が短くなるようにスイッチを配置し、サージ電圧の低減を図る技術がある(特許文献1参照)。
【先行技術文献】
【特許文献】
【0004】
特開2023-24081号公報
【発明の概要】
【発明が解決しようとする課題】
【0005】
マルチレベルインバータにおいて、スイッチング制御の実施に伴い発生するサージ電圧を低減することには、未だ改善の余地がある。
【0006】
本開示の目的は、スイッチング制御の実施に伴い発生するサージ電圧を低減することができるマルチレベルインバータを提供することである。
【課題を解決するための手段】
【0007】
本開示は、
直列接続された複数のコンデンサ部と、
前記各コンデンサ部の直列接続体から出力可能な複数の電圧のうちいずれかの電圧を選択して出力すべく制御される複数のスイッチ部と、
複数の前記電圧のうち中間レベルの電圧が選択された場合に前記スイッチ部に流れる電流を整流する複数の整流部と、
を備えるマルチレベルインバータにおいて、
前記各コンデンサ部、前記各スイッチ部及び前記各整流部が実装された基板を備え、
前記基板は、板面として、
前記各コンデンサ部、前記各スイッチ部及び前記各整流部が配置された配置面と、
前記配置面とは異なる板面であり、前記各コンデンサ部及び前記各整流部を電気的に接続する接続配線が形成された接続面と、
を有する。
【0008】
マルチレベルインバータでは、スイッチ部のスイッチング制御が実施されることに伴い、電流が変化する転流経路が生じる。ここで、転流経路のループ面積が大きいことに起因して、転流経路のインダクタンスが大きくなることが懸念される。この場合に、転流経路のインダクタンスにより誘導される電圧が高くなり、サージ電圧が高くなることが懸念される。
【0009】
ところで、マルチレベルインバータでは、各コンデンサ部の直列接続体から出力可能な複数の電圧のうち、中間レベルの電圧を選択して出力することが可能である。中間レベルの電圧を出力するようにスイッチング制御が実施された場合では、整流部及び接続配線を介して、スイッチ部とコンデンサ部との間に電流が流れる。このため、複数の電圧のうち、中間レベルの電圧が選択された状態と、中間レベル以外の電圧が選択された状態との間を切り替えるようにスイッチング制御が実施されると、接続配線に流れる電流が変化し得る。この場合に、接続配線を含む経路が転流経路となる。
【0010】
そこで、本開示では、接続配線が形成された接続面が、各コンデンサ部、各スイッチ部及び各整流部の配置面とは異なる板面とされている。この場合、接続経路の配置の自由度が高められる。これにより、接続配線を含む転流経路のループ面積が小さくなるように、接続経路を配置することが可能となる。そのため、転流経路のインダクタンスを低減でき、スイッチング制御の実施に伴い発生するサージ電圧を低減することができる。
【図面の簡単な説明】
(【0011】以降は省略されています)
この特許をJ-PlatPat(特許庁公式サイト)で参照する
関連特許
株式会社デンソー
携帯機
1か月前
株式会社デンソー
接合体
15日前
株式会社デンソー
車載器
1日前
株式会社デンソー
電子装置
5日前
株式会社デンソー
ステータ
1か月前
株式会社デンソー
駆動装置
1か月前
株式会社デンソー
太陽電池
17日前
株式会社デンソー
平滑回路
25日前
株式会社デンソー
測距装置
1か月前
株式会社デンソー
ステータ
1日前
株式会社デンソー
通信装置
1か月前
株式会社デンソー
電子装置
1か月前
株式会社デンソー
ステータ
1か月前
株式会社デンソー
送電装置
1か月前
株式会社デンソー
書込装置
1か月前
株式会社デンソー
電子装置
1か月前
株式会社デンソーエレクトロニクス
発音装置
23日前
株式会社デンソー
ねじ部材
1日前
株式会社デンソー
光学部材
26日前
株式会社デンソー
ステータ
16日前
株式会社デンソーウェーブ
携帯端末
1か月前
株式会社デンソー
電子装置
1か月前
株式会社デンソー
電子機器
1か月前
株式会社デンソー
ステータ
1日前
株式会社デンソー
ステータ
16日前
株式会社デンソーエレクトロニクス
発音装置
5日前
株式会社デンソー
電子装置
1か月前
株式会社デンソー
熱音響装置
1か月前
株式会社デンソー
センサ素子
1か月前
株式会社デンソー
点火プラグ
1か月前
株式会社デンソー
レーダ装置
1か月前
株式会社デンソー
半導体装置
1か月前
株式会社デンソー
ガスセンサ
1か月前
株式会社デンソー
半導体装置
1か月前
株式会社デンソー
回転体装置
29日前
株式会社デンソー
半導体装置
1日前
続きを見る
他の特許を見る