TOP
|
特許
|
意匠
|
商標
特許ウォッチ
Twitter
他の特許を見る
10個以上の画像は省略されています。
公開番号
2025142229
公報種別
公開特許公報(A)
公開日
2025-09-30
出願番号
2025121955,2021076752
出願日
2025-07-22,2021-04-28
発明の名称
撮像装置およびその制御方法
出願人
キヤノン株式会社
代理人
個人
,
個人
,
個人
,
個人
,
個人
主分類
G02B
7/28 20210101AFI20250919BHJP(光学)
要約
【課題】 任意選択AFで正確に被写体へフレーミングしなくても正確に被写体にピントを合わせることができる撮像装置を提供すること。
【解決手段】 画像信号に基づいて焦点検出結果を出力する焦点検出工程と、ユーザの指定したAF枠の領域を前記画像信号内に設定する設定工程と、被写体の領域を取得する取得工程と、前記焦点検出結果に基づいて前記フォーカスレンズの移動を制御する制御工程と、を有し、前記制御工程では、前記AF枠の領域内に前記被写体の領域がある状態から、前記AF枠の領域内に前記被写体の領域がない状態となった場合、前記AF枠に対応する焦点検出結果に基づく前記フォーカスレンズの駆動を行わないことを特徴とする。
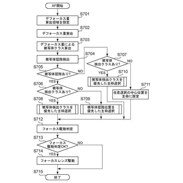
【選択図】 図7
特許請求の範囲
【請求項1】
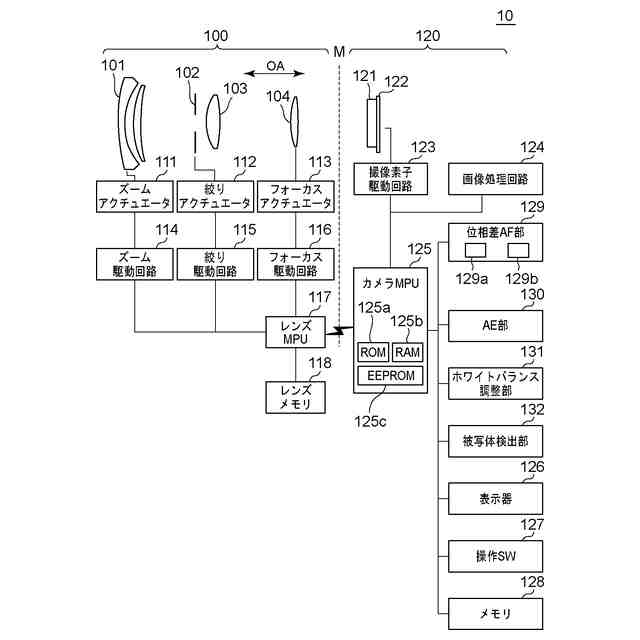
フォーカスレンズを含む撮像光学系を介して撮像する撮像素子から出力された画像信号を得る信号取得手段と、
前記画像信号に基づいて焦点検出結果を出力する焦点検出手段と、
ユーザの指定したAF枠の領域を前記画像信号内に設定する設定手段と、
被写体の領域を取得する取得手段と、
前記焦点検出結果に基づいて前記フォーカスレンズの移動を制御する制御手段と、を有し、
前記制御手段は、前記AF枠の領域内に前記被写体の領域がある状態から、前記AF枠の領域内に前記被写体の領域がない状態となった場合、前記AF枠に対応する焦点検出結果に基づく前記フォーカスレンズの駆動を行わないことを特徴とする撮像装置。
続きを表示(約 1,400 文字)
【請求項2】
前記被写体の領域は、前記AF枠の領域と前記AF枠の領域以外の領域とを含めた検出領域から取得された焦点検出結果が所定範囲内である領域であることを特徴とする請求項1に記載の撮像装置。
【請求項3】
前記焦点検出手段により検出された焦点検出結果の履歴に基づいて、今回の焦点検出結果算出のタイミングにおける焦点検出結果を予測する予測手段をさらに有し、
前記制御手段は、前記予測手段により予測された焦点検出結果と前記AF枠の領域内の検出領域における焦点検出結果との差が、第1の閾値以上である検出領域が第2の閾値以上ある場合に、前記AF枠の領域内に前記被写体の領域がない状態となった場合、前記AF枠に対応する焦点検出結果に基づく前記フォーカスレンズの駆動を行わないことを特徴とする請求項2に記載の撮像装置。
【請求項4】
前記焦点検出手段により検出された焦点検出結果の履歴に基づいて、今回の焦点検出結果算出のタイミングにおける焦点検出結果を予測する予測手段をさらに有し、
前記制御手段は、前記予測手段により予測された焦点検出結果と前記AF枠の領域内の検出領域における焦点検出結果との差が、第1の閾値以上である検出領域が第2の閾値未満である場合に、前記AF枠に対応する焦点検出結果に基づく前記フォーカスレンズの駆動を行うことを特徴とする請求項2に記載の撮像装置。
【請求項5】
前記焦点検出手段により検出された焦点検出結果の履歴に基づいて、今回の焦点検出結果算出のタイミングにおける焦点検出結果を予測する予測手段をさらに有し、
前記制御手段は、最も予測された焦点検出結果に近い焦点検出結果が得られた領域を主被写体領域に設定することを特徴とする請求項1または2に記載の撮像装置。
【請求項6】
特定の被写体を認識する被写体認識手段をさらに有し、
前記制御手段は、前記被写体認識手段による被写体認識領域が前記AF枠の領域内の場合は、前記検出領域の焦点検出結果に基づいて被写体領域が取得されない場合は前記被写体認識手段により認識された被写体に対してフォーカス制御を行い、前記被写体領域が取得された場合は当該被写体領域の被写体に対してフォーカス制御を行うことを特徴とする請求項2乃至4のいずれか1項に記載の撮像装置。
【請求項7】
フォーカスレンズを含む撮像光学系を介して撮像する撮像素子から出力された画像信号を得る信号取得手段を有する撮像装置の制御方法であって、
前記画像信号に基づいて焦点検出結果を出力する焦点検出工程と、
ユーザの指定したAF枠の領域を前記画像信号内に設定する設定工程と、
被写体の領域を取得する取得工程と、
前記焦点検出結果に基づいて前記フォーカスレンズの移動を制御する制御工程と、を有し、
前記制御工程では、前記AF枠の領域内に前記被写体の領域がある状態から、前記AF枠の領域内に前記被写体の領域がない状態となった場合、前記AF枠に対応する焦点検出結果に基づく前記フォーカスレンズの駆動を行わないことを特徴とする撮像装置の制御方法。
【請求項8】
請求項1乃至請求項6のうち何れか1項に記載の撮像装置の各手段をコンピュータに実行させるためのプログラム。
発明の詳細な説明
【技術分野】
【0001】
本発明は、焦点調節機能を備えた撮像装置に関するものである。
続きを表示(約 1,600 文字)
【背景技術】
【0002】
従来、合焦させる領域を選択する手段として、矩形などで表された撮影画面内の任意の領域(AF枠)に合焦させる任意選択AFがある。
【0003】
任意選択AFでは、撮影画面内に人物などの被写体が複数あっても、ユーザが合焦させたい被写体がAF枠に含まれるようにAF枠の位置やサイズを設定する、あるいは予め設定したAF枠に被写体が含まれるように撮像装置自体を動かすといった操作をすることで、ユーザが合焦させたい任意の被写体へ合焦させることができる。
【0004】
しかし、素早く動く被写体を撮影する場合、ユーザが撮影したい被写体に対し任意に設定したAF枠の位置を正しく捉え続けることが難しくピントを外してしまうことがある。また反対にAF枠内に障害物が入り込んでしまった場合、その障害物にAFを合わせてしまい意図した位置にピントが合っていないという現象が発生してしまう。
【0005】
特許文献1では、所定の領域よりも広い範囲をデフォーカス検出する機能を備え、そのデフォーカスの値をもとにクラスタリングを行い、所定領域の外側近辺に障害物被写体がいるかどうかを判定し、障害物にはフォーカスを合わせないようにレンズ制御を行う。
【0006】
また、特許文献2では、被写体認識機能を備え、被写体認識領域から得たデフォーカス量が所定以下だった場合、そのデフォーカス量を用いてフォーカスレンズを制御して被写体に合焦させ、被写体認識領域から得たデフォーカス量が所定以上だった場合、AF枠といった被写体認識領域以外の領域から得られるデフォーカス量を用いてフォーカスレンズ制御を行う。撮影画面の表示に関するものとして、特許文献3では、特許文献2と同様に被写体認識領域から得たデフォーカス量が所定以下だった場合、AF枠を非表示にして被写体認識領域を示す枠を表示させ、被写体認識領域から得たデフォーカス量が所定以上だった場合、AF枠を表示させて被写体認識領域を示す枠を非表示にする。
【先行技術文献】
【特許文献】
【0007】
特開2002-207156号公報
特許第5447549号
特開2021-21857号公報
【発明の概要】
【発明が解決しようとする課題】
【0008】
しかしながら、特許文献1に開示された従来技術では、フレーミングを外して正解の被写体が所定領域の外側付近に存在する場合、その位置をAFする位置として選択することができず、異なる位置にピントを合わせてしまう問題が生じてしまう。
【0009】
また、特許文献2,3に開示された従来技術では、AF枠を用いて任意の被写体に合焦させたいときでも、ユーザの意図しない被写体を認識してしまい、その被写体認識領域から得たデフォーカス量が小さかった場合は、その被写体認識領域を示す枠を表示、AF枠を非表示にして、被写体認識領域から得たデフォーカス量を用いてフォーカスレンズを制御してしまうため、ユーザが意図した被写体に合焦させることができない。また、これを回避するために従来技術を用いずに任意選択AFを行った場合、AF枠に合焦させたい被写体を正確に合わせ続ける必要がある。しかしながら、被写体のサイズが小さい、移動速度が速いなどの理由によって、AF枠から被写体を外してしまった場合は、被写体に合焦させることができない。
【0010】
以上から、本発明の目的は、ユーザ設定しているAF枠にユーザが正しく被写体を捉えられなくても、ユーザが合焦させたい被写体に合焦させる方法を提供することである。
【課題を解決するための手段】
(【0011】以降は省略されています)
この特許をJ-PlatPat(特許庁公式サイト)で参照する
関連特許
キヤノン株式会社
現像容器
1日前
キヤノン株式会社
記録装置
1日前
キヤノン株式会社
現像装置
1日前
キヤノン株式会社
現像容器
1日前
キヤノン株式会社
撮影装置
1日前
キヤノン株式会社
現像装置
1日前
キヤノン株式会社
カートリッジ
1日前
キヤノン株式会社
画像処理装置
1日前
キヤノン株式会社
画像形成装置
1日前
キヤノン株式会社
画像形成装置
1日前
キヤノン株式会社
カートリッジ
1日前
キヤノン株式会社
画像形成装置
1日前
キヤノン株式会社
画像形成装置
1日前
キヤノン株式会社
情報処理装置
1日前
キヤノン株式会社
振動型駆動装置
1日前
キヤノン株式会社
振動型駆動装置
1日前
キヤノン株式会社
インクジェット記録装置
1日前
キヤノン株式会社
インクジェット記録装置
1日前
キヤノン株式会社
レンズ装置および撮像装置
2日前
キヤノン株式会社
露光ヘッド及び画像形成装置
1日前
キヤノン株式会社
現像装置、及びカートリッジ
1日前
キヤノン株式会社
読取装置及び情報提供システム
1日前
キヤノン株式会社
カートリッジ及び画像形成装置
1日前
キヤノン株式会社
液体吐出ヘッド及び液体吐出装置
1日前
キヤノン株式会社
カートリッジ、及び画像形成装置
1日前
キヤノン株式会社
カートリッジ、及び画像形成装置
1日前
キヤノン株式会社
液体吐出ヘッド及び液体吐出装置
1日前
キヤノン株式会社
液体吐出ヘッド及び液体吐出装置
1日前
キヤノン株式会社
液体吐出ヘッド及び液体吐出装置
1日前
キヤノン株式会社
液体吐出ヘッド及び液体吐出装置
1日前
キヤノン株式会社
液体吐出ヘッド及び液体吐出装置
1日前
キヤノン株式会社
液体吐出ヘッドおよび液体吐出装置
1日前
キヤノン株式会社
電子機器及びそれを有するシステム
1日前
キヤノン株式会社
現像装置、及び現像剤容器の製造方法
1日前
キヤノン株式会社
画像管理装置、制御方法及びプログラム
1日前
キヤノン株式会社
通信装置、制御方法、及び、プログラム
1日前
続きを見る
他の特許を見る