TOP
|
特許
|
意匠
|
商標
特許ウォッチ
Twitter
他の特許を見る
公開番号
2025141935
公報種別
公開特許公報(A)
公開日
2025-09-29
出願番号
2025040505
出願日
2025-03-13
発明の名称
情報処理システム、情報処理方法、及びプログラム
出願人
エーアイ パイオニアーズ リミテッド
,
AI Pioneers Limited
代理人
個人
,
個人
主分類
G06T
5/77 20240101AFI20250919BHJP(計算;計数)
要約
【課題】ユーザがプライベートで楽しむことができる置換動画像を、そのユーザがより簡易な操作で制作できるようにする。
【解決手段】情報処理システムSを構成する管理サーバ1のCPU11では、抽出部32が、基動画像から1又は複数のシーンの動画像を抽出し、対応付け部34が、抽出されたシーンの動画像ごとにシーンの種類を対応付けて、置換内容指定受付部54が、置換処理の内容の指定を受け付けて、処理対象指定受付部55が、抽出されたシーンの動画像のうち置換処理の対象の指定を受け付けて、置換部35が、指定されたシーンの動画像に対し、指定された置換処理を行い、出力制御部36が、置換処理がなされたシーンの動画像を置換動画像として出力させる。
【選択図】図3
特許請求の範囲
【請求項1】
動画像のうち、置換処理の対象となる対象オブジェクトの指定を受け付ける置換対象オブジェクト指定受付手段と、
前記対象オブジェクトから前記置換処理により置換する置換後オブジェクトの指定を受け付ける置換内容指定受付手段と、
指定された動画像に対し、指定された前記対象オブジェクトと前記置換後オブジェクトとの置換処理を行う置換手段と、
前記置換処理がなされた動画像を置換動画像として出力させる出力制御手段と、
を有する情報処理システム。
続きを表示(約 1,300 文字)
【請求項2】
基動画像から1又は複数のシーンの動画像を抽出する抽出手段、
をさらに備え、
前記置換対象オブジェクト指定受付手段は、
抽出された前記シーンの動画像を対象として、置換処理の対象となる対象オブジェクトの指定を受け付け、
前記置換手段は、
指定された前記シーンの動画像を対象として、指定された前記対象オブジェクトと前記置換後オブジェクトとの置換処理を行い、
前記出力制御手段は、
前記置換処理がなされた複数の前記シーンからなる動画像を、置換動画像として出力させる、
請求項1に記載の情報処理システム。
【請求項3】
前記置換手段は、指定された複数の前記シーンの動画像の各々に対する前記置換処理を同時並行で行う、
請求項2に記載の情報処理システム。
【請求項4】
抽出された前記シーンの動画像のそれぞれは、シーンの種類を対応付けて管理する対応付け手段、
を更に備え、
前記対応付け手段は、予め定められた複数の前記シーンの種類の組み合わせの中から、1の当該シーンの種類を選択して前記シーンの動画像に対応付ける、
請求項2に記載の情報処理システム。
【請求項5】
前記置換手段は、連続的に出力される複数種類の前記シーンの動画像のうち、後に出力されるものに対する前記置換処理の精度よりも、先に出力されるものに対する当該置換処理の精度を高くする、
請求項4に記載の情報処理システム。
【請求項6】
前記抽出手段は、前記基動画像に含まれる、前記置換処理の対象になり得る部分の態様に基づいて、前記シーンの動画像を抽出する、
請求項2に記載の情報処理システム。
【請求項7】
前記出力制御手段は、前記置換動画像を出力させる端末において当該置換動画像を保存できない態様で出力させる、
請求項2に記載の情報処理システム。
【請求項8】
前記置換動画像が出力されている途中で所定の操作が行われると、当該操作が行われたときに出力されている当該置換動画像を特定して管理する管理手段をさらに有する、
請求項2に記載の情報処理システム。
【請求項9】
前記管理手段は、前記操作が行われたときに出力されている前記置換動画像を構成する1又は複数のフレームをさらに特定して管理する、
請求項8に記載の情報処理システム。
【請求項10】
動画像のうち、置換処理の対象となる対象オブジェクトの指定を受け付けるステップと、
前記対象オブジェクトから前記置換処理により置換する置換後オブジェクトの指定を受け付けるステップと、
指定された動画像に対し、指定された前記対象オブジェクトと前記置換後オブジェクトとの前記置換処理を行うステップと、
前記置換処理がなされた動画像を置換動画像として出力させるステップと、
を含む情報処理方法。
(【請求項11】以降は省略されています)
発明の詳細な説明
【技術分野】
【0001】
本発明は、情報処理システム、情報処理方法、及びプログラムに関する。
続きを表示(約 1,600 文字)
【背景技術】
【0002】
画像データの一部を他の画像に置換する技術が知られている(例えば、特許文献1参照)。
【先行技術文献】
【特許文献】
【0003】
特開2009-217232号公報
【発明の概要】
【発明が解決しようとする課題】
【0004】
従来技術を用いることで、基となる動画像の一部を他の動画像に置換してユーザが好む置換動画像を制作することができる。しかしながら、ユーザがプライベートで楽しむことができる置換動画像を、そのユーザがより簡易な操作で制作できるようにする仕組みが求められている。
【0005】
本発明は、このような状況に鑑みてなされたものであり、ユーザがプライベートで楽しむことができる置換動画像を、そのユーザがより簡易な操作で制作できるようにすることを目的とする。
【課題を解決するための手段】
【0006】
上記目的を達成するため、本発明の一態様は、
基動画像から1又は複数のシーンの動画像を抽出する抽出手段と、
抽出された前記シーンの動画像のうち、置換処理の対象となる対象オブジェクトの指定を受け付ける置換対象オブジェクト指定受付手段と、
前記置換処理により前記対象オブジェクトから置換する、置換後オブジェクトの指定を受け付ける置換後オブジェクト指定受付手段と、
前記シーンの動画像に対し、指定された前記置換処理を行う置換手段と、
前記置換処理がなされた前記シーンの動画像を置換動画像として出力させる出力制御手段と、
を有する情報処理システムである。
【0007】
本発明の一態様の上記情報処理システムに対応する情報処理方法、及びプログラムも、本発明の一態様の情報処理システムに対応する情報処理方法、及びプログラムとして提供される。
【発明の効果】
【0008】
本発明によれば、ユーザがプライベートで楽しむことができる置換動画像を、そのユーザがより簡易な操作で制作できるようにする仕組みを提供できる。
【図面の簡単な説明】
【0009】
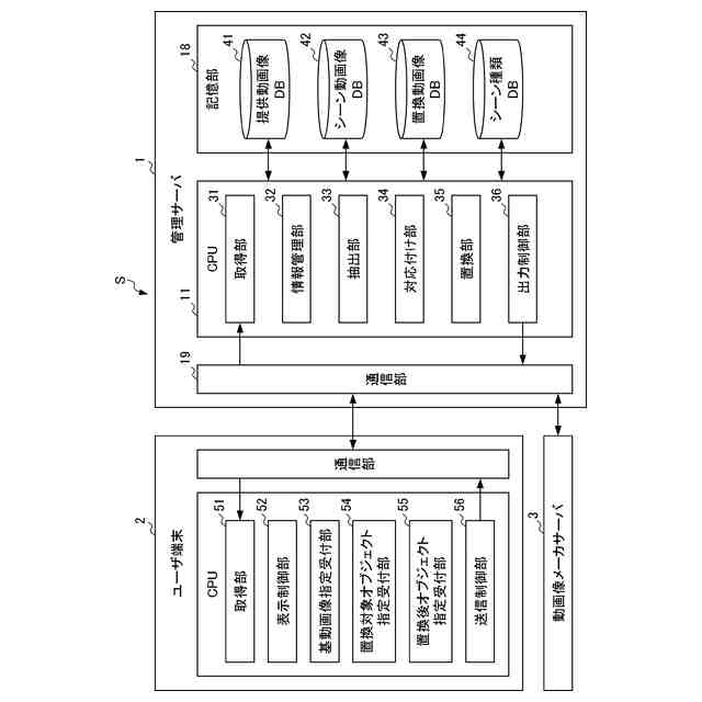
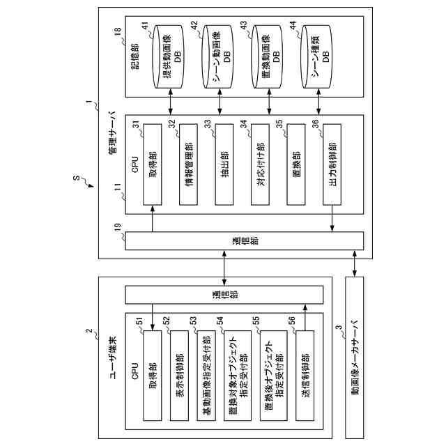
本発明の一実施形態にかかる情報処理システムの全体構成の一例を示す図である。
図1の情報処理システムを構成する管理サーバのハードウェア構成の一例を示すブロック図である。
管理サーバ及びユーザ端末の機能的構成の一例を示す機能ブロック図である。
(A)は、管理サーバの処理のうち、ユーザ端末に置換後動画像を出力させるまでの処理の流れの一例を示すフローチャートである。(B)は、管理サーバの処理のうち、ユーザ端末で置換後動画像が出力(再生)されている途中で行われる処理の流れの一例を示すフローチャートである。
本サービスの具体例を示す図である。
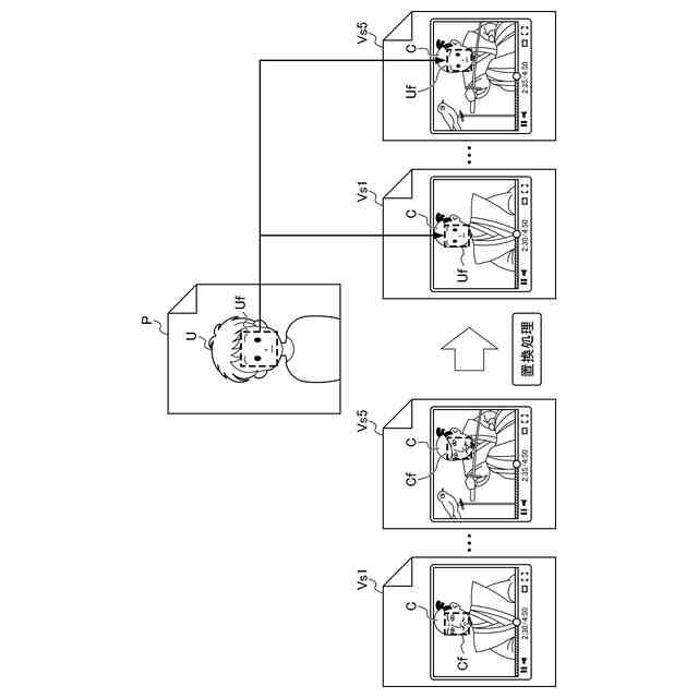
置換処理の具体例を示す図である。
【発明を実施するための形態】
【0010】
以下、本実施形態について、図面を用いて説明する。
<情報処理システムS>
図1は、本発明の一実施形態にかかる情報処理システムSの全体構成の一例を示す図である。
情報処理システムSは、管理サーバ1と、ユーザ端末2-1乃至2-n(nは1以上の整数値)と、動画像メーカサーバ3とがネットワークNを介して接続されることを含むように構成された情報処理システムである。ネットワークNは、例えば、インターネット、LAN(Local Area Network)、VPN(Virtual Private Network)等である。以下、ユーザ端末2-1乃至2-nの各々を個別に説明する必要がない場合には、これらをまとめて「ユーザ端末2」と呼ぶ。
(【0011】以降は省略されています)
この特許をJ-PlatPat(特許庁公式サイト)で参照する
関連特許
個人
裁判のAI化
2か月前
個人
工程設計支援装置
1か月前
個人
地球保全システム
2日前
個人
フラワーコートA
1か月前
個人
冷凍食品輸出支援構造
29日前
個人
為替ポイント伊達夢貯
29日前
個人
介護情報提供システム
2か月前
個人
携帯情報端末装置
1か月前
個人
表変換編集支援システム
22日前
個人
設計支援システム
2か月前
個人
設計支援システム
2か月前
個人
結婚相手紹介支援システム
1か月前
個人
知財出願支援AIシステム
29日前
個人
行動時間管理システム
24日前
個人
AIによる情報の売買の仲介
1か月前
個人
パスワード管理支援システム
22日前
株式会社カクシン
支援装置
2か月前
個人
AIキャラクター制御システム
22日前
日本精機株式会社
施工管理システム
1か月前
個人
アンケート支援システム
1か月前
個人
パスポートレス入出国システム
1か月前
株式会社アジラ
進入判定装置
1か月前
個人
食品レシピ生成システム
1日前
個人
海外支援型農作物活用システム
14日前
個人
システム及びプログラム
15日前
株式会社キーエンス
受発注システム
1日前
株式会社キーエンス
受発注システム
1日前
株式会社キーエンス
受発注システム
1日前
個人
社会還元・施設向け供給支援構造
22日前
サクサ株式会社
中継装置
2か月前
大同特殊鋼株式会社
疵判定方法
8日前
個人
ジェスチャーパッドのガイド部材
2か月前
大阪瓦斯株式会社
住宅設備機器
1か月前
個人
音声対話型帳票生成支援システム
22日前
個人
未来型家系図構築システム
14日前
個人
SaaS型勤務調整支援システム
22日前
続きを見る
他の特許を見る