TOP
|
特許
|
意匠
|
商標
特許ウォッチ
Twitter
他の特許を見る
公開番号
2025141927
公報種別
公開特許公報(A)
公開日
2025-09-29
出願番号
2025040152
出願日
2025-03-13
発明の名称
情報処理装置、情報処理方法及びプログラム
出願人
ALL DIFFERENT株式会社
代理人
個人
,
個人
主分類
G06Q
10/06 20230101AFI20250919BHJP(計算;計数)
要約
【課題】ユーザが自らに対して又は組織に対して認識している課題から、当該課題解決のためのレコメンドを出力することが可能な技術を提供する。
【解決手段】課題取得部51は、所定組織に属するユーザが自身に対して認識している課題と、当該ユーザが当該所定組織に対して認識している課題とのうちの少なくとも一方の課題を1以上取得する。解出力部52は、課題取得部51が取得した1以上の課題のうちの少なくとも一部に対して過去に実際に求められた解、及び、当該解に到達するために実際に行われた過去の活動のうち少なくとも一方に関する情報に基づいて、当該サーバ1が取得した1以上の課題に対する解を求め、求めた当該解又はそれに基づく情報を出力する。
【選択図】図3
特許請求の範囲
【請求項1】
所定組織に属するユーザが自身に対して認識している課題と、当該ユーザが当該所定組織に対して認識している課題とのうちの少なくとも一方の課題を1以上取得する課題取得手段と、
取得された1以上の前記課題のうちの少なくとも一部に対して過去に実際に求められた解、及び、当該解に到達するために実際に行われた過去の活動のうち少なくとも一方に関する情報に基づいて、取得された1以上の前記課題に対する解を求め、求めた当該解又はそれに基づく情報を出力する解出力手段と、
を備える情報処理装置。
続きを表示(約 1,100 文字)
【請求項2】
前記課題取得手段は、
予め用意された複数の課題候補の中から、前記ユーザにより選択された1以上の課題候補を、前記課題として取得する、
請求項1に記載の情報処理装置。
【請求項3】
前記課題取得手段は、
前記ユーザにより前記課題として入力された自由記述文章をテキストマイニングし、当該テキストマイニングの結果に基づいて、予め用意された前記複数の課題候補の中から類似するものを、前記課題として取得する、
請求項2に記載の情報処理装置。
【請求項4】
前記テキストマイニングの結果に基づいて、前記複数の課題候補として1以上の追加又は変更をする課題候補追加変更手段
をさらに備える請求項3に記載の情報処理装置。
【請求項5】
前記解出力手段は、前記解として前記ユーザ又は組織が行う1以上の活動を出力すると共に、前記解に基づく情報として、当該1以上の活動を行う際の支援となるものを出力する、
請求項1に記載の情報処理装置。
【請求項6】
前記課題取得手段は、
取得された1以上の前記課題に対して前記所定組織の属性情報又は前記ユーザの属性情報を紐づける、
請求項1に記載の情報処理装置。
【請求項7】
情報処理装置が実行する情報処理方法において、
所定組織に属するユーザが自身に対して認識している課題と、当該ユーザが当該所定組織に対して認識している課題とのうちの少なくとも一方の課題を1以上取得する課題取得ステップと、
取得された1以上の前記課題のうちの少なくとも一部に対して過去に実際に求められた解、及び、当該解に到達するために実際に行われた過去の活動のうち少なくとも一方に関する情報に基づいて、取得された1以上の前記課題に対する解を求め、求めた当該解又はそれに基づく情報を出力する解出力ステップと、
を含む情報処理方法。
【請求項8】
コンピュータに、
所定組織に属するユーザが自身に対して認識している課題と、当該ユーザが当該所定組織に対して認識している課題とのうちの少なくとも一方の課題を1以上取得する課題取得ステップと、
取得された1以上の前記課題のうちの少なくとも一部に対して過去に実際に求められた解、及び、当該解に到達するために実際に行われた過去の活動のうち少なくとも一方に関する情報に基づいて、取得された1以上の前記課題に対する解を求め、求めた当該解又はそれに基づく情報を出力する解出力ステップと、
を含む制御処理を実行させるプログラム。
発明の詳細な説明
【技術分野】
【0001】
本発明は、情報処理装置、情報処理方法及びプログラムに関する。
続きを表示(約 1,500 文字)
【背景技術】
【0002】
従来において、社員の技能(スキル)を診断し、その診断結果に基づいて、様々なアドバイスを行うサービスが存在している。このサービスに係る人材育成支援システムとしては、例えば下記特許文献1に開示されたものが知られている。
【先行技術文献】
【特許文献】
【0003】
特開2004-246507号公報
【発明の概要】
【発明が解決しようとする課題】
【0004】
上述の特許文献1に記載の技術を含む従来技術にあっては、単に人材教育の支援を図ることのみであった。
そのため、ユーザが自らに対して又は組織に対して認識している課題から、当該課題解決のためのレコメンドを出力するようなことはできていないという状況であった。
【0005】
本発明は、このような状況を鑑みてなされたものであり、ユーザが自らに対して又は組織に対して認識している課題から、当該課題解決のためのレコメンドを出力することが可能な技術の提供を目的とする。
【課題を解決するための手段】
【0006】
上記目的を達成するため、本発明の一態様の情報処理装置は、
所定組織に属するユーザが自身に対して認識している課題と、当該ユーザが当該所定組織に対して認識している課題とのうちの少なくとも一方の課題を1以上取得する課題取得手段と、
取得された1以上の前記課題のうちの少なくとも一部に対して過去に実際に求められた解、及び、当該解に到達するために実際に行われた過去の活動のうち少なくとも一方に関する情報に基づいて、取得された1以上の前記課題に対する解を求め、求めた当該解又はそれに基づく情報を出力する解出力手段と、
を備える。
なお、本発明の一態様の情報処理装置に対応する情報処理方法及びプログラムも、本発明の一態様の情報処理方法及びプログラムとして提供される。
【発明の効果】
【0007】
本発明によれば、ユーザが自らに対して又は組織に対して認識している課題から、当該課題解決のためのレコメンドを出力することができる。
【図面の簡単な説明】
【0008】
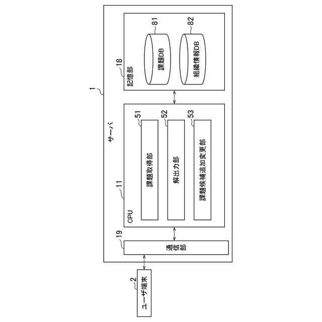
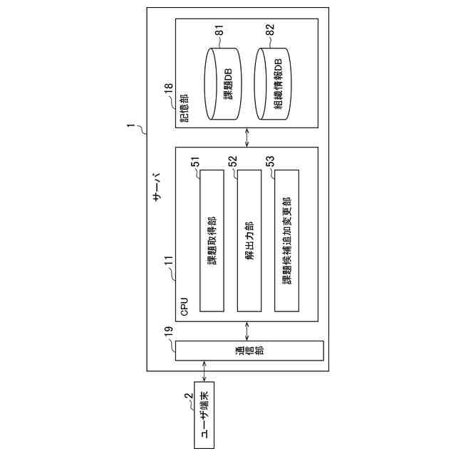
本発明の情報処理装置の一実施形態に係るサーバが適用される情報処理システムの構成の一例を示す図である。
図1の情報処理システムのうちサーバのハードウェア構成の一例を示すブロック図である。
図1の情報処理システムを構成する図2のサーバの機能的構成の一例を示す機能ブロック図である。
本発明の情報処理装置の一実施形態に係るサーバが適用される情報処理システムにより実現可能となる本サービスの概要を示す図である。
図4における課題の入力に関し、自由記述式とした場合のインプットからレコメンドまでの処理の一例を示す図である。
図4における課題の入力に関し、選択式とした場合の課題の選択の一例を示す図である。
図4の変形例を示す図である。
【発明を実施するための形態】
【0009】
以下、本発明の実施形態について、図面を用いて説明する。
【0010】
先ず図1を参照して、本発明の情報処理装置の一実施形態に係るサーバが適用される情報処理システムの構成の一例について説明する。
図1は、本発明の情報処理装置の一実施形態に係るサーバが適用される情報処理システムの構成の一例を示す図である。
(【0011】以降は省略されています)
この特許をJ-PlatPat(特許庁公式サイト)で参照する
関連特許
個人
地球保全システム
11日前
個人
フラワーコートA
2か月前
個人
QRコードの彩色
2日前
個人
工程設計支援装置
1か月前
個人
為替ポイント伊達夢貯
1か月前
個人
介護情報提供システム
2か月前
個人
冷凍食品輸出支援構造
1か月前
個人
携帯情報端末装置
1か月前
個人
残土処理システム
4日前
個人
設計支援システム
2か月前
個人
設計支援システム
2か月前
個人
表変換編集支援システム
1か月前
個人
結婚相手紹介支援システム
1か月前
個人
知財出願支援AIシステム
1か月前
個人
知的財産出願支援システム
5日前
個人
パスワード管理支援システム
1か月前
個人
AIによる情報の売買の仲介
1か月前
個人
行動時間管理システム
1か月前
株式会社キーエンス
受発注システム
10日前
株式会社キーエンス
受発注システム
10日前
株式会社キーエンス
受発注システム
10日前
株式会社アジラ
進入判定装置
1か月前
個人
AIキャラクター制御システム
1か月前
個人
アンケート支援システム
2か月前
個人
食品レシピ生成システム
10日前
個人
システム及びプログラム
24日前
日本精機株式会社
施工管理システム
1か月前
個人
パスポートレス入出国システム
1か月前
個人
海外支援型農作物活用システム
23日前
大阪瓦斯株式会社
住宅設備機器
1か月前
個人
冷凍加工連携型農場運用システム
1か月前
キヤノン株式会社
表示システム
10日前
個人
音声・通知・再配達UX制御構造
5日前
個人
社会還元・施設向け供給支援構造
1か月前
サクサ株式会社
中継装置
1か月前
大同特殊鋼株式会社
疵判定方法
17日前
続きを見る
他の特許を見る