TOP
|
特許
|
意匠
|
商標
特許ウォッチ
Twitter
他の特許を見る
10個以上の画像は省略されています。
公開番号
2025141782
公報種別
公開特許公報(A)
公開日
2025-09-29
出願番号
2024203370
出願日
2024-11-21
発明の名称
頭部装着型ディスプレイおよびシステム
出願人
キヤノンメディカルシステムズ株式会社
代理人
弁理士法人酒井国際特許事務所
主分類
G06F
3/01 20060101AFI20250919BHJP(計算;計数)
要約
【課題】ユーザの眼球の視線が変化しても当該ユーザの眼球内に投影される画像の位置を維持すること。
【解決手段】仮想現実、複合現実、または拡張現実システムに使用される頭部装着型ディスプレイは、画像を表示する表示装置と、ユーザの眼球の視線を判定するトラッキングシステムと、調整可能な光学装置を含み、前記画像を前記ユーザの眼球内に投影する光学システムと、前記ユーザの眼球の前記視線が変化したときに、前記ユーザの眼球内に投影される前記画像の位置が変化しないように、前記ユーザの眼球の前記視線に基づいて前記調整可能な光学装置を制御する処理回路と、を備える。
【選択図】図1
特許請求の範囲
【請求項1】
画像を表示する表示装置と、
ユーザの眼球の視線を判定するトラッキングシステムと、
調整可能な光学装置を含み、前記画像を前記ユーザの眼球内に投影する光学システムと、
前記ユーザの眼球の前記視線が変化したときに、前記ユーザの眼球内に投影される前記画像の位置が変化しないように、前記ユーザの眼球の前記視線に基づいて前記調整可能な光学装置を制御する処理回路と、
を備える、仮想現実、複合現実、または拡張現実システムに使用される頭部装着型ディスプレイ。
続きを表示(約 1,400 文字)
【請求項2】
前記表示装置は、前記画像の第1の領域が前記画像の第2の領域よりも高い解像度を有するように前記画像を表示し、
前記光学システムは、前記画像の前記第1の領域を前記ユーザの眼球の網膜の中央部上に投影し、
前記処理回路は、前記ユーザの眼球の前記視線が変化したときに、前記ユーザの眼球の網膜上に投影される前記画像の前記第1の領域の位置が変化しないように、前記ユーザの眼球の前記視線に基づいて前記調整可能な光学装置を制御する、
請求項1に記載の頭部装着型ディスプレイ。
【請求項3】
前記表示装置は、前記画像の前記第1の領域を表示する第1の領域と、前記画像の前記第2の領域を表示する第2の領域とを備え、前記表示装置の前記第1の領域は、前記表示装置の中央または中心窩の領域に対応し、前記表示装置の前記第2の領域は、前記表示装置の周辺領域に対応する、請求項2に記載の頭部装着型ディスプレイ。
【請求項4】
前記処理回路は、前記ユーザの眼球の前記視線に基づいて、前記表示装置上の前記ユーザの眼球の視線ロケーションを決定し、
前記頭部装着型ディスプレイは、前記決定した視線ロケーションに基づいて、前記表示装置上に表示される前記画像をレンダリングするレンダリング回路を備える、
請求項1に記載の頭部装着型ディスプレイ。
【請求項5】
前記トラッキングシステムは、
前記ユーザの眼球の一部を照射するエミッタと、
前記ユーザの前記眼球の前記一部の画像を撮像するセンサと、
前記ユーザの眼球の前記一部の前記画像を前記センサに向かわせるように配置された1つまたは複数の更なる光学装置と、
のうちの少なくとも1つを備える、請求項1に記載の頭部装着型ディスプレイ。
【請求項6】
前記調整可能な光学装置は、フローティングレンズまたは可動レンズを備え、
前記処理回路は、前記センサで撮像された前記ユーザの眼球の前記一部の前記画像の位置に基づいて、前記調整可能な光学装置に適用される移動量を決定する、
請求項5に記載の頭部装着型ディスプレイ。
【請求項7】
前記処理回路は、前記調整可能な光学装置に適用される移動量に基づいて、前記表示装置上の前記ユーザの眼球の視線ロケーションを決定する、
請求項6に記載の頭部装着型ディスプレイ。
【請求項8】
前記トラッキングシステムは、前記ユーザの眼球の焦点度を判定し、
前記処理回路は、前記判定した焦点度に基づいて、前記ユーザの眼球内に投影される前記画像の焦点を制御する、
請求項1に記載の頭部装着型ディスプレイ。
【請求項9】
前記トラッキングシステムは、前記ユーザの眼球ごとの視線を判定し、前記ユーザの第1の眼球の第1の視線を判定する第1の部分と、前記ユーザの第2の眼球の第2の視線を判定する第2の部分と、を備える、
請求項1に記載の頭部装着型ディスプレイ。
【請求項10】
前記表示装置は、
第1の画像を表示する第1の表示パネルおよび第2の画像を表示する第2の表示パネル、または、
前記画像を表示する単一の表示パネル、のいずれか一方を備える、
請求項1に記載の頭部装着型ディスプレイ。
(【請求項11】以降は省略されています)
発明の詳細な説明
【技術分野】
【0001】
本発明は、仮想現実、複合現実、または拡張現実システムに使用される頭部装着型ディスプレイに関する。本発明はまた、例えば、テレプレゼンスシステム、仮想現実システム、複合現実システム、および/または拡張現実システムなどのシステムに関する。
続きを表示(約 2,400 文字)
【背景技術】
【0002】
仮想現実ヘッドセットなどの頭部装着型ディスプレイは、医用撮像処理または他の医療応用を含む技術分野に適応可能である。頭部装着型ディスプレイは、表示装置と、当該表示装置上の画像をユーザの眼球の網膜上に投影する1つまたは複数の光学装置を含みうる。立体映像アプリケーションでは、ユーザの片眼ごとに提示される微妙に異なる画像をもつ2つの表示パネルを用いられることがある。
【0003】
しかし、前記表示装置の大きさおよび/または解像度は限られており、画像忠実性および/またはユーザ体験に影響を与えることがある。1つまたは複数の高解像度の表示装置を用いることが望ましいかもしれない。しかし、頭部装着型ディスプレイの計算能力および/または帯域幅は限られており、十分に高いフレームレートで高解像度の表示装置を更新するには不十分であるかもしれない。
【先行技術文献】
【特許文献】
【0004】
米国特許出願公開第2018136720号明細書
米国特許出願公開第2021173474号明細書
米国特許出願公開第2018081178号明細書
【発明の概要】
【発明が解決しようとする課題】
【0005】
本明細書及び図面に開示の実施形態が解決しようとする課題の一つは、ユーザの眼球の視線が変化しても当該ユーザの眼球内に投影される画像の位置を維持することである。ただし、本明細書及び図面に開示の実施形態により解決しようとする課題は上記課題に限られない。後述する実施形態に示す各構成による各効果に対応する課題を他の課題として位置づけることもできる。
【課題を解決するための手段】
【0006】
ある実施形態は、仮想現実、複合現実、または拡張現実システムに使用される頭部装着型ディスプレイを提供する。前記頭部装着型ディスプレイは、画像を表示する表示装置と、ユーザの眼球の視線を判定するトラッキングシステムと、調整可能な光学装置を含み、前記画像を前記ユーザの眼球内に投影する光学システムと、前記ユーザの眼球の前記視線が変化したときに、前記ユーザの眼球内に投影される前記画像の位置が変化しないように、前記ユーザの眼球の前記視線に基づいて前記調整可能な光学装置を制御する処理回路と、を備える。
【0007】
ある実施形態は、仮想現実、複合現実、または拡張現実システムに使用される頭部装着型ディスプレイを提供する。前記頭部装着型ディスプレイは、画像の第1の領域が前記画像の第2の領域よりも高い解像度を有するように前記画像を表示する表示装置と、ユーザの眼球の視線を判定するトラッキングシステムと、調整可能な光学装置を含み、前記画像の前記第1の領域を前記ユーザの眼球の網膜の中央部上に投影する光学システムと、前記ユーザの眼球の前記視線が変化したときに、前記ユーザの眼球の網膜上に投影される前記画像の前記第1の領域の位置が変化しないように、前記ユーザの眼球の前記視線に基づいて前記調整可能な光学装置を制御する処理回路と、を備える。
【0008】
ある実施形態は、ここで説明される1つまたは複数の実施形態に従った頭部装着型ディスプレイと、前記頭部装着型ディスプレイに対して遠隔に位置する少なくとも1つのカメラと、前記視線に基づいて、前記少なくとも1つのカメラの位置および/または動きを制御する制御システムと、を備えるシステムを提供する。
【図面の簡単な説明】
【0009】
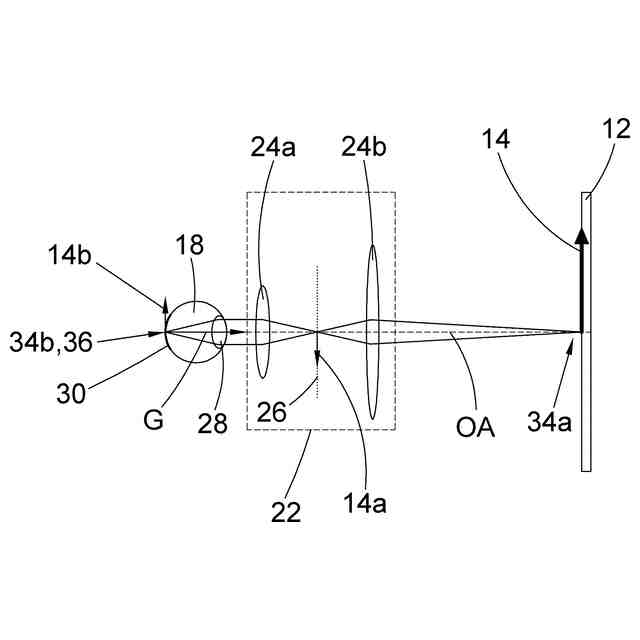
図1は、実施形態に従った頭部装着型ディスプレイの概略図である。
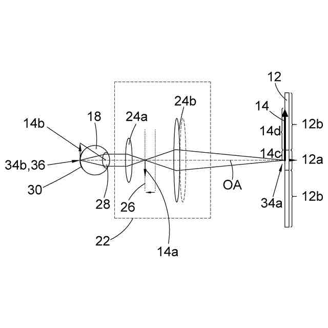
図2は、図1の頭部装着型ディスプレイの一部の概略図である。
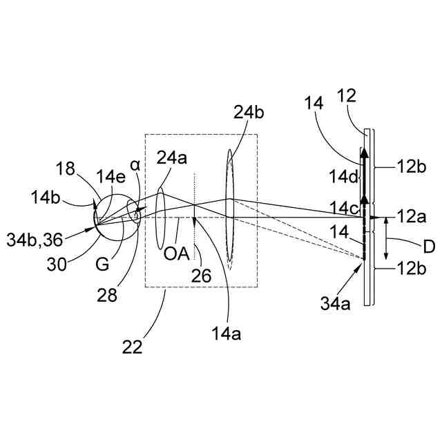
図3は、ユーザの眼球の異なる視線におけるトラッキングシステムを含む図2の頭部装着型ディスプレイの当該一部の概略図である。
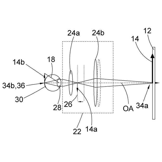
図4は、ユーザの眼球の異なる焦点における図2の頭部装着型ディスプレイの当該一部の概略図である。
図5は、別の実施形態に従った頭部装着型ディスプレイの一部の概略図である。
図6は、ユーザの眼球の異なる視線における図5の頭部装着型ディスプレイの当該一部の概略図である。
図7は、ユーザの眼球の異なる視線における図5の頭部装着型ディスプレイの当該一部の別の概略図である。
図8は、ユーザの眼球の異なる視線におけるトラッキングシステムを含む図5の頭部装着型ディスプレイの当該一部の別の概略図である。
図9は、ユーザの眼球の異なる焦点における図5の頭部装着型ディスプレイの当該一部の概略図である。
図10は、別の実施形態に従った頭部装着型ディスプレイの概略図である。
図11は、別の実施形態に従った頭部装着型ディスプレイの概略図である。
図12は、ユーザの第1および第2の眼球の両方が同一方向を見る例の概略図である。
図13は、ユーザの第1および第2の眼球が異なる方向を見る例の概略図である。
図14は、ユーザの頭部の例示的な動きの概略図である。
図15は、図10の頭部装着型ディスプレイを備えたシステムの概略図である。
【発明を実施するための形態】
【0010】
実施形態に従った頭部装着型ディスプレイ10が、図1に概略的に示される。本実施形態において、頭部装着型ディスプレイ10は表示装置12を備える。表示装置12はLCDディスプレイ、LEDディスプレイ、等を備えてよい。表示装置12は、画像14を表示する。本実施形態では、表示装置12は表示パネル13を備える。画像14は表示パネル13上に表示される。画像14は、2次元または3次元シーンの画像であってよい。
(【0011】以降は省略されています)
この特許をJ-PlatPat(特許庁公式サイト)で参照する
関連特許
個人
QRコードの彩色
1日前
個人
地球保全システム
10日前
個人
為替ポイント伊達夢貯
1か月前
個人
冷凍食品輸出支援構造
1か月前
個人
残土処理システム
3日前
個人
表変換編集支援システム
1か月前
個人
知的財産出願支援システム
4日前
個人
知財出願支援AIシステム
1か月前
個人
パスワード管理支援システム
1か月前
個人
AIによる情報の売買の仲介
1か月前
個人
行動時間管理システム
1か月前
個人
海外支援型農作物活用システム
22日前
個人
AIキャラクター制御システム
1か月前
株式会社キーエンス
受発注システム
9日前
株式会社キーエンス
受発注システム
9日前
個人
システム及びプログラム
23日前
株式会社キーエンス
受発注システム
9日前
個人
食品レシピ生成システム
9日前
日本精機株式会社
施工管理システム
1か月前
個人
音声・通知・再配達UX制御構造
4日前
個人
人格進化型対話応答制御システム
1か月前
個人
冷凍加工連携型農場運用システム
1か月前
キヤノン株式会社
表示システム
9日前
個人
音声対話型帳票生成支援システム
1か月前
個人
帳票自動生成型SaaSシステム
4日前
大同特殊鋼株式会社
疵判定方法
16日前
個人
SaaS型勤務調整支援システム
1か月前
個人
社会還元・施設向け供給支援構造
1か月前
個人
未来型家系図構築システム
22日前
サクサ株式会社
中継装置
1か月前
株式会社竹中工務店
管理システム
22日前
フリー株式会社
情報処理システム
16日前
株式会社キーエンス
製品受発注システム
9日前
個人
マーケティング活動支援装置
8日前
大同特殊鋼株式会社
棒材計数方法
2日前
中部電力株式会社
学習装置
22日前
続きを見る
他の特許を見る