TOP
|
特許
|
意匠
|
商標
特許ウォッチ
Twitter
他の特許を見る
10個以上の画像は省略されています。
公開番号
2025141764
公報種別
公開特許公報(A)
公開日
2025-09-29
出願番号
2024157078
出願日
2024-09-11
発明の名称
評価支援システム、評価支援方法、およびプログラム
出願人
パナソニックオートモーティブシステムズ株式会社
代理人
個人
,
個人
,
個人
主分類
G06F
21/57 20130101AFI20250919BHJP(計算;計数)
要約
【課題】評価対象機器の評価を効果的に支援することができ評価支援システムを提供する。
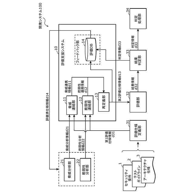
【解決手段】評価支援システム10は、評価対象機器40に対する1以上の評価仕様を示す第1評価仕様情報d31に、評価対象機器40における情報セキュリティの脅威に対する分析結果を示す脅威分析情報d21の少なくとも一部を連結する第1連携処理を行う脅威連結部11と、第1評価仕様情報d31に、評価対象機器40における情報セキュリティの脆弱性に対する分析結果を示す脆弱性分析情報d22の少なくとも一部を連結する第2連携処理を行う脆弱性連結部12と、第1連携処理および第2連携処理に基づいて、第1評価仕様情報d31に示されている1以上の評価仕様を再定義することによって、第2評価仕様情報d13を生成して出力する再定義部13と、を備える。
【選択図】図1
特許請求の範囲
【請求項1】
評価対象機器の評価を支援する評価支援システムであって、
前記評価対象機器に対する1以上の評価仕様を示す第1評価仕様情報に、前記評価対象機器における情報セキュリティの脅威に対する分析結果を示す脅威分析情報の少なくとも一部を連結する第1連携処理を行う脅威連結部と、
前記第1評価仕様情報に、前記評価対象機器における情報セキュリティの脆弱性に対する分析結果を示す脆弱性分析情報の少なくとも一部を連結する第2連携処理を行う脆弱性連結部と、
前記第1連携処理および前記第2連携処理に基づいて、前記第1評価仕様情報に示されている1以上の評価仕様を再定義することによって、第2評価仕様情報を生成して出力する再定義部と、を備える、
評価支援システム。
続きを表示(約 2,100 文字)
【請求項2】
前記第1評価仕様情報は、評価項目ごとに、当該評価項目に対応する評価仕様を示し、
前記脅威連結部は、
前記第1評価仕様情報の前記評価項目ごとに、前記脅威分析情報に含まれている、当該評価項目に対応する分析結果として前記脅威への対策を示す情報が、当該評価項目の前記評価仕様に関連付けられるように、前記情報を前記第1評価仕様情報に連結することによって、前記第1連携処理を行う、
請求項1に記載の評価支援システム。
【請求項3】
前記第1評価仕様情報は、評価項目ごとに、当該評価項目に対応する評価仕様を示し、
前記脆弱性連結部は、
前記第1評価仕様情報の前記評価項目ごとに、前記脆弱性分析情報に含まれている、当該評価項目に対応する分析結果である前記脆弱性の識別情報が、当該評価項目の前記評価仕様に関連付けられるように、前記識別情報を前記第1評価仕様情報に連結することによって、前記第2連携処理を行う、
請求項1に記載の評価支援システム。
【請求項4】
前記再定義部は、
前記第1評価仕様情報に示されていない評価仕様である不足評価仕様に対応する前記脆弱性の識別情報が、前記脆弱性分析情報に存在する場合には、
前記不足評価仕様と、前記不足評価仕様に対応する前記脆弱性の識別情報とを、前記第1連携処理および前記第2連携処理が行われた後の前記第1評価仕様情報に追加することによって、前記第1評価仕様情報に示されている1以上の評価仕様を再定義する、
請求項3に記載の評価支援システム。
【請求項5】
前記評価支援システムは、さらに、
前記第2評価仕様情報にしたがった評価によって得られる前記評価対象機器の評価結果が示されている前記第2評価仕様情報を、脅威分析部および脆弱性分析部に評価済仕様情報としてフィードバックするフィードバック部を備え、
前記脅威分析部は、前記評価対象機器に対する脅威分析を行うことによって前記脅威分析情報を生成し、
前記脆弱性分析部は、前記評価対象機器に対する脆弱性分析を行うことによって前記脆弱性分析情報を生成する、
請求項1に記載の評価支援システム。
【請求項6】
評価対象機器の評価を支援する評価支援システムであって、
前記評価対象機器に対する1以上の評価仕様を示す第1評価仕様情報に、前記評価対象機器における情報セキュリティの脅威に対する分析結果を示す脅威分析情報の少なくとも一部を連結する第1連携処理を行う脅威連結部と、
前記第1連携処理に基づいて、前記第1評価仕様情報に示されている1以上の評価仕様を再定義することによって、第2評価仕様情報を生成して出力する再定義部と、を備える、
評価支援システム。
【請求項7】
前記第1評価仕様情報は、評価項目ごとに、当該評価項目に対応する評価仕様を示し、
前記脅威連結部は、
前記第1評価仕様情報の前記評価項目ごとに、前記脅威分析情報に含まれている、当該評価項目に対応する分析結果として前記脅威への対策を示す情報が、当該評価項目の前記評価仕様に関連付けられるように、前記情報を前記第1評価仕様情報に連結することによって、前記第1連携処理を行う、
請求項6に記載の評価支援システム。
【請求項8】
前記再定義部は、
前記第1評価仕様情報に示されていない評価仕様である不足評価仕様に対応する前記脅威への対策を示す情報が、前記脅威分析情報に存在する場合には、
前記不足評価仕様と、前記不足評価仕様に対応する前記脅威への対策を示す情報とを、前記第1連携処理が行われた後の前記第1評価仕様情報に追加することによって、前記第1評価仕様情報に示されている1以上の評価仕様を再定義する、
請求項6に記載の評価支援システム。
【請求項9】
前記評価支援システムは、さらに、
前記第2評価仕様情報にしたがった評価によって得られる前記評価対象機器の評価結果が示されている前記第2評価仕様情報を、脅威分析部に評価済仕様情報としてフィードバックするフィードバック部を備え、
前記脅威分析部は、前記評価対象機器に対する脅威分析を行うことによって前記脅威分析情報を生成する、
請求項6に記載の評価支援システム。
【請求項10】
評価対象機器の評価を支援する評価支援システムであって、
前記評価対象機器に対する1以上の評価仕様を示す第1評価仕様情報に、前記評価対象機器における情報セキュリティの脆弱性に対する分析結果を示す脆弱性分析情報の少なくとも一部を連結する第2連携処理を行う脆弱性連結部と、
前記第2連携処理に基づいて、前記第1評価仕様情報に示されている1以上の評価仕様を再定義することによって、第2評価仕様情報を生成して出力する再定義部と、を備える、
評価支援システム。
(【請求項11】以降は省略されています)
発明の詳細な説明
【技術分野】
【0001】
本開示は、評価対象機器の評価を支援する評価支援システムなどに関する。
続きを表示(約 1,800 文字)
【背景技術】
【0002】
例えば、特許文献1には、評価支援システムとしてリスク評価対策立案システムが開示されている。このリスク評価対策立案システムは、評価対象であるシステムに対する攻撃に関する対策を立案し、セキュリティテストを立案する。なお、セキュリティテストの立案は、評価仕様の定義とも言える。
【先行技術文献】
【特許文献】
【0003】
国際公開第2020/202934号
【発明の概要】
【発明が解決しようとする課題】
【0004】
しかしながら、上記特許文献1のリスク評価対策立案システムでは、評価対象機器の評価を効果的に支援することができないという課題がある。
【0005】
そこで、本開示は、評価対象機器の評価を効果的に支援することができる評価支援システムなどを提供する。
【課題を解決するための手段】
【0006】
本開示の一態様に係る評価支援システムは、評価対象機器の評価を支援する評価支援システムであって、前記評価対象機器に対する1以上の評価仕様を示す第1評価仕様情報に、前記評価対象機器における情報セキュリティの脅威に対する分析結果を示す脅威分析情報の少なくとも一部を連結する第1連携処理を行う脅威連結部と、前記第1評価仕様情報に、前記評価対象機器における情報セキュリティの脆弱性に対する分析結果を示す脆弱性分析情報の少なくとも一部を連結する第2連携処理を行う脆弱性連結部と、前記第1連携処理および前記第2連携処理に基づいて、前記第1評価仕様情報に示されている1以上の評価仕様を再定義することによって、第2評価仕様情報を生成して出力する再定義部と、を備える。
【0007】
なお、その包括的または具体的な態様は、装置、方法、集積回路、コンピュータプログラムまたはコンピュータ読み取り可能なCD-ROMなどの記録媒体で実現されてもよく、装置、方法、集積回路、コンピュータプログラム、および記録媒体の任意な組み合わせで実現されてもよい。また、記録媒体は、非一時的な記録媒体であってもよい。
【発明の効果】
【0008】
本開示の評価支援システムは、評価対象機器の評価を効果的に支援することができる。
【0009】
なお、本開示の一態様における更なる利点および効果は、明細書および図面から明らかにされる。かかる利点および/または効果は、実施の形態並びに明細書および図面に記載された構成によって提供されるが、必ずしも全ての構成が必要とはされない。
【図面の簡単な説明】
【0010】
図1は、実施の形態1における開発システムの構成の一例を示す図である。
図2は、実施の形態1における脅威分析部による脅威分析の一部を例示的に説明するための図である。
図3は、実施の形態1における脅威分析部によって生成されて出力される脅威分析情報の概略的な一例を示す図である。
図4は、実施の形態1における脆弱性分析部によって生成されて出力される脆弱性分析情報の概略的な一例を示す図である。
図5は、実施の形態1における評価仕様定義部によって生成されて出力される第1評価仕様情報の概略的な一例を示す図である。
図6は、実施の形態1における評価支援システムの処理動作を説明するための図である。
図7は、実施の形態1における評価済仕様情報の一例を示す図である。
図8は、実施の形態1における脅威分析情報の具体的な一例を示す図である。
図9は、実施の形態1における脆弱性分析情報の具体的な一例を示す図である。
図10は、実施の形態1における第2評価仕様情報の具体的な一例を示す図である。
図11は、実施の形態1における評価済仕様情報の一部の具体的な一例を示す図である。
図12は、実施の形態1における開発システムの処理動作の一例を示すシーケンス図である。
図13は、実施の形態1における評価支援システムの処理動作の一例を示すフローチャートである。
図14は、実施の形態2における開発システムの構成の一例を示す図である。
図15は、実施の形態3における開発システムの構成の一例を示す図である。
【発明を実施するための形態】
(【0011】以降は省略されています)
この特許をJ-PlatPat(特許庁公式サイト)で参照する
関連特許
個人
フラワーコートA
2か月前
個人
工程設計支援装置
1か月前
個人
地球保全システム
8日前
個人
為替ポイント伊達夢貯
1か月前
個人
介護情報提供システム
2か月前
個人
冷凍食品輸出支援構造
1か月前
個人
表変換編集支援システム
28日前
個人
残土処理システム
1日前
個人
携帯情報端末装置
1か月前
個人
知的財産出願支援システム
2日前
個人
結婚相手紹介支援システム
1か月前
個人
知財出願支援AIシステム
1か月前
個人
パスワード管理支援システム
28日前
個人
AIによる情報の売買の仲介
1か月前
個人
行動時間管理システム
1か月前
株式会社キーエンス
受発注システム
7日前
株式会社キーエンス
受発注システム
7日前
個人
アンケート支援システム
2か月前
個人
食品レシピ生成システム
7日前
日本精機株式会社
施工管理システム
1か月前
個人
海外支援型農作物活用システム
20日前
個人
システム及びプログラム
21日前
株式会社キーエンス
受発注システム
7日前
個人
パスポートレス入出国システム
1か月前
株式会社アジラ
進入判定装置
1か月前
個人
AIキャラクター制御システム
28日前
個人
音声・通知・再配達UX制御構造
2日前
個人
ジェスチャーパッドのガイド部材
2か月前
大同特殊鋼株式会社
疵判定方法
14日前
キヤノン株式会社
表示システム
7日前
サクサ株式会社
中継装置
28日前
大阪瓦斯株式会社
住宅設備機器
1か月前
個人
未来型家系図構築システム
20日前
サクサ株式会社
中継装置
2か月前
個人
食事受注会計処理システム
1か月前
個人
人格進化型対話応答制御システム
28日前
続きを見る
他の特許を見る