TOP
|
特許
|
意匠
|
商標
特許ウォッチ
Twitter
他の特許を見る
公開番号
2025140546
公報種別
公開特許公報(A)
公開日
2025-09-29
出願番号
2024040013
出願日
2024-03-14
発明の名称
情報処理装置、情報処理装置の制御方法、情報処理装置の制御プログラム、通信端末、通信端末の制御方法、及び通信端末の制御プログラム
出願人
ソフトバンク株式会社
代理人
弁理士法人白坂
主分類
G06Q
10/02 20120101AFI20250919BHJP(計算;計数)
要約
【課題】複数の会議室を連結して成る1つの会議室を予約する際の、ユーザの手間を軽減すること。
【解決手段】情報処理装置は、複数の会議室について、各会議室の種類に関する情報、及び複数の会議室の予約状況を記憶する記憶部と、ユーザから受け付けた、複数の会議室のいずれかの予約要求に基づいて、予約状況に応じて、予約要求における予約対象の会議室について予約を設定する予約設定部と、を備え、予約設定部は、予約要求が、少なくとも2以上の会議室を1つに連結した連結会議室として利用する旨を示す連結要求を含む場合、予約対象の会議室とともに、当該予約対象の会議室と連結する連結相手の会議室の予約を設定する。
【選択図】 図1
特許請求の範囲
【請求項1】
複数の会議室について、各会議室の種類に関する情報、及び前記複数の会議室の予約状況を記憶する記憶部と、
ユーザから受け付けた、前記複数の会議室のいずれかの予約要求に基づいて、前記予約状況に応じて、前記予約要求における予約対象の会議室について予約を設定する予約設定部と、
を備え、
前記予約設定部は、前記予約要求が、少なくとも2以上の会議室を1つに連結した連結会議室として利用する旨を示す連結要求を含む場合、前記予約対象の会議室とともに、当該予約対象の会議室と連結する連結相手の会議室の予約を設定する、情報処理装置。
続きを表示(約 2,200 文字)
【請求項2】
前記予約設定部は、前記予約要求として、前記予約対象の会議室を利用する利用時間帯を受け付け、前記予約状況に応じて、前記連結要求にかかる前記連結相手の会議室が、前記利用時間帯に利用不可である場合、前記連結要求にかかる予約を設定不可とする、
請求項1に記載の情報処理装置。
【請求項3】
前記連結要求にかかる前記連結相手の会議室が、前記利用時間帯に利用不可である場合、前記連結要求にかかる予約が設定不可である旨を、前記ユーザの通信端末に通知する通知部をさらに備える、
請求項2に記載の情報処理装置。
【請求項4】
情報処理装置に、
所定の記憶部に、複数の会議室について、各会議室の種類に関する情報、及び前記複数の会議室の予約状況を記憶させるステップと、
ユーザから受け付けた、前記複数の会議室のいずれかの予約要求に基づいて、前記予約状況に応じて、前記予約要求における予約対象の会議室について予約を設定するステップと、
を実行させ、
前記予約を設定するステップは、前記予約要求が、少なくとも2以上の会議室を1つに連結した連結会議室として利用する旨を示す連結要求を含む場合、前記予約対象の会議室とともに、当該予約対象の会議室と連結する連結相手の会議室の予約を設定する、情報処理装置の制御方法。
【請求項5】
情報処理装置に、
所定の記憶部に、複数の会議室について、各会議室の種類に関する情報、及び前記複数の会議室の予約状況を記憶させる機能と、
ユーザから受け付けた、前記複数の会議室のいずれかの予約要求に基づいて、前記予約状況に応じて、前記予約要求における予約対象の会議室について予約を設定する機能と、
を実現させ、
前記予約を設定する機能は、前記予約要求が、少なくとも2以上の会議室を1つに連結した連結会議室として利用する旨を示す連結要求を含む場合、前記予約対象の会議室とともに、当該予約対象の会議室と連結する連結相手の会議室の予約を設定する、情報処理装置の制御プログラム。
【請求項6】
複数の会議室のいずれかの予約要求を情報処理装置に送信する通信端末であって、
前記情報処理装置から取得した、各会議室の種類に関する情報、及び前記複数の会議室の予約状況に関する情報に基づき、前記複数の会議室の予約設定画面を表示する表示処理部と、
前記予約設定画面に対するユーザの選択に基づいて、予約対象の会議室に関する前記予約要求を生成する生成部と、
を備え、
前記表示処理部は、少なくとも2以上の会議室を1つに連結した連結会議室として利用可能な会議室について、前記連結会議室に該当する旨を示す情報を、前記予約設定画面に表示し、
前記生成部は、前記ユーザの選択に応じて、前記予約対象の会議室を前記連結会議室として利用する旨を示す連結要求を、前記予約要求に含ませて生成する、
通信端末。
【請求項7】
前記情報処理装置は、前記予約要求が前記連結要求を含む場合、前記予約対象の会議室とともに、当該予約対象の会議室と連結する連結相手の会議室の予約を設定する、
請求項6に記載の通信端末。
【請求項8】
複数の会議室のいずれかの予約要求を情報処理装置に送信する通信端末の制御方法であって、
前記情報処理装置から取得した、各会議室の種類に関する情報、及び前記複数の会議室の予約状況に関する情報に基づき、前記複数の会議室の予約設定画面を表示するステップと、
前記予約設定画面に対するユーザの選択に基づいて、予約対象の会議室に関する前記予約要求を生成するステップと、
を実行させ、
前記表示するステップは、少なくとも2以上の会議室を1つに連結した連結会議室として利用可能な会議室について、前記連結会議室に該当する旨を示す情報を、前記予約設定画面に表示し、
前記生成するステップは、前記ユーザの選択に応じて、前記予約対象の会議室を前記連結会議室として利用する旨を示す連結要求を、前記予約要求に含ませて生成する、
通信端末の制御方法。
【請求項9】
複数の会議室のいずれかの予約要求を情報処理装置に送信する通信端末の制御プログラムであって、
前記情報処理装置から取得した、各会議室の種類に関する情報、及び前記複数の会議室の予約状況に関する情報に基づき、前記複数の会議室の予約設定画面を表示する機能と、
前記予約設定画面に対するユーザの選択に基づいて、予約対象の会議室に関する前記予約要求を生成する機能と、
を実行させ、
前記表示する機能は、少なくとも2以上の会議室を1つに連結した連結会議室として利用可能な会議室について、前記連結会議室に該当する旨を示す情報を、前記予約設定画面に表示し、
前記生成する機能は、前記ユーザの選択に応じて、前記予約対象の会議室を前記連結会議室として利用する旨を示す連結要求を、前記予約要求に含ませて生成する、
通信端末の制御プログラム。
発明の詳細な説明
【技術分野】
【0001】
本発明は、情報処理装置、情報処理装置の制御方法、情報処理装置の制御プログラム、通信端末、通信端末の制御方法、及び通信端末の制御プログラムに関する。
続きを表示(約 1,600 文字)
【背景技術】
【0002】
従来、コンピュータシステムにより貸会議室の検索及び予約を行うことができるシステムが存在する(例えば、特許文献1)。
【先行技術文献】
【特許文献】
【0003】
特開2002-063322号公報
【発明の概要】
【発明が解決しようとする課題】
【0004】
ところで、従来、可動式の間仕切りで区分けされた隣接する会議室を連結して、1つの会議室として用いることが行われている。これにより、会議の規模や参加人数に応じて、柔軟に会議室を用意することができ、スペースを有効活用することができる。しかしながら、このような複数の会議室を連結して成る1つの会議室を予約する際には、複数の会議室を1室ずつ別々に予約する必要があり、ユーザにとって手間であった。
【0005】
複数の会議室を連結して成る1つの会議室を予約する際の、ユーザの手間を軽減することが求められている。
【課題を解決するための手段】
【0006】
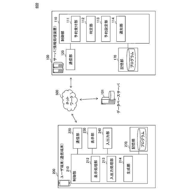
本発明の一実施形態に係る情報処理装置は、複数の会議室について、各会議室の種類に関する情報、及び複数の会議室の予約状況を記憶する記憶部と、ユーザから受け付けた、複数の会議室のいずれかの予約要求に基づいて、予約状況に応じて、予約要求における予約対象の会議室について予約を設定する予約設定部と、を備え、予約設定部は、予約要求が、少なくとも2以上の会議室を1つに連結した連結会議室として利用する旨を示す連結要求を含む場合、予約対象の会議室とともに、当該予約対象の会議室と連結する連結相手の会議室の予約を設定する。
【0007】
本発明の一実施形態に係る情報処理装置において、予約設定部は、予約要求として、予約対象の会議室を利用する利用時間帯を受け付け、予約状況に応じて、連結要求にかかる連結相手の会議室が、利用時間帯に利用不可である場合、連結要求にかかる予約を設定不可としてよい。
【0008】
本発明の一実施形態に係る情報処理装置は、連結要求にかかる連結相手の会議室が、利用時間帯に利用不可である場合、連結要求にかかる予約が設定不可である旨を、ユーザの通信端末に通知する通知部をさらに備えてよい。
【0009】
本発明の一実施形態に係る情報処理装置の制御方法は、情報処理装置に、所定の記憶部に、複数の会議室について、各会議室の種類に関する情報、及び複数の会議室の予約状況を記憶させるステップと、ユーザから受け付けた、複数の会議室のいずれかの予約要求に基づいて、予約状況に応じて、予約要求における予約対象の会議室について予約を設定するステップと、を実行させ、予約を設定するステップは、予約要求が、少なくとも2以上の会議室を1つに連結した連結会議室として利用する旨を示す連結要求を含む場合、予約対象の会議室とともに、当該予約対象の会議室と連結する連結相手の会議室の予約を設定する。
【0010】
本発明の一実施形態に係る情報処理装置の制御プログラムは、情報処理装置に、所定の記憶部に、複数の会議室について、各会議室の種類に関する情報、及び複数の会議室の予約状況を記憶させる機能と、ユーザから受け付けた、複数の会議室のいずれかの予約要求に基づいて、予約状況に応じて、予約要求における予約対象の会議室について予約を設定する機能と、を実現させ、予約を設定する機能は、予約要求が、少なくとも2以上の会議室を1つに連結した連結会議室として利用する旨を示す連結要求を含む場合、予約対象の会議室とともに、当該予約対象の会議室と連結する連結相手の会議室の予約を設定する。
(【0011】以降は省略されています)
この特許をJ-PlatPat(特許庁公式サイト)で参照する
関連特許
ソフトバンク株式会社
通信システム
11日前
ソフトバンク株式会社
情報処理装置及び情報処理プログラム
1日前
ソフトバンク株式会社
情報処理装置及び情報処理プログラム
1日前
ソフトバンク株式会社
情報処理装置及び情報処理プログラム
12日前
ソフトバンク株式会社
システム、プログラム、及び認証方法
1日前
ソフトバンク株式会社
電子機器、プログラム、及び制御方法
1日前
ソフトバンク株式会社
情報処理装置及び情報処理プログラム
12日前
ソフトバンク株式会社
電子機器、プログラム、及び制御方法
1日前
ソフトバンク株式会社
データ処理システム及びデータ処理方法
20日前
ソフトバンク株式会社
画像処理装置、プログラム、及び画像処理方法
1日前
ソフトバンク株式会社
画像処理装置、プログラム、及び画像処理方法
1日前
ソフトバンク株式会社
画像処理装置、プログラム、及び画像処理方法
1日前
ソフトバンク株式会社
システム、情報処理装置、プログラム、及び方法
4日前
ソフトバンク株式会社
システム、情報処理装置、プログラム、及び方法
4日前
ソフトバンク株式会社
情報処理装置、情報処理方法及び情報処理プログラム
11日前
ソフトバンク株式会社
情報処理装置、システム、情報処理方法及び制御プログラム
1日前
ソフトバンク株式会社
管理システム、管理システムの制御方法、及び管理システムの制御プログラム
5日前
ソフトバンク株式会社
管理システム、管理システムの制御方法、及び管理システムの制御プログラム
5日前
ソフトバンク株式会社
情報処理装置、情報処理装置の制御方法、情報処理装置の制御プログラム、通信端末、通信端末の制御方法、及び通信端末の制御プログラム
1日前
個人
工程設計支援装置
1か月前
個人
フラワーコートA
1か月前
個人
為替ポイント伊達夢貯
26日前
個人
介護情報提供システム
2か月前
個人
冷凍食品輸出支援構造
26日前
個人
表変換編集支援システム
19日前
個人
設計支援システム
2か月前
個人
携帯情報端末装置
1か月前
個人
設計支援システム
2か月前
個人
結婚相手紹介支援システム
1か月前
個人
知財出願支援AIシステム
26日前
個人
行動時間管理システム
21日前
個人
AIによる情報の売買の仲介
28日前
個人
パスワード管理支援システム
19日前
個人
アンケート支援システム
1か月前
日本精機株式会社
施工管理システム
28日前
個人
システム及びプログラム
12日前
続きを見る
他の特許を見る