TOP
|
特許
|
意匠
|
商標
特許ウォッチ
Twitter
他の特許を見る
公開番号
2025135495
公報種別
公開特許公報(A)
公開日
2025-09-18
出願番号
2024033388
出願日
2024-03-05
発明の名称
情報処理システム、情報処理方法、及び、情報処理プログラム
出願人
フリー株式会社
代理人
個人
主分類
G06Q
40/12 20230101AFI20250910BHJP(計算;計数)
要約
【課題】 帳票データから仕訳の対象となる仕訳データを読み込み、仕訳データを仕訳処理するための仕訳候補をより正しく取得することにより、ユーザにかかる仕訳作業の手間を少なくする、情報処理システムを提供する。
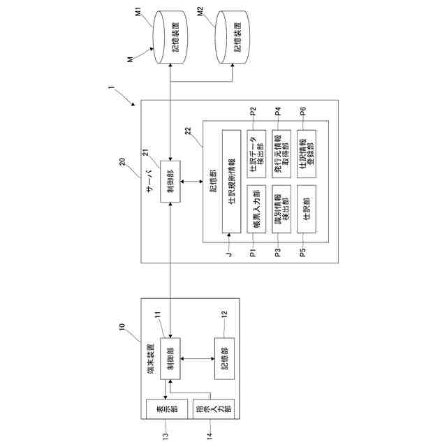
【解決手段】 記憶部22は、帳票の発行元を示す発行元情報に対応付け、仕訳データを仕訳するための候補である仕訳候補J2を含む仕訳規則情報Jを記憶する。発行元情報取得部P4は、事業者識別情報に対応付けて事業者名を記憶した記憶装置Mに、識別情報検出部P3によって帳票の画像を含む帳票データから検出された事業者識別情報が記憶されている場合、記憶装置Mから事業者識別情報に対応付けられた事業者名を取得し、事業者名に基づく発行元情報を取得する。仕訳部P5は、仕訳規則情報Jから発行元情報に対応付けられた仕訳候補J2を取得する。
【選択図】図2
特許請求の範囲
【請求項1】
帳票の発行元を示す発行元情報に対応付け、仕訳データを仕訳するための候補である仕訳候補を含む仕訳規則情報を記憶する記憶部と、
前記帳票の前記発行元の事業者を識別するための事業者識別情報に対応付けて事業者名を記憶した記憶装置に、識別情報検出部によって前記帳票の画像を含む帳票データから検出された前記事業者識別情報が記憶されている場合、前記記憶装置から前記事業者識別情報に対応付けられた前記事業者名を取得し、前記事業者名に基づく前記発行元情報を取得する発行元情報取得部と、
前記仕訳規則情報から前記発行元情報に対応付けられた前記仕訳候補を取得する仕訳部と、
を有する情報処理システム。
続きを表示(約 1,400 文字)
【請求項2】
前記事業者識別情報は、インボイス登録番号及び/又は電話番号を含む、請求項1に記載の情報処理システム。
【請求項3】
前記発行元情報取得部は、
前記インボイス登録番号に対応付けて第1事業者名を記憶した第1記憶装置に、前記識別情報検出部によって前記帳票データから検出された前記インボイス登録番号を送信することによって前記第1事業者名の返信を要求し、
前記電話番号に対応付けて第2事業者名を記憶した第2記憶装置に、前記識別情報検出部によって前記帳票データから検出された前記電話番号を送信することによって前記第2事業者名の返信を要求し、
前記第1記憶装置からの前記第1事業者名の返信、及び/又は、前記第2記憶装置からの前記第2事業者名の返信があったとき、返信のあった前記第1事業者名、及び/又は、前記第2事業者名に基づいて、前記発行元情報を取得する、
請求項2に記載の情報処理システム。
【請求項4】
前記発行元情報取得部は、前記第1記憶装置からの前記第1事業者名の返信、及び、前記第2記憶装置からの前記第2事業者名の返信のいずれもなかった場合、前記帳票データによって検出された前記発行元情報を取得する、請求項3に記載の情報処理システム。
【請求項5】
前記仕訳候補は、仕訳データを仕訳するための勘定科目を含む、請求項1に記載の情報処理システム。
【請求項6】
前記仕訳規則情報は、前記帳票の付属情報に対応付けられた前記仕訳候補を含み、
帳票入力部を有し、
前記帳票入力部は、前記帳票データ、及び、前記帳票データに関する前記付属情報の入力を受け付け、
前記仕訳部は、前記仕訳規則情報から前記付属情報に対応付けられた前記仕訳候補を取得し、前記仕訳候補を表示する、
請求項1に記載の情報処理システム。
【請求項7】
前記付属情報は、前記帳票データについてのメモ情報、前記帳票データに記載された金額の決済情報、及び、前記帳票データのファイルのファイル名の少なくともいずれか1つを含む、請求項6に記載の情報処理システム。
【請求項8】
前記仕訳部は、抽出キーの一部の各々の論理積による組み合わせを含む抽出条件に基づいて、前記仕訳規則情報から前記仕訳候補を抽出可能である、請求項1に記載の情報処理システム。
【請求項9】
前記仕訳部は、ユーザの指示入力に応じ、前記仕訳候補の取得後、前記仕訳候補の表示、又は、前記仕訳候補による仕訳処理のいずれかを行う、請求項1に記載の情報処理システム。
【請求項10】
帳票の発行元を示す発行元情報に対応付け、仕訳データを仕訳するための候補である仕訳候補を含む仕訳規則情報を記憶する記憶部を用意し、
発行元情報取得部により、前記帳票の前記発行元の事業者を識別するための事業者識別情報に対応付けて事業者名を記憶した記憶装置に、識別情報検出部によって前記帳票の画像を含む帳票データから検出された前記事業者識別情報が記憶されている場合、前記記憶装置から前記事業者識別情報に対応付けられた前記事業者名を取得し、前記事業者名に基づく前記発行元情報を取得し、
仕訳部により、前記仕訳規則情報から前記発行元情報に対応付けられた前記仕訳候補を取得する、
情報処理方法。
(【請求項11】以降は省略されています)
発明の詳細な説明
【技術分野】
【0001】
本発明は、情報処理システム、情報処理方法、及び、情報処理プログラムに関する。
続きを表示(約 2,200 文字)
【背景技術】
【0002】
従来、仕訳作業を支援する情報処理システムがある。例えば、特開2023-6434号公報には、帳票の画像データに対する文字認識処理によって取得した読取結果情報から、発行元の属性を示す文字列と、明細の内容を示す文字列とを抽出し、明細の内容を示す文字列に対応した仕訳規則情報を画面データに含める、情報処理システムが開示される。
【先行技術文献】
【特許文献】
【0003】
特開2023-6434号公報
【発明の概要】
【発明が解決しようとする課題】
【0004】
しかしながら、従来の情報処理システムでは、文字認識処理において、帳票に表された文字が必ずしも正しく認識されないことがあり、誤認識があると、正しい仕訳候補の表示や仕訳処理がされず、ユーザに修正作業の手間がかかる。特に、複数の帳票を纏めて処理する場合、正しい仕訳候補の表示や仕訳処理がされないと、ユーザにかかる修正作業の手間が多大になる。
【0005】
そこで、本発明の実施形態は、帳票データから仕訳の対象となる仕訳データを読み込み、仕訳データを仕訳処理するための仕訳候補をより正しく取得することにより、ユーザにかかる仕訳作業の手間を少なくする、情報処理システム、情報処理方法、及び、情報処理プログラムを提供することを目的とする。
【課題を解決するための手段】
【0006】
実施形態に係る情報処理システムは、記憶部、発行元情報取得部、及び、仕訳部を有する。前記記憶部は、帳票の発行元を示す発行元情報に対応付け、仕訳データを仕訳するための候補である仕訳候補を含む仕訳規則情報を記憶する。前記発行元情報取得部は、前記帳票の前記発行元の事業者を識別するための事業者識別情報に対応付けて事業者名を記憶した記憶装置に、識別情報検出部によって前記帳票の画像を含む帳票データから検出された前記事業者識別情報が記憶されている場合、前記記憶装置から前記事業者識別情報に対応付けられた前記事業者名を取得し、前記事業者名に基づく前記発行元情報を取得する。前記仕訳部は、前記仕訳規則情報から前記発行元情報に対応付けられた前記仕訳候補を取得する。
【0007】
実施形態に係る情報処理方法は、帳票の発行元を示す発行元情報に対応付け、仕訳データを仕訳するための候補である仕訳候補を含む仕訳規則情報を記憶する記憶部を用意し、発行元情報取得部により、前記帳票の前記発行元の事業者を識別するための事業者識別情報に対応付けて事業者名を記憶した記憶装置に、識別情報検出部によって前記帳票の画像を含む帳票データから検出された前記事業者識別情報が記憶されている場合、前記記憶装置から前記事業者識別情報に対応付けられた前記事業者名を取得し、前記事業者名に基づく前記発行元情報を取得し、仕訳部により、前記仕訳規則情報から前記発行元情報に対応付けられた前記仕訳候補を取得する。
【0008】
実施形態に係る情報処理プログラムは、記憶部のコード、発行元情報取得部のコード、仕訳部のコードを有する。前記記憶部のコードは、帳票の発行元を示す発行元情報に対応付け、仕訳データを仕訳するための候補である仕訳候補を含む仕訳規則情報を記憶する。前記発行元情報取得部のコードは、前記帳票の前記発行元の事業者を識別するための事業者識別情報に対応付けて事業者名を記憶した記憶装置に、識別情報検出部によって前記帳票の画像を含む帳票データから検出された前記事業者識別情報が記憶されている場合、前記記憶装置から前記事業者識別情報に対応付けられた前記事業者名を取得し、前記事業者名に基づく前記発行元情報を取得する。前記仕訳部のコードは、前記仕訳規則情報から前記発行元情報に対応付けられた前記仕訳候補を取得する。
【発明の効果】
【0009】
本発明の実施形態によれば、帳票データから仕訳の対象となる仕訳データを読み込み、仕訳データを仕訳処理するための仕訳候補をより正しく取得することにより、ユーザにかかる仕訳作業の手間を少なくする、情報処理システム、情報処理方法、及び、情報処理プログラムを提供することができる。
【図面の簡単な説明】
【0010】
実施形態に係る情報処理システムの全体構成の一例を示すブロック図である。
実施形態に係る情報処理システムの内部構成の一例を示すブロック図である。
実施形態に係る情報処理システムにおける、仕訳規則情報の構成を説明するための説明図である。
実施形態に係る情報処理システムにおける、帳票入力部によって入力される帳票データの一例を示す図である。
実施形態に係る情報処理システムにおける、帳票入力部が表示する帳票入力画面の一例を示す図である。
実施形態に係る情報処理システムにおける、仕訳部が表示する仕訳処理画面の一例を示す図である。
実施形態に係る情報処理システムにおける、仕訳支援処理の流れの一例を示すフローチャートである。
【発明を実施するための形態】
(【0011】以降は省略されています)
この特許をJ-PlatPat(特許庁公式サイト)で参照する
関連特許
個人
地球保全システム
13日前
個人
工程設計支援装置
2か月前
個人
QRコードの彩色
4日前
個人
為替ポイント伊達夢貯
1か月前
個人
冷凍食品輸出支援構造
1か月前
個人
表変換編集支援システム
1か月前
個人
携帯情報端末装置
2か月前
個人
残土処理システム
6日前
個人
知的財産出願支援システム
7日前
個人
知財出願支援AIシステム
1か月前
個人
結婚相手紹介支援システム
1か月前
個人
パスワード管理支援システム
1か月前
個人
行動時間管理システム
1か月前
個人
AIによる情報の売買の仲介
1か月前
個人
パスポートレス入出国システム
1か月前
個人
AIキャラクター制御システム
1か月前
個人
食品レシピ生成システム
12日前
株式会社キーエンス
受発注システム
12日前
個人
海外支援型農作物活用システム
25日前
株式会社アジラ
進入判定装置
1か月前
個人
システム及びプログラム
26日前
日本精機株式会社
施工管理システム
1か月前
株式会社キーエンス
受発注システム
12日前
株式会社キーエンス
受発注システム
12日前
大阪瓦斯株式会社
住宅設備機器
1か月前
個人
冷凍加工連携型農場運用システム
1か月前
個人
人格進化型対話応答制御システム
1か月前
個人
食事受注会計処理システム
1か月前
個人
音声・通知・再配達UX制御構造
7日前
個人
社会還元・施設向け供給支援構造
1か月前
キヤノン株式会社
表示システム
12日前
個人
未来型家系図構築システム
25日前
個人
帳票自動生成型SaaSシステム
7日前
個人
音声対話型帳票生成支援システム
1か月前
個人
SaaS型勤務調整支援システム
1か月前
大同特殊鋼株式会社
疵判定方法
19日前
続きを見る
他の特許を見る