TOP
|
特許
|
意匠
|
商標
特許ウォッチ
Twitter
他の特許を見る
公開番号
2025036037
公報種別
公開特許公報(A)
公開日
2025-03-14
出願番号
2024038529
出願日
2024-03-13
発明の名称
ケーブル
出願人
株式会社プロテリアル
代理人
主分類
H01B
7/04 20060101AFI20250306BHJP(基本的電気素子)
要約
【課題】環境負荷を低減でき、かつ、屈曲等の動作が付与されても劣化しにくいケーブルを提供する。
【解決手段】ケーブル1は、複数本の絶縁電線2が撚り合わせられた集合コア3と、集合コア3の周囲を覆うシース5と、を備え、絶縁電線2は、複数本の素線からなる導体21と、導体21の周囲を覆う絶縁体22と、を有し、絶縁体22は、非フッ素樹脂からなり、絶縁電線2は、絶縁体22から導体21を長手方向に対して引抜くときの力である導体引抜力が3.5kgf/25mm以下である。
【選択図】図1
特許請求の範囲
【請求項1】
複数本の絶縁電線が撚り合わせられた集合コアと、
前記集合コアの周囲を覆うシースと、を備え、
前記絶縁電線は、複数本の素線からなる導体と、前記導体の周囲を覆う絶縁体と、を有し、
前記絶縁体は、非フッ素樹脂からなり、
前記絶縁電線は、前記絶縁体から前記導体を長手方向に対して引抜くときの力である導体引抜力が3.5kgf/25mm以下である、
ケーブル。
続きを表示(約 830 文字)
【請求項2】
前記導体は、外径が0.08mm以上0.12mm以下の軟銅線または軟質の銅合金からなる複数本の前記素線が集合撚りされた集合撚線で構成されている、
請求項1に記載のケーブル。
【請求項3】
前記導体を構成する前記素線の引張強さが、前記絶縁体の引張強さの20倍未満である、
請求項2に記載のケーブル。
【請求項4】
前記導体を構成する前記複数本の素線は、
伸びが10%以上かつ引張強さが220MPa以上300MPa以下の軟銅線、または、
伸びが5%以上かつ引張強さが320MPa以上450MPa以下の軟質の銅合金線からなる、
請求項3に記載のケーブル。
【請求項5】
前記導体の断面積が、0.2mm
2
以上2.5mm
2
以下である、
請求項1に記載のケーブル。
【請求項6】
前記絶縁体は、オレフィン系樹脂からなる、
請求項1に記載のケーブル。
【請求項7】
前記絶縁体は、伸びが500%以上である、
請求項1に記載のケーブル。
【請求項8】
前記絶縁電線は、前記絶縁体の厚さが、前記導体に用いる前記素線の外径の2倍以上である、
請求項1に記載のケーブル。
【請求項9】
前記集合コアは、複数本の前記絶縁電線を層状に撚り合わせされて構成されている、
請求項1に記載のケーブル。
【請求項10】
前記集合コアは、ケーブル径方向における内方に位置する内層と、ケーブル径方向における外方に位置する外層との間に、前記内層を構成する前記絶縁電線と前記外層を構成する前記絶縁電線とが接触することを防止する接触防止部材が設けられている、
請求項9に記載のケーブル。
(【請求項11】以降は省略されています)
発明の詳細な説明
【技術分野】
【0001】
本発明は、ケーブルに関する。
続きを表示(約 1,200 文字)
【背景技術】
【0002】
産業用ロボット等のロボット(あるいは工作機械)に配線されるケーブルとして、例えば、複数本の絶縁電線を撚り合わせした集合コアと、集合コアの周囲を被覆するシースと、を備えたケーブルがある(例えば、特許文献1参照)。
【先行技術文献】
【特許文献】
【0003】
特開2008-218061号公報
【発明の概要】
【発明が解決しようとする課題】
【0004】
近年では、環境負荷を低減するために、絶縁電線の絶縁体としてフッ素樹脂を使用しないことが望まれている。一方、絶縁電線の絶縁体をフッ素樹脂以外の樹脂(例えば、ポリプロピレンなどの非フッ素樹脂)で構成すると、ケーブルに対して屈曲や捻回の動作が繰り返し付与された場合にケーブルが劣化(特に導体が断線)しやすくなることがあった。
【0005】
そこで、本発明は、環境負荷を低減でき、かつ、屈曲等の動作が付与されても劣化しにくいケーブルを提供することを目的とする。
【課題を解決するための手段】
【0006】
本発明は、上記課題を解決することを目的として、複数本の絶縁電線が撚り合わせられた集合コアと、前記集合コアの周囲を覆うシースと、を備え、前記絶縁電線は、複数本の素線からなる導体と、前記導体の周囲を覆う絶縁体と、を有し、前記絶縁体は、非フッ素樹脂からなり、前記絶縁電線は、前記絶縁体から前記導体を長手方向に対して引抜くときの力である導体引抜力が3.5kgf/25mm以下である、ケーブルを提供する。
【発明の効果】
【0007】
本発明によれば、環境負荷を低減でき、かつ、屈曲等の動作が付与されても劣化しにくいケーブルを提供できる。
【図面の簡単な説明】
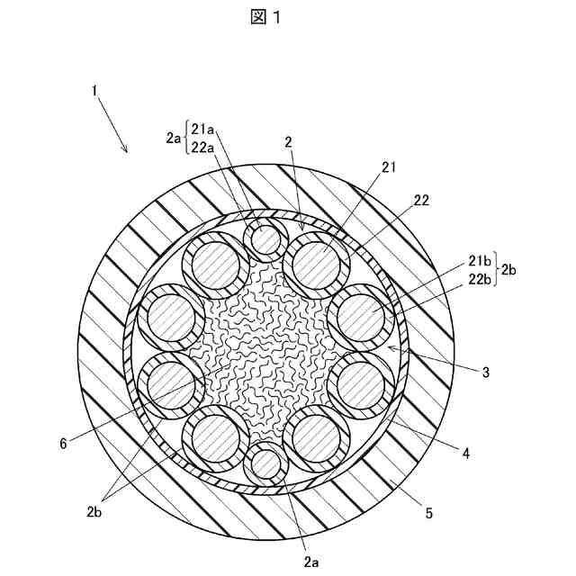
【0008】
本発明の一実施の形態に係るケーブルの長手方向に垂直な断面を示す断面図である。
絶縁電線の屈曲試験を説明する図である。
本発明の一変形例の形態に係るケーブルの長手方向に垂直な断面を示す断面図である。
本発明の一変形例の形態に係るケーブルの長手方向に垂直な断面を示す断面図である。
本発明の一変形例の形態に係るケーブルの長手方向に垂直な断面を示す断面図である。
【発明を実施するための形態】
【0009】
[実施の形態]
以下、本発明の実施の形態を添付図面にしたがって説明する。
【0010】
図1は、本実施の形態に係るケーブル1の長手方向に垂直な断面を示す断面図である。ケーブル1は、例えば、産業用ロボット等の装置に用いられ、当該装置の可動部を通るように配線される。ケーブル1には、可動部の動作に応じて屈曲や捻回等の動作が付与される。
(【0011】以降は省略されています)
この特許をJ-PlatPat(特許庁公式サイト)で参照する
関連特許
日機装株式会社
加圧装置
2日前
日新イオン機器株式会社
イオン源
2日前
株式会社トクミ
ケーブル
3日前
個人
電源ボックス及び電子機器
2日前
株式会社東芝
電子源
2日前
日本航空電子工業株式会社
コネクタ
2日前
三菱電機株式会社
半導体装置
2日前
株式会社興電舎
励磁突入電流抑制方法
2日前
住友電気工業株式会社
半導体装置
3日前
新光電気工業株式会社
半導体装置
2日前
矢崎総業株式会社
接合装置
2日前
Astemo株式会社
電子制御装置
2日前
矢崎総業株式会社
電線固定構造
2日前
矢崎総業株式会社
コネクタ
2日前
ソフトバンク株式会社
ベースプレート
2日前
矢崎総業株式会社
端子付き電線
2日前
矢崎総業株式会社
コネクタ構造
2日前
富士電機株式会社
半導体装置
2日前
TOTO株式会社
静電チャック
2日前
矢崎総業株式会社
端子間接続構造
2日前
矢崎総業株式会社
端子間接続構造
2日前
TOTO株式会社
静電チャック
2日前
住友ベークライト株式会社
ペースト状接着剤組成物
2日前
株式会社ディスコ
加工方法
2日前
株式会社ディスコ
加工方法
2日前
株式会社ディスコ
処理装置
2日前
株式会社プロテリアル
クラッド構造体および電池用端子部品
3日前
AMPコンサルティング合同会社
半導体チップ用均熱ユニット
2日前
矢崎総業株式会社
コネクタ
2日前
矢崎総業株式会社
コネクタ
2日前
株式会社SCREENホールディングス
塗布装置
2日前
日亜化学工業株式会社
蓋部材及びその製造方法、発光装置
2日前
株式会社プロテリアル
ケーブル
2日前
FDK株式会社
アルカリ蓄電池
2日前
関東化学株式会社
洗浄液組成物
2日前
日東精工株式会社
二次電池の端子および二次電池の端子の製造方法
2日前
続きを見る
他の特許を見る