TOP
|
特許
|
意匠
|
商標
特許ウォッチ
Twitter
他の特許を見る
公開番号
2025020650
公報種別
公開特許公報(A)
公開日
2025-02-13
出願番号
2023124159
出願日
2023-07-31
発明の名称
循環式水槽発電装置
出願人
有限会社丸銀
代理人
個人
,
個人
主分類
F03B
17/06 20060101AFI20250205BHJP(液体用機械または機関;風力原動機,ばね原動機,重力原動機;他類に属さない機械動力または反動推進力を発生するもの)
要約
【課題】比較的小型で一般家庭においても利用可能であり、用水路や河川等の水路のない場所においても設置可能な循環式水槽発電装置を提供することを課題とする。
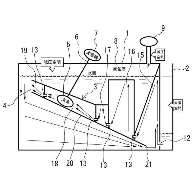
【解決手段】密閉可能な水槽1の一側面側に、下部を水槽1に連通させた大気室2を連設し、水槽1内に、大気室2側から他側面上部に向かって段階的に容積が狭まる流水室3を配置し、流水室3内の流出口に近い位置に水車5を配し、水車5の回転軸6を水槽1外に延ばして水槽1外に配備される発電機に接続し、更に、水槽1内に所定量貯水した際に水槽1内上部にできる空気層8を減圧する真空ポンプ9を配備して成る。
【選択図】図1
特許請求の範囲
【請求項1】
密閉可能な水槽の一側面側に、下部を前記水槽に連通させた大気室を連設し、前記水槽内に、前記大気室側から他側面上部に向かって段階的に容積が狭まる複数の区画室から成る流水室を配置し、前記流水室内の流出口に近い位置に水車を配し、前記水車の回転軸を前記水槽外に延ばして前記水槽外に配備される発電機に接続し、更に、前記水槽内に所定量貯水した際に前記水槽内上部にできる空気層を減圧する真空ポンプを配備して成る循環式水槽発電装置。
続きを表示(約 240 文字)
【請求項2】
前記複数の区画室は、隣接するもの同士、それぞれの下部に配設した連通孔を介して連通される、請求項1に記載の循環式水槽発電装置。
【請求項3】
前記区画室のうち最下段の区画室は、縦断面が三角形状である、請求項1に記載の循環式水槽発電装置。
【請求項4】
前記水車が設置される区画室は円筒体である、請求項1に記載の循環式水槽発電装置。
【請求項5】
前記水槽内に供給される水は重水である、請求項1に記載の循環式水槽発電装置。
発明の詳細な説明
【技術分野】
【0001】
本発明は、循環式水槽発電装置に関するものであり、 より詳細には、水槽内に配置した流路内に強い水流を起こし、流路内に配備した水車を回転させて発電する循環式水槽発電装置に関するものである。
続きを表示(約 1,200 文字)
【背景技術】
【0002】
水力を利用する発電機としては多種多様のものが提案され、実用化されているが、その多くは、ダムに付設される水力発電所に代表されるような、水の落差を利用したものである。水の落差は人工的に作り出すことができるので、水の落差を利用する発電機は、その規模にもよるが、特に設置場所に制限はない。但し、水の落差を出すために、装置が大型になることは否めない。
【0003】
また、用水路や河川等の自然の水流を利用する、比較的小型の水力発電機も種々考えられている(特開2019-44732号公報、特開2013-189862号公報、特開2013‐253577号公報)。但し、用水路や河川等の自然の水流を利用するシステムの場合、用水路や河川等には高低差があまりなく、水流の速度は速くないため、発電効率を高める工夫が必要となる。また、言うまでもなく、用水路や河川等の自然の水流を利用する発電機は、設置場所が限定される。
【先行技術文献】
【特許文献】
【0004】
特開2019-44732号公報
特開2013-189862号公報
特開2013‐253577号公報
【発明の概要】
【発明が解決しようとする課題】
【0005】
上述したように、従来提案されている水力発電機は、水の落差を出すために大型となり、一般向きではなく、また、用水路等の自然の水流を利用する比較的小型の発電機の場合は、設置場所が限定されるという問題がある。
【0006】
そこで本発明は、比較的小型で一般家庭においても利用可能であり、用水路や河川等の水路のない場所においても設置可能な循環式水槽発電装置を提供することを課題とする。
【課題を解決するための手段】
【0007】
上記課題を解決するための請求項1に記載の発明は、密閉可能な水槽の一側面側に、下部を前記水槽に連通させた大気室を連設し、前記水槽内に、前記大気室側から他側面上部に向かって段階的に容積が狭まる複数の区画室から成る流水室を配置し、前記流水室内の流出口に近い位置に水車を配し、前記水車の回転軸を前記水槽外に延ばして前記水槽外に配備される発電機に接続し、更に、前記水槽内に所定量貯水した際に前記水槽内上部にできる空気層を減圧する真空ポンプを配備して成る循環式水槽発電装置である。
【0008】
一実施形態においては、前記複数の区画室は、隣接するもの同士それぞれ下部に配設した連通孔を介して連通される。
【0009】
前記区画室のうち最下段の区画室は、縦断面が三角形状である。また、一実施形態においては、前記水車が設置される区画室は円筒体である。
【0010】
一実施形態においては、前記水槽内に供給される水は重水である。
【発明の効果】
(【0011】以降は省略されています)
この特許をJ-PlatPat(特許庁公式サイト)で参照する
関連特許
有限会社丸銀
循環式水槽発電装置
8か月前
個人
風力発電機
2か月前
個人
磁力スロープ
2か月前
個人
波力発電装置
3か月前
個人
風車用回転翼
2か月前
個人
小水力発電器
13日前
個人
折り畳み式風車
2か月前
個人
サボニウス風車
10日前
個人
風力発電装置
2か月前
個人
閉空間推進移動装置
2か月前
東レ株式会社
風車ブレード
2か月前
個人
水力発電用水の循環活動
28日前
個人
プラズマエンジン
4か月前
個人
波受け板を用いた波浪発電装置
20日前
株式会社 林物産発明研究所
発電装置
1か月前
個人
岸壁などに設置する波力発電装置
6日前
個人
水車発電と水の循環供給装置
1か月前
株式会社高橋監理
浮体式洋上風力発電所
4か月前
株式会社ゲットクリーンエナジー
発電機
2か月前
三菱電機株式会社
風力発電システム
28日前
株式会社ライトエンジ
推力発生方法
28日前
個人
上下運動を回転運動に変換する装置。
今日
株式会社リコー
水力発電装置
2か月前
株式会社堤水素研究所
風力発電装置
4か月前
株式会社アイシン
発電装置
2か月前
株式会社アイシン
発電装置
2か月前
株式会社大林組
リフトアップ装置
1か月前
株式会社大林組
リフトアップ装置
1か月前
個人
円錐振り子運動を近似的に発生させる装置
5か月前
株式会社ゲットクリーンエナジー
エンジン
4か月前
個人
潮流発電装置および潮流発電方法
4か月前
個人
波力発電ユニット及び波力発電システム
1か月前
三菱重工業株式会社
風力発電装置
24日前
株式会社高橋監理
推進装置付き浮体式洋上風力発電所
4か月前
日本精工株式会社
風力発電装置
4か月前
日本精工株式会社
風力発電装置
4か月前
続きを見る
他の特許を見る