TOP
|
特許
|
意匠
|
商標
特許ウォッチ
Twitter
他の特許を見る
公開番号
2025172438
公報種別
公開特許公報(A)
公開日
2025-11-26
出願番号
2024077943
出願日
2024-05-13
発明の名称
磁性細線メモリおよびその製造方法
出願人
日本放送協会
代理人
弁理士法人磯野国際特許商標事務所
主分類
H10B
61/00 20230101AFI20251118BHJP()
要約
【課題】本発明は、磁性細線の破断の可能性を低減し、高い歩留まりで製造できる磁性細線メモリおよびその製造方法を提供することを課題とする。
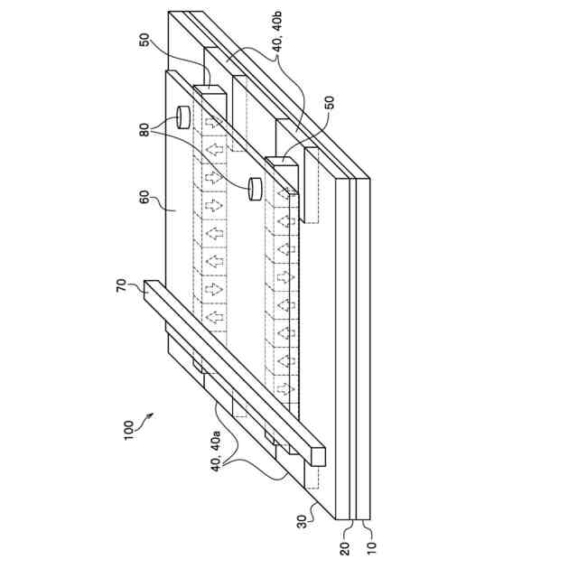
【解決手段】本発明に係る磁性細線メモリ100は、基板10と、前記基板10の上に形成されたエッチングストッパー層20と、前記エッチングストッパー層20の上に形成された少なくとも一対の電極40と、前記エッチングストッパー層の上に前記少なくとも一対の電極に隣接して同じ厚さで形成された電極間絶縁層30と、前記少なくとも一対の電極40および前記電極間絶縁層30の上において一対の電極40に端部が重なるように形成された磁性細線51と、前記磁性細線51の上に形成された層間絶縁層60と、前記層間絶縁層60の上において前記磁性細線51に直交するように形成された直線状の記録素子70と、を備え、前記エッチングストッパー層20が、エッチングされない材料からなる。
【選択図】図1
特許請求の範囲
【請求項1】
基板と、
前記基板の上に形成されたエッチングストッパー層と、
前記エッチングストッパー層の上に形成された少なくとも一対の電極と、
前記エッチングストッパー層の上に前記少なくとも一対の電極に隣接して同じ厚さで形成された電極間絶縁層と、
前記少なくとも一対の電極および前記電極間絶縁層の上において一対の電極に端部が重なるように形成された磁性細線と、
前記磁性細線の上に形成された層間絶縁層と、
前記層間絶縁層の上において前記磁性細線に直交するように形成された直線状の記録素子と、を備え、
前記エッチングストッパー層が、エッチングされない材料からなる磁性細線メモリ。
続きを表示(約 780 文字)
【請求項2】
前記電極の上面と前記電極間絶縁層の上面とが、同一平面である請求項1に記載の磁性細線メモリ。
【請求項3】
エッチングストッパー層が、MgOである請求項1または請求項2に記載の磁性細線メモリ。
【請求項4】
前記電極間絶縁層が、SiO
2
またはSiN
X
である請求項1または請求項2に記載の磁性細線メモリ。
【請求項5】
基板の上にエッチングストッパー層を形成する工程と、
前記エッチングストッパー層の上に電極間絶縁層を形成する工程と、
少なくとも一対の電極を形成するための領域を、前記電極間絶縁層にエッチングで形成する工程と、
前記領域に少なくとも一対の電極を前記電極間絶縁層と同じ厚さで形成する工程と、
前記少なくとも一対の電極および前記電極間絶縁層の上において一対の電極に端部が重なるように磁性細線を形成する工程と、
前記磁性細線の上に層間絶縁層を形成する工程と、
前記層間絶縁層の上において前記磁性細線に直交するように直線状の記録素子を形成する工程と、を含み、
前記エッチングストッパー層が、エッチングされない材料からなる磁性細線メモリの製造方法。
【請求項6】
前記電極の上面と前記電極間絶縁層の上面とを、同一平面とする請求項5に記載の磁性細線メモリの製造方法。
【請求項7】
前記エッチングストッパー層が、MgOである請求項5または請求項6に記載の磁性細線メモリの製造方法。
【請求項8】
前記電極間絶縁層が、SiO
2
またはSiN
X
である請求項5または請求項6に記載の磁性細線メモリの製造方法。
発明の詳細な説明
【技術分野】
【0001】
本発明は、磁性細線メモリおよびその製造方法に係り、特に、電流磁界により磁化を局所的に反転させることで情報記録を行う磁性細線メモリおよびその製造方法に関する。
続きを表示(約 2,000 文字)
【背景技術】
【0002】
磁性体材料を細線状に加工した媒体において、例えば、上向きや下向きといった磁化の向きに対応した2値情報を記録および再生する磁性細線メモリの研究が進められている。磁性細線メモリは、例えば、磁性細線の上部または下部に、層間絶縁層を介して細線状に形成した導体(以下、記録素子と呼ぶ)を直交配置した構造を備えている(特許文献1)。特許文献1に記載された磁性細線メモリは、記録素子に電流を印加することによって発生する電流磁界を用いて磁性細線中の磁化を局所的に反転して情報の記録を行う。このような磁性細線メモリを並列配置、および積層することで、並列同期制御による超高速動作が可能となる。
【0003】
磁性細線メモリの動作は、記録ビットに相当する磁区を形成する「記録」、形成した磁区を磁性細線中でシフトさせる「駆動」、磁区の磁化方向を検出する「再生」からなる。この3つの動作は電気信号の印加で行われることから、磁性細線メモリは、基本的には機械的な可動部が不要であって電流駆動デバイスとして動作する。
【先行技術文献】
【特許文献】
【0004】
特開2020-027802号公報
【発明の概要】
【発明が解決しようとする課題】
【0005】
従来、磁性細線メモリは、製造プロセスの容易さから、基板の上に、磁性細線、層間絶縁層、記録素子の順に形成した後、磁性細線の磁区を駆動するための電極を形成するという製造方法が採用されていた。
ここで、磁性細線における磁区の磁化方向を検出する再生ヘッドは、2つの電極(例えば、下側電極と上側電極)で挟み込む必要がある。そのため、前記した製造方法で得られた磁性細線メモリに再生ヘッドを設置しようとすると、再生ヘッド用の下側電極の厚さ分だけ、再生ヘッドと磁性細線とが離間し、磁化方向を検出する性能(読み出し性能)が低下するおそれがある。
【0006】
そこで、本発明者らは、従来の磁性細線メモリの構成から電極の位置を下側(基板側)に変更する構成とし、当該電極に磁性細線の磁区の駆動用という役割だけでなく、再生ヘッドの下側電極という役割を果たす構成とすることで、読み出し性能の低下を回避することを検討した。
しかしながら、従来の磁性細線メモリの構成から電極の位置を下側に変更するだけでは、磁性細線が断線するケース(後に詳述する比較例1、2を参照)が発生することを本発明者らは確認した。
【0007】
このような観点から、本発明は、磁性細線の破断の可能性を低減し、高い歩留まりで製造できる磁性細線メモリおよびその製造方法を提供することを課題とする。
【課題を解決するための手段】
【0008】
前記課題は、以下の手段により解決することができる。
本発明に係る磁性細線メモリは、基板と、前記基板の上に形成されたエッチングストッパー層と、前記エッチングストッパー層の上に形成された少なくとも一対の電極と、前記エッチングストッパー層の上に前記少なくとも一対の電極に隣接して同じ厚さで形成された電極間絶縁層と、前記少なくとも一対の電極および前記電極間絶縁層の上において一対の電極に端部が重なるように形成された磁性細線と、前記磁性細線の上に形成された層間絶縁層と、前記層間絶縁層の上において前記磁性細線に直交するように形成された直線状の記録素子と、を備え、前記エッチングストッパー層が、エッチングされない材料からなる。
【0009】
本発明に係る磁性細線メモリは、エッチングストッパー層を備えることで、電極用のエッチング孔を電極間絶縁層に適切に形成でき、エッチング孔に深さのばらつきが生じるといった事態を回避することができる。これにより、本発明に係る磁性細線メモリは、電極の上面と電極間絶縁層の上面とを同一平面となるように形成でき、電極と電極間絶縁層との境界部分に段差が生じないことから、当該境界部分を跨ぐ磁性細線を平坦な面に形成することができる。
【0010】
また、本発明に係る磁性細線メモリの製造方法は、基板の上にエッチングストッパー層を形成する工程と、前記エッチングストッパー層の上に電極間絶縁層を形成する工程と、少なくとも一対の電極を形成するための領域を、前記電極間絶縁層にエッチングで形成する工程と、前記領域に少なくとも一対の電極を前記電極間絶縁層と同じ厚さで形成する工程と、前記少なくとも一対の電極および前記電極間絶縁層の上において一対の電極に端部が重なるように磁性細線を形成する工程と、前記磁性細線の上に層間絶縁層を形成する工程と、前記層間絶縁層の上において前記磁性細線に直交するように直線状の記録素子を形成する工程と、を含み、前記エッチングストッパー層が、エッチングされない材料からなる。
(【0011】以降は省略されています)
この特許をJ-PlatPat(特許庁公式サイト)で参照する
関連特許
日本放送協会
撮像装置
10か月前
日本放送協会
撮像装置
3か月前
日本放送協会
配線構造
6か月前
日本放送協会
収音装置
3か月前
日本放送協会
無線通信装置
7か月前
日本放送協会
表示システム
1か月前
日本放送協会
マイクロホン
8か月前
日本放送協会
アンテナ装置
3か月前
日本放送協会
光学計測装置
8か月前
日本放送協会
基板固定装置
2か月前
日本放送協会
撮像システム
20日前
日本放送協会
光分布生成装置
3か月前
日本放送協会
接続用配線基板
29日前
日本放送協会
磁性細線メモリ
7か月前
日本放送協会
映像伝送システム
6か月前
日本放送協会
広視野角撮像装置
1か月前
日本放送協会
無線伝送システム
10か月前
日本放送協会
広視野角撮像装置
1か月前
日本放送協会
磁性細線デバイス
10か月前
日本放送協会
データ管理システム
10か月前
日本放送協会
3次元映像表示装置
3か月前
日本放送協会
良撮影位置推定装置
5か月前
日本放送協会
角度選択フィルター
5か月前
日本放送協会
3次元映像表示装置
6か月前
日本放送協会
送信装置及び受信装置
10か月前
日本放送協会
送信装置及び受信装置
7日前
日本放送協会
受信装置及び送出装置
11か月前
日本放送協会
送信装置及び受信装置
2か月前
日本放送協会
送信装置及び受信装置
9か月前
日本放送協会
送信装置及び受信装置
9か月前
日本放送協会
受信装置及びプログラム
5か月前
日本放送協会
受信装置及びプログラム
12か月前
日本放送協会
受信装置及びプログラム
3か月前
日本放送協会
受信装置及びプログラム
3か月前
日本放送協会
縮小装置及びプログラム
4か月前
日本放送協会
磁壁移動型空間光変調器
11か月前
続きを見る
他の特許を見る