TOP
|
特許
|
意匠
|
商標
特許ウォッチ
Twitter
他の特許を見る
公開番号
2025169936
公報種別
公開特許公報(A)
公開日
2025-11-14
出願番号
2025076768
出願日
2025-05-02
発明の名称
成形体、ウェアラブル端末、成形体の製造方法、高分子架橋体の製造方法
出願人
国立大学法人北海道大学
代理人
個人
,
個人
,
個人
主分類
C08J
7/02 20060101AFI20251107BHJP(有機高分子化合物;その製造または化学的加工;それに基づく組成物)
要約
【課題】溶媒で膨潤することによる自発的な屈曲によって得られる成形体、その成形体を備えるウェアラブル端末、成形体の製造方法、および高分子架橋体の製造方法を提供する。
【解決手段】基部と、前記基部に連接する少なくとも1つの屈曲部と、を備える成形体であって、前記基部および前記屈曲部は、第1の網目構造および第2の網目構造を有する第1の高分子架橋体から構成され、溶媒を含浸させる前の前記基部の厚さをt
1
、溶媒を含浸させた後の前記基部の厚さをt
2
、溶媒を含浸させる前の前記屈曲部の厚さをt
s1
、溶媒を含浸させた後の前記屈曲部の厚さをt
s2
とした場合、下記の式(1)で表わされる膨潤率(Q)が1より大きく5以下である、成形体。
Q=(t
s2
/t
s1
)/(t
2
/t
1
) (1)
(但し、t
1
≧t
s1
である。)
【選択図】図1
特許請求の範囲
【請求項1】
基部と、前記基部に連接する少なくとも1つの屈曲部と、を備える成形体であって、
前記基部および前記屈曲部は、第1の網目構造および第2の網目構造を有する第1の高分子架橋体から構成され、
溶媒を含浸させる前の前記基部の厚さをt
1
、溶媒を含浸させた後の前記基部の厚さをt
2
、溶媒を含浸させる前の前記屈曲部の厚さをt
s1
、溶媒を含浸させた後の前記屈曲部の厚さをt
s2
とした場合、下記の式(1)で表わされる膨潤率(Q)が1より大きく5以下である、成形体。
Q=(t
s2
/t
s1
)/(t
2
/t
1
) (1)
(但し、t
1
≧t
s1
である。)
続きを表示(約 940 文字)
【請求項2】
被着体に装着する装着体と、前記装着体に固定された電子デバイスと、を備えるウェアラブル端末であって、
前記装着体は、請求項1に記載の成形体からなる、ウェアラブル端末。
【請求項3】
高分子架橋体からなり、基部と、前記基部に連接する少なくとも1つの屈曲部と、を備える成形体の製造方法であって、
シート状またはファイバー状に加工した高分子架橋体の任意の部分にレーザー光を照射する工程と、
前記レーザー光を照射した後の前記高分子架橋体に溶媒を含浸させる工程と、を有する、成形体の製造方法。
【請求項4】
溶媒を含浸させる前の前記基部の厚さをt
1
、溶媒を含浸させる前の前記屈曲部の厚さをt
s1
とした場合、下記の式(2)で表わされる残存率(r)が0.01以上1以下である、請求項3に記載の成形体の製造方法。
r=t
s1
/t
1
(2)
【請求項5】
前記高分子架橋体は、相互侵入網目構造またはセミ相互侵入網目構造を有する、請求項3に記載の成形体の製造方法。
【請求項6】
前記高分子架橋体は、極限伸長網目構造を有する、請求項3に記載の成形体の製造方法。
【請求項7】
極限伸長網目構造を有する高分子架橋体の製造方法であって、
架橋構造を有する第1の網目構造体中に第1のモノマーを導入し、前記第1のモノマーを重合して第1の分子ステントを導入して、第2の網目構造体を形成する工程と、
前記第2の網目構造体中に第2のモノマーを導入し、前記第2のモノマーを重合して第2の分子ステントを導入して、第3の網目構造体を形成する工程と、
前記第3の網目構造体中に第3のモノマーを導入し、前記第3のモノマーを重合して第3の分子ステントを導入して、第4の網目構造体を形成する工程と、を有する、高分子架橋体の製造方法。
【請求項8】
前記第4の網目構造体を溶媒に浸漬し、前記第4の網目構造体を膨潤させる工程を有する、請求項7に記載の高分子架橋体の製造方法。
発明の詳細な説明
【技術分野】
【0001】
本発明は、成形体、ウェアラブル端末、成形体の製造方法、および高分子架橋体の製造方法に関する。
続きを表示(約 3,600 文字)
【背景技術】
【0002】
高分子架橋体とは、鎖状の高分子鎖が共有結合によって架橋され、網目状になった材料である。高分子架橋体の代表例としては、タイヤ等に幅広く使われる加硫ゴム、網目内に水を含んだハイドロゲル等が挙げられる。特に含水材料であるハイドロゲルは、その硬さ(弾性率)や含水性が生体と類似していることから、生体代替材料、生体模倣材料等としての用途が期待されている。
【0003】
ところで、高分子架橋体を実用するには、その用途に適した形状に成形する必要がある。高分子架橋体は、内部に網目構造を有している熱硬化性樹脂と同類であることから、射出成型や圧延等の一般的な加工法を適用することが難しい。高分子架橋体を成形する従来技術としては、例えば、所望の形状を持つ型の内部で高分子架橋体を合成する方法、3Dプリンターで高分子架橋体を印刷する方法(例えば、特許文献1参照)、合成後にグラインダー等で高分子架橋体を切削する方法、架橋網目構造を有する第1のポリマーを含む微粒子の架橋網目構造に第2のポリマーが侵入した構造を有するハイドロゲルによる方法(例えば、特許文献2参照)等が挙げられる。
【先行技術文献】
【特許文献】
【0004】
特開2015-150761号公報
特開2008-163055号公報
【発明の概要】
【発明が解決しようとする課題】
【0005】
しかしながら、型を用いる方法は、用途にあった型を作製しなければならないため製造コストが高くなる上に、合成後の高分子架橋体を離型する必要があることから、複雑な形状の高分子架橋体を成形することが難しい。また、3Dプリンターで高分子架橋体を印刷する方法は、印刷に長い時間が必要である上に、印刷に適した特性を持つ材料を使う必要がある。また、グラインダー等で高分子架橋体を切削する方法は、特にハイドロゲルにおいて、その柔軟性のために実施することが著しく難しい。さらに、微粒子を用いる方法では、ハイドロゲルの力学強度が十分満足できるものではなかった。
【0006】
本発明は、上記事情に鑑みてなされたものであって、溶媒で膨潤することによる自発的な屈曲によって得られる成形体、その成形体を備えるウェアラブル端末、成形体の製造方法、および高分子架橋体の製造方法を提供することを目的とする。
【課題を解決するための手段】
【0007】
本発明は以下の態様を有する。
[1]基部と、前記基部に連接する少なくとも1つの屈曲部と、を備える成形体であって、
前記基部および前記屈曲部は、第1の網目構造および第2の網目構造を有する第1の高分子架橋体から構成され、
溶媒を含浸させる前の前記基部の厚さをt
1
、溶媒を含浸させた後の前記基部の厚さをt
2
、溶媒を含浸させる前の前記屈曲部の厚さをt
s1
、溶媒を含浸させた後の前記屈曲部の厚さをt
s2
とした場合、下記の式(1)で表わされる膨潤率(Q)が1より大きく5以下である、成形体。
Q=(t
s2
/t
s1
)/(t
2
/t
1
) (1)
(但し、t
1
≧t
s1
である。)
[2]被着体に装着する装着体と、前記装着体に固定された電子デバイスと、を備えるウェアラブル端末であって、
前記装着体は、[1]に記載の成形体からなる、ウェアラブル端末。
[3]高分子架橋体からなり、基部と、前記基部に連接する少なくとも1つの屈曲部と、を備える成形体の製造方法であって、
シート状またはファイバー状に加工した高分子架橋体の任意の部分にレーザー光を照射する工程と、
前記レーザー光を照射した後の前記高分子架橋体に溶媒を含浸させる工程と、を有する、成形体の製造方法。
[4]溶媒を含浸させる前の前記基部の厚さをt
1
、溶媒を含浸させる前の前記屈曲部の厚さをt
s1
とした場合、下記の式(2)で表わされる残存率(r)が0.01以上1以下である、[3]に記載の成形体の製造方法。
r=t
s1
/t
1
(2)
[5]前記高分子架橋体は、相互侵入網目構造またはセミ相互侵入網目構造を有する、[3]または[4]に記載の成形体の製造方法。
[6]前記高分子架橋体は、極限伸長網目構造を有する、[3]または[4]に記載の成形体の製造方法。
[7]極限伸長網目構造を有する高分子架橋体の製造方法であって、
架橋構造を有する第1の網目構造体中に第1のモノマーを導入し、前記第1のモノマーを重合して第1の分子ステントを導入して、第2の網目構造体を形成する工程と、
前記第2の網目構造体中に第2のモノマーを導入し、前記第2のモノマーを重合して第2の分子ステントを導入して、第3の網目構造体を形成する工程と、
前記第3の網目構造体中に第3のモノマーを導入し、前記第3のモノマーを重合して第3の分子ステントを導入して、第4の網目構造体を形成する工程と、を有する、高分子架橋体の製造方法。
[8]前記第4の網目構造体を溶媒に浸漬し、前記第4の網目構造体を膨潤させる工程を有する、[7]に記載の高分子架橋体の製造方法。
【発明の効果】
【0008】
本発明によれば、溶媒の膨潤による自発的な屈曲によって得られる成形体、その成形体を備えるウェアラブル端末、成形体の製造方法、および高分子架橋体の製造方法を提供することができる。
【図面の簡単な説明】
【0009】
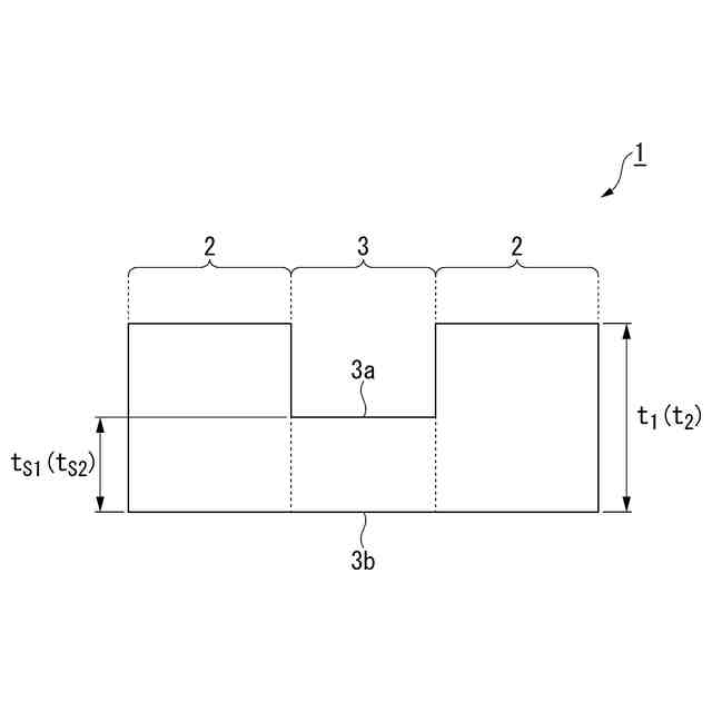
本開示の成形体のレーザー光照射後の屈曲する前の状態を示す断面図である。
実施例1において、屈曲部の屈曲角度と残存率の関係を示す図である。
実施例1において、屈曲部の屈曲角度とダブルネットワークゲルの幅方向の削り幅の関係を示す図である。
実施例2において、ダブルネットワークゲルの屈曲の状態を示す写真である。
実施例2において、ポリジメチルアクリルアミドゲルの屈曲の状態を示す写真である。
実施例2において、ポリアクリルアミドゲルの屈曲の状態を示す写真である。
実施例3において、残存率(r)が0.3の場合の加硫ゴムシートの屈曲の状態を示す写真である。
実施例3において、残存率(r)が0.55の場合の加硫ゴムシートの屈曲の状態を示す写真である。
実施例4において、ダブルネットワークゲルをらせん形状に切削加工した状態を示す写真である。
実施例4において、らせん形状に切削加工したダブルネットワークゲルを純水に浸漬した状態を示す写真である。
実施例4において、ダブルネットワークゲルを、箱を展開した形状に切削加工した状態を示す写真である。
実施例4において、箱を展開した形状に切削加工したダブルネットワークゲルを純水に浸漬した状態を示す写真である。
実施例5において、箱状に折り畳まれたゲルを50質量%のエタノール水溶液に浸漬した場合の挙動を示す写真である。
実施例6において、ダブルネットワークゲルの屈曲の状態を示す写真である。
実施例7において、ポリN-イソプロピルアクリルアミドゲルの屈曲の状態を示す写真である。
実施例7において、ポリN-イソプロピルアクリルアミドゲルの屈曲の状態を示す写真である。
実施例7において、屈曲部の屈曲角度と残存率の関係を示す図である。
【発明を実施するための形態】
【0010】
以下、本開示の実施の形態や実施例等を、図面等を参照しながら説明する。但し、本開示は多くの異なる態様で実施することが可能であり、以下に例示する実施の形態や実施例等の記載内容に限定して解釈されるものではない。また、図面は説明をより明確にするため、実際の態様に比べ、各部の幅、厚さ、形状等について模式的に表される場合があるが、あくまで一例であって、本開示の解釈を限定するものではない。
また、本明細書において数値範囲を示す「~」とは、その前後に記載された数値を下限値及び上限値として含む意味で使用される。
(【0011】以降は省略されています)
この特許をJ-PlatPat(特許庁公式サイト)で参照する
関連特許
株式会社カネカ
抗菌剤
1か月前
国立大学法人北海道大学
含フッ素化合物の製造方法
2か月前
株式会社デンソー
平滑回路
2か月前
住友電気工業株式会社
光学素子
4か月前
株式会社タクマ
バイオマス処理装置
3か月前
国立大学法人北海道大学
粒子の分離方法および粒子の分離装置
25日前
株式会社ジョコネ
骨盤底筋運動測定装置
3か月前
国立大学法人北海道大学
発光材料、塗料、印刷物、及び樹脂成形体
1か月前
日本製鉄株式会社
ワカメ藻体及びその育成方法
1か月前
国立大学法人北海道大学
タンパク質分解制御化合物、剤、方法及びキット
9日前
国立大学法人北海道大学
触媒及びそれを用いた不飽和カルボン酸の製造方法
1か月前
株式会社エフ・シー・シー
電動車両用暖房システム
3か月前
国立大学法人北海道大学
ポリマー、オキセタン化合物、及び硬化性樹脂組成物
3か月前
国立大学法人北海道大学
カンナビノイド類を検査する検査キット及び検査方法
4か月前
旭化成株式会社
CNSLを用いたフェノールの製造方法
2か月前
株式会社椿本チエイン
複合材料、及び複合材料の製造方法
1か月前
株式会社エフ・シー・シー
電動車両用蓄電池保温システム
3か月前
国立大学法人北海道大学
1つのフェノール性水酸基を有する芳香族化合物の製造方法
3か月前
国立大学法人北海道大学
アルコール合成用触媒及びそれを用いたアルコールの製造方法
1か月前
国立大学法人北海道大学
流体シミュレーションのための方法、装置、およびプログラム
3か月前
国立大学法人北海道大学
環状ジオール化合物及びその製造方法、並びに糖類分解用触媒
16日前
国立大学法人北海道大学
多孔質構造体
1か月前
NTT株式会社
測定装置、測定方法、及び、測定プログラム
1か月前
国立研究開発法人海洋研究開発機構
採取装置及び濾過ユニット
1か月前
国立大学法人北海道大学
量子暗号受信機、量子暗号通信システム、及び量子暗号受信方法
2か月前
株式会社日立製作所
放射線治療支援装置及び放射線治療支援方法
3か月前
バイオサイエンステクノロジー株式会社
新規な糖化合物又はその塩
3か月前
日本電気株式会社
情報処理システム、情報処理方法及びプログラム
3か月前
国立大学法人北海道大学
椎間板治療用組成物
1か月前
NTT株式会社
数モードマルチコア光ファイバ及び光伝送システム
22日前
国立大学法人北海道大学
成形体、ウェアラブル端末、成形体の製造方法、高分子架橋体の製造方法
7日前
株式会社大林組
自硬性材料の製造方法
4か月前
東レ株式会社
芳香族化合物の製造方法、およびテレフタル酸の製造方法
14日前
東京都公立大学法人
耐熱合金
2か月前
国立大学法人九州大学
燃料電池、電解セル及び組セル
1か月前
国立大学法人北海道大学
内部アクセス装置、位置姿勢推定システム、位置姿勢推定方法、及びプログラム
2か月前
続きを見る
他の特許を見る