TOP
|
特許
|
意匠
|
商標
特許ウォッチ
Twitter
他の特許を見る
公開番号
2025159503
公報種別
公開特許公報(A)
公開日
2025-10-21
出願番号
2024062107
出願日
2024-04-08
発明の名称
蓄電モジュールの製造方法
出願人
トヨタ自動車株式会社
代理人
個人
主分類
H01M
50/636 20210101AFI20251014BHJP(基本的電気素子)
要約
【課題】注液孔を封止する封止部材を溶着する時のボイドの発生を抑制してセル間の短絡を抑制した蓄電モジュールの製造方法を提供すること。
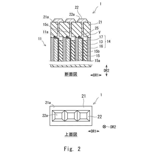
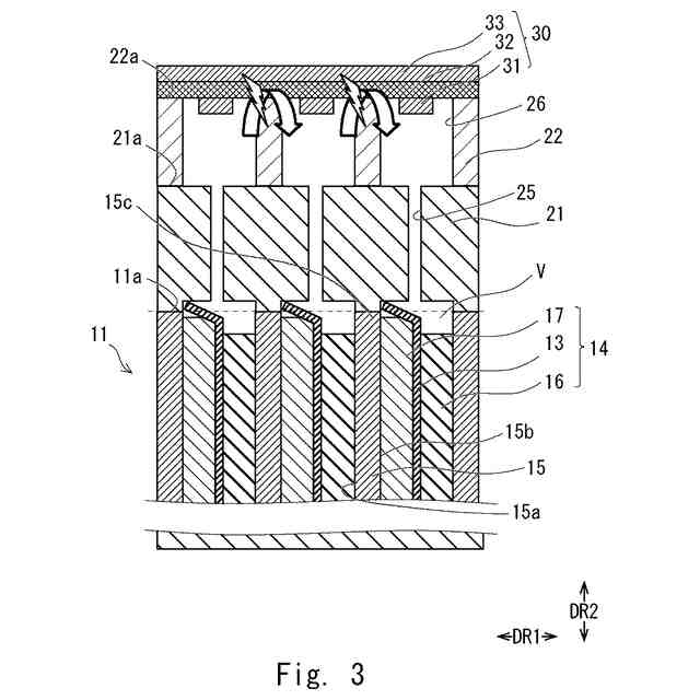
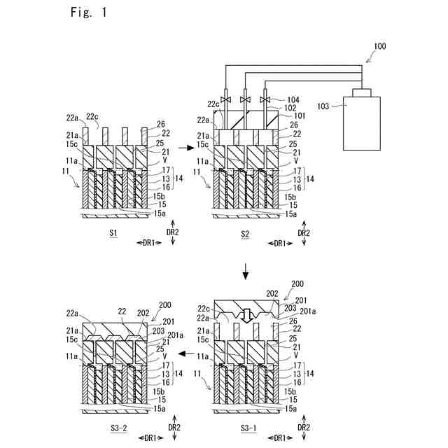
【解決手段】蓄電モジュールの製造方法は、積層方向に沿って積層された複数の電極を含む電極積層体11と、隣り合う電極間に形成される内部空間Vに連通する第1連通孔25が形成されているとともに電極積層体11の積層方向に沿う側面11aを囲むように設けられた樹脂製の第1封止部材21と、第1連通孔25に連通する第2連通孔26が形成されているとともに第1封止部材21の積層方向の外側面21aを囲むように設けられた樹脂製の第2封止部材22とを準備する準備工程と、第1連通孔25及び第2連通孔26を通して電解液を内部空間Vに注入する注液工程と、第2封止部材22を溶融させて第1連通孔25内に流し込み、第1連通孔25を封止する封止工程と、を有する。
【選択図】図1
特許請求の範囲
【請求項1】
積層方向に沿って積層された複数の電極を含む電極積層体と、隣り合う前記電極間に形成される内部空間に連通する第1連通孔が形成されているとともに前記電極積層体の前記積層方向に沿う側面を囲むように設けられた樹脂製の第1封止部材と、前記第1連通孔に連通する第2連通孔が形成されているとともに前記第1封止部材の前記積層方向の外側面を囲むように設けられた樹脂製の第2封止部材とを準備する準備工程と、
前記第1連通孔及び前記第2連通孔を通して電解液を前記内部空間に注入する注液工程と、
前記第2封止部材を溶融させて前記第1連通孔内に流し込み、前記第1連通孔を封止する封止工程と、
を有する蓄電モジュールの製造方法。
発明の詳細な説明
【技術分野】
【0001】
本発明は蓄電モジュールの製造方法に関する。
続きを表示(約 1,500 文字)
【背景技術】
【0002】
蓄電モジュールを製造する方法の一例が、特許文献1に開示されている。
【0003】
特許文献1に記載の蓄電モジュールの製造方法は、シール部材を有するモジュール本体と、ケースを有する圧力調整弁とを熱板溶着により接合して一体化する溶着工程を含む。溶着工程では、熱板本体、及び熱板本体に着脱自在に取り付けられた高熱伝導性の剛体からなる薄板状のカバープレートを備える熱板溶着装置を用いる。カバープレートの外表面にシール部材の接合用突起及びケースの接合用突起をそれぞれ当接させ、接合用突起がそれぞれ予め設定された溶融量だけ加熱溶融したときにカバープレートの外表面から接合用突起を離間させ、続いて接合用突起と接合用突起とを加圧接触させる。
【先行技術文献】
【特許文献】
【0004】
特開2020-173921号公報
【発明の概要】
【発明が解決しようとする課題】
【0005】
蓄電モジュールとしては、セパレータを介して積層方向に沿って積層された複数の電極を含むものが知られている。このような蓄電モジュールにおいて、電極積層体の側面には、積層方向に隣り合う電極間を封止する樹脂製の封止体が設けられ、隣り合う電極間に形成された内部空間に電解液が収容されている。
【0006】
この種の蓄電モジュールを製造する過程では、ケース等の封止体に設けられた注液孔を通して内部空間に電解液が注入される。そして、電解液の注入後、ラミネートフィルムや樹脂フィルム等のフィルム状の封止部材を用いて注液孔を封止する場合がある。フィルム状の封止部材を封止体に溶着する時、封止部材を加熱により溶融させて封止体に接合することが考えられる。
【0007】
一方で、このような封止部材を加熱すると、封止体の内部の空気が加熱されて内圧が上昇するため、封止体の内部の空気が溶融状態の封止部材を通して封止体の外部へ逃げやすくなる。この状態で冷却が行われると、封止部材と封止体との間に空気が取り残されてボイドが生じ得る。封止部材と封止体との間にボイドが発生すると、セパレータを介して互いに対面する一対の電極によって構成されるセル間を短絡させる虞があるという問題があった。
【0008】
本発明は、このような問題を解決するためになされたものであり、注液孔を封止する封止部材を溶着する時のボイドの発生を抑制してセル間の短絡を抑制した蓄電モジュールの製造方法を提供することを目的とするものである。
【課題を解決するための手段】
【0009】
一実施の形態にかかる蓄電モジュールの製造方法は、積層方向に沿って積層された複数の電極を含む電極積層体と、隣り合う電極間に形成される内部空間に連通する第1連通孔が形成されているとともに電極積層体の積層方向に沿う側面を囲むように設けられた樹脂製の第1封止部材と、第1連通孔に連通する第2連通孔が形成されているとともに第1封止部材の積層方向の外側面を囲むように設けられた樹脂製の第2封止部材とを準備する準備工程と、第1連通孔及び第2連通孔を通して電解液を内部空間に注入する注液工程と、第2封止部材を溶融させて第1連通孔内に流し込み、第1連通孔を封止する封止工程と、を有する。
【発明の効果】
【0010】
本発明により、注液孔を封止する封止部材を溶着する時のボイドの発生を抑制してセル間の短絡を抑制した蓄電モジュールの製造方法を提供することができる。
【図面の簡単な説明】
(【0011】以降は省略されています)
この特許をJ-PlatPat(特許庁公式サイト)で参照する
関連特許
トヨタ自動車株式会社
車両
6日前
トヨタ自動車株式会社
電池
13日前
トヨタ自動車株式会社
電池
4日前
トヨタ自動車株式会社
車両
4日前
トヨタ自動車株式会社
椅子
7日前
トヨタ自動車株式会社
車体
今日
トヨタ自動車株式会社
電池
14日前
トヨタ自動車株式会社
方法
7日前
トヨタ自動車株式会社
車両
11日前
トヨタ自動車株式会社
方法
7日前
トヨタ自動車株式会社
車両
12日前
トヨタ自動車株式会社
加熱器
11日前
トヨタ自動車株式会社
モータ
5日前
トヨタ自動車株式会社
電磁弁
7日前
トヨタ自動車株式会社
飛行体
4日前
トヨタ自動車株式会社
ケース
13日前
トヨタ自動車株式会社
電動車
14日前
トヨタ自動車株式会社
固定子
12日前
トヨタ自動車株式会社
電動車
7日前
トヨタ自動車株式会社
駆動装置
4日前
トヨタ自動車株式会社
乾燥装置
4日前
トヨタ自動車株式会社
判定装置
7日前
トヨタ自動車株式会社
蓄電装置
11日前
トヨタ自動車株式会社
塗工装置
12日前
トヨタ自動車株式会社
制御装置
13日前
トヨタ自動車株式会社
バッテリ
12日前
トヨタ自動車株式会社
制御装置
11日前
トヨタ自動車株式会社
充電設備
4日前
トヨタ自動車株式会社
端末装置
4日前
トヨタ自動車株式会社
蓄電装置
13日前
トヨタ自動車株式会社
通話装置
11日前
トヨタ自動車株式会社
路側装置
13日前
トヨタ自動車株式会社
搬送装置
4日前
トヨタ自動車株式会社
製造方法
4日前
トヨタ自動車株式会社
バッテリ
12日前
トヨタ自動車株式会社
製造装置
12日前
続きを見る
他の特許を見る