TOP
|
特許
|
意匠
|
商標
特許ウォッチ
Twitter
他の特許を見る
10個以上の画像は省略されています。
公開番号
2025149300
公報種別
公開特許公報(A)
公開日
2025-10-08
出願番号
2024049850
出願日
2024-03-26
発明の名称
プロジェクター及び電子機器
出願人
セイコーエプソン株式会社
代理人
弁理士法人樹之下知的財産事務所
主分類
G03B
21/14 20060101AFI20251001BHJP(写真;映画;光波以外の波を使用する類似技術;電子写真;ホログラフイ)
要約
【課題】メンテナンス時期を推定可能なプロジェクター及び電子機器を提供する。
【解決手段】プロジェクターは、外装筐体、ファン及び制御装置を備え、制御装置は、ファン制御部と、複数の相関パラメータに基づいてメンテナンス時期を推定する時期推定部と、報知部とを有し、複数の相関パラメータは、デューティ比と第1回転数とが対応する第1相関パラメータと、デューティ比と第2回転数とが対応する第2相関パラメータと、デューティ比と第3回転数とが対応する第3相関パラメータとを含み、時期推定部は、ファン駆動信号のデューティ比を取得し、ファンの現在回転数を取得し、デューティ比に対応する第2回転数を現在回転数が超えたか否かを判定し、第2回転数を超えると、ファンの回転数が第1回転数に到達した時点から第2回転数を超えた時点までの経過時間に基づいて、現在回転数が第3回転数に到達するまでの残時間をメンテナンス時期として推定する。
【選択図】図7
特許請求の範囲
【請求項1】
光源装置と、
前記光源装置から出射された光から画像光を形成する画像形成装置と、
前記画像光を投射する投射光学装置と、
吸気口及び排気口を有する外装筐体と、
前記外装筐体内に配置され、前記吸気口を介して前記外装筐体内に気体を導入し、導入した気体を前記外装筐体内にて流通させるファンと、
前記ファンを制御する制御装置と、を備え、
前記制御装置は、
パルス幅変調のデューティ比を変化させて前記ファンの動作を制御するファン制御部と、
前記ファン制御部から出力されるファン駆動信号のデューティ比と、前記ファンの回転数と、デューティ比と前記ファンの回転数とが対応する複数の相関パラメータと、に基づいて、メンテナンス時期を推定する時期推定部と、
推定された前記メンテナンス時期を報知する報知部と、を有し、
前記複数の相関パラメータは、
デューティ比と第1回転数とが対応する第1相関パラメータと、
デューティ比と前記第1回転数よりも高い第2回転数とが対応する第2相関パラメータと、
デューティ比と前記第2回転数よりも高い第3回転数とが対応する第3相関パラメータと、を含み、
前記時期推定部は、
前記ファン駆動信号のデューティ比である入力デューティ比を取得する入力デューティ比取得部と、
前記ファン駆動信号によって駆動される前記ファンの回転数を現在回転数として取得する現在回転数取得部と、
前記現在回転数が、前記入力デューティ比に対応する前記第2回転数を超えたか否かを判定する回転数判定部と、
前記回転数判定部によって前記現在回転数が前記第2回転数を超えたと判定されると、前記ファンの回転数が前記入力デューティ比に対応する前記第1回転数に到達した時点から、前記ファンの回転数が前記入力デューティ比に対応する前記第2回転数を超えた時点までの経過時間に基づいて、前記現在回転数が前記入力デューティ比に対応する前記第3回転数に到達するまでの残時間を前記メンテナンス時期として推定する残時間推定部と、を有する、
ことを特徴とするプロジェクター。
続きを表示(約 2,400 文字)
【請求項2】
請求項1に記載のプロジェクターにおいて、
前記複数の相関パラメータは、デューティ比と前記第1回転数よりも低い回転数とが対応する仮想相関パラメータを含む、
ことを特徴とするプロジェクター。
【請求項3】
請求項2に記載のプロジェクターにおいて、
前記残時間推定部は、前記現在回転数が前記入力デューティ比に対応する前記第2回転数を超えたタイミングまでの前記プロジェクターの累積動作時間に基づいて、前記現在回転数が前記入力デューティ比に対応する前記第1回転数に到達した時点から、前記現在回転数が前記入力デューティ比に対応する前記第2回転数を超えた時点までの前記経過時間を算出して、前記残時間を前記メンテナンス時期として推定する、
ことを特徴とするプロジェクター。
【請求項4】
請求項3に記載のプロジェクターにおいて、
前記制御装置は、前記光源装置の累積点灯時間を前記累積動作時間として計時する計時部を備える、
ことを特徴とするプロジェクター。
【請求項5】
請求項1に記載のプロジェクターにおいて、
前記制御装置は、前記現在回転数が前記入力デューティ比に対応する前記第1回転数に到達した時点から前記経過時間を計時する計時部を有し、
前記残時間推定部は、前記回転数判定部によって前記現在回転数が前記第2回転数を超えたと判定されると、前記計時部によって計時された前記経過時間に基づいて前記残時間を推定する、
ことを特徴とするプロジェクター。
【請求項6】
請求項1に記載のプロジェクターにおいて、
前記制御装置は、
前記光源装置の累積点灯時間を計時する計時部と、
前記現在回転数が前記入力デューティ比に対応する前記第1回転数に到達した時点の前記累積点灯時間を保持する累積時間保持部と、を備え、
前記残時間推定部は、前記現在回転数が前記入力デューティ比に対応する前記第2回転数を超えた時点の前記累積点灯時間から、前記累積時間保持部によって保持された前記累積点灯時間を減算して、前記経過時間を算出する、
ことを特徴とするプロジェクター。
【請求項7】
請求項1から請求項6のいずれか一項に記載のプロジェクターにおいて、
前記外装筐体内に配置された温度センサーを備え、
前記ファン制御部は、前記温度センサーによる検出結果に基づいて、前記ファンに出力される前記ファン駆動信号におけるデューティ比を調節する、
ことを特徴とするプロジェクター。
【請求項8】
請求項1から請求項6のいずれか一項に記載のプロジェクターにおいて、
前記第1相関パラメータ及び前記第2相関パラメータのそれぞれは、デューティ比に対応する前記ファンの実際の回転数に基づいて作成された数式である、
ことを特徴とするプロジェクター。
【請求項9】
請求項1から請求項6のいずれか一項に記載のプロジェクターにおいて、
前記吸気口に配置された塵埃捕捉部材を備え、
前記メンテナンス時期は、前記塵埃捕捉部材の交換又は清掃が必要となる時期である、
ことを特徴とするプロジェクター。
【請求項10】
吸気口及び排気口を有する外装筐体と、
前記吸気口に配置された塵埃捕捉部材と、
前記外装筐体内に配置された熱源と、
前記外装筐体内に配置され、前記吸気口を介して前記外装筐体内に気体を導入し、導入した気体を前記外装筐体内にて流通させるファンと、
前記ファンを制御する制御装置と、を備え、
前記制御装置は、
パルス幅変調のデューティ比を変化させて前記ファンの動作を制御するファン制御部と、
前記ファン制御部から出力されるファン駆動信号のデューティ比と、前記ファンの回転数と、デューティ比と前記ファンの回転数とが対応する複数の相関パラメータと、に基づいて、前記塵埃捕捉部材の交換時期及び清掃時期のうち少なくとも一方のメンテナンス時期を推定する時期推定部と、
推定された前記少なくとも一方のメンテナンス時期を報知する報知部と、を有し、
前記複数の相関パラメータは、
デューティ比と第1回転数とが対応する第1相関パラメータと、
デューティ比と前記第1回転数よりも高い第2回転数とが対応する第2相関パラメータと、
デューティ比と前記第2回転数よりも高い第3回転数とが対応する第3相関パラメータと、を含み、
前記時期推定部は、
前記ファン駆動信号のデューティ比である入力デューティ比を取得する入力デューティ比取得部と、
前記ファン駆動信号によって駆動される前記ファンの回転数を現在回転数として取得する現在回転数取得部と、
前記現在回転数が、前記入力デューティ比に対応する前記第2回転数を超えたか否かを判定する回転数判定部と、
前記回転数判定部によって前記現在回転数が前記第2回転数を超えたと判定されると、前記ファンの回転数が前記入力デューティ比に対応する前記第1回転数に到達した時点から、前記ファンの回転数が前記入力デューティ比に対応する前記第2回転数を超えた時点までの経過時間に基づいて、前記現在回転数が前記入力デューティ比に対応する前記第3回転数に到達するまでの残時間を前記少なくとも一方のメンテナンス時期として推定する残時間推定部と、を有する、
ことを特徴とする電子機器。
(【請求項11】以降は省略されています)
発明の詳細な説明
【技術分野】
【0001】
本開示は、プロジェクター及び電子機器に関する。
続きを表示(約 3,600 文字)
【背景技術】
【0002】
従来、プロジェクターには、筐体内に設けられた光源等の発熱源の温度上昇を抑制するために、筐体外から内部に導入した気体を流通させる冷却ファンが採用されている。
ここで、筐体の外気には塵埃が含まれるため、筐体の吸気口に塵埃捕捉用のフィルターを設け、これにより、筐体内に比較的清浄な気体を流通させている。一方、一般的に、冷却対象付近には温度センサーが設けられ、温度センサーによって検出された温度に基づいて、ファンの回転数は制御される。例えば、検出された温度が上昇すると、回転数を増加させる制御がファンに対して行われる。
【0003】
ところで、プロジェクターを長期間利用すると、フィルターに塵埃が付着して、フィルターに目詰まりが発生する。目詰まりが発生すると、筐体内への外気の導入量が低減されるので、冷却対象の冷却効率が低下し、冷却対象付近の温度が上昇する。このため、温度の上昇とともにファンの回転数が上昇されて、冷却効率が維持される。
しかしながら、フィルターの目詰まりが進行して、ファンの回転数を上限まで上昇させても冷却対象の温度が管理上限に達すると、プロジェクターの故障が発生する可能性が高くなる。このため、ユーザーにフィルターの掃除又は交換を促す報知機能を備えた装置が知られている(例えば特許文献1及び2参照)。
【0004】
特許文献1に記載のプロジェクターでは、フィルターとファンとの間を仕切る前室が筐体に設けられ、前室には、圧力センサーが設けられている。そして、圧力センサーによる検出結果に基づいてフィルターの詰まりが判定され、目詰まりがあると判定された場合で、プロジェクターの使用が中止される場合には、プロジェクターの電源がオフされたり、或いは、警告が報知されたりする。
【0005】
特許文献2に記載のファンフィルターユニットでは、エアフィルターの交換時期における送風機のモーターの駆動電流値と送風機の稼動時間との関係を予め測定しておき、当該関係にモーターの駆動電流値及び稼働時間を当てはめてエアフィルターの目詰まり状態が判別される。エアフィルターを交換する必要がある場合には、警告が表示される。
【先行技術文献】
【特許文献】
【0006】
特開2023-83725号公報
特開2007-83106号公報
【発明の概要】
【発明が解決しようとする課題】
【0007】
しかしながら、特許文献1に記載のプロジェクターでは、判定されるフィルターの詰まり状態は、現在の詰まり状態であるので、将来のフィルターの詰まり状態を予測するものでないという問題がある。
特許文献2に記載のファンフィルターユニットでは、エアフィルターを交換する必要があるタイミングとなってから警告が表示されるため、ファンフィルターユニットが設けられた電子機器の利用が中断されるという問題がある。また、特許文献2に記載のファンフィルターユニットでは、エアフィルターの交換時期における送風機のモーターの駆動電流値と送風機の稼動時間との関係を予め測定しているが、ファンには個体ばらつきがあることから、モーターの駆動電流値と送風機の稼動時間との関係をファンごとに調べる必要があり、煩雑な作業を要するという問題がある。
このため、簡易にメンテナンス時期を推定可能なプロジェクター及び電子機器の構成が要望されてきた。
【課題を解決するための手段】
【0008】
本開示の第1態様に係るプロジェクターは、光源装置と、前記光源装置から出射された光から画像光を形成する画像形成装置と、前記画像光を投射する投射光学装置と、吸気口及び排気口を有する外装筐体と、前記外装筐体内に配置され、前記吸気口を介して前記外装筐体内に気体を導入し、導入した気体を前記外装筐体内にて流通させるファンと、前記ファンを制御する制御装置と、を備え、前記制御装置は、パルス幅変調のデューティ比を変化させて前記ファンの動作を制御するファン制御部と、前記ファン制御部から出力されるファン駆動信号のデューティ比と、前記ファンの回転数と、デューティ比と前記ファンの回転数とが対応する複数の相関パラメータと、に基づいて、メンテナンス時期を推定する時期推定部と、推定された前記メンテナンス時期を報知する報知部と、を有し、前記複数の相関パラメータは、デューティ比と第1回転数とが対応する第1相関パラメータと、デューティ比と前記第1回転数よりも高い第2回転数とが対応する第2相関パラメータと、デューティ比と前記第2回転数よりも高い第3回転数とが対応する第3相関パラメータと、を含み、前記時期推定部は、前記ファン駆動信号のデューティ比である入力デューティ比を取得する入力デューティ比取得部と、前記ファン駆動信号によって駆動される前記ファンの回転数を現在回転数として取得する現在回転数取得部と、前記現在回転数が、前記入力デューティ比に対応する前記第2回転数を超えたか否かを判定する回転数判定部と、前記回転数判定部によって前記現在回転数が前記第2回転数を超えたと判定されると、前記ファンの回転数が前記入力デューティ比に対応する前記第1回転数に到達した時点から、前記ファンの回転数が前記入力デューティ比に対応する前記第2回転数を超えた時点までの経過時間に基づいて、前記現在回転数が前記入力デューティ比に対応する前記第3回転数に到達するまでの残時間を前記メンテナンス時期として推定する残時間推定部と、を有する。
【0009】
本開示の第2態様に係る電子機器は、吸気口及び排気口を有する外装筐体と、前記吸気口に配置された塵埃捕捉部材と、前記筐体内に配置された熱源と、前記外装筐体内に配置され、前記吸気口を介して前記外装筐体内に気体を導入し、導入した気体を前記外装筐体内にて流通させるファンと、前記ファンを制御する制御装置と、を備え、前記制御装置は、パルス幅変調のデューティ比を変化させて前記ファンの動作を制御するファン制御部と、前記ファン制御部から出力されるファン駆動信号のデューティ比と、前記ファンの回転数と、デューティ比と前記ファンの回転数とが対応する複数の相関パラメータと、に基づいて、前記塵埃捕捉部材の交換時期及び清掃時期のうち少なくとも一方のメンテナンス時期を推定する時期推定部と、推定された前記少なくとも一方のメンテナンス時期を報知する報知部と、を有し、前記複数の相関パラメータは、デューティ比と第1回転数とが対応する第1相関パラメータと、デューティ比と前記第1回転数よりも高い第2回転数とが対応する第2相関パラメータと、デューティ比と前記第2回転数よりも高い第3回転数とが対応する第3相関パラメータと、を含み、前記時期推定部は、前記ファン駆動信号のデューティ比である入力デューティ比を取得する入力デューティ比取得部と、前記ファン駆動信号によって駆動される前記ファンの回転数を現在回転数として取得する現在回転数取得部と、前記現在回転数が、前記入力デューティ比に対応する前記第2回転数を超えたか否かを判定する回転数判定部と、前記回転数判定部によって前記現在回転数が前記第2回転数を超えたと判定されると、前記ファンの回転数が前記入力デューティ比に対応する前記第1回転数に到達した時点から、前記ファンの回転数が前記入力デューティ比に対応する前記第2回転数を超えた時点までの経過時間に基づいて、前記現在回転数が前記入力デューティ比に対応する前記第3回転数に到達するまでの残時間を前記少なくとも一方のメンテナンス時期として推定する残時間推定部と、を有する。
【図面の簡単な説明】
【0010】
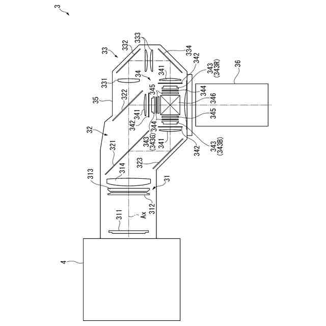
第1実施形態におけるプロジェクターの内部構成を示す模式図。
第1実施形態における画像投射装置の構成を示す模式図。
第1実施形態における光源装置の構成を示す模式図。
第1実施形態における制御装置の構成を示すブロック図。
第1実施形態におけるプロジェクターのファンに対する入力デューティ比と、塵埃捕捉部材の目詰まりレベルに応じたファン回転数との関係の一例を示すグラフ。
第1実施形態におけるメモリーに記憶された複数の相関パラメータの一例を示す図。
第1実施形態におけるプロセッサーの機能的構成を示すブロック図。
第1実施形態におけるメンテナンス時期推定処理を示すフローチャート。
第2実施形態におけるプロジェクターが備えるプロセッサーの構成を示すブロック図。
【発明を実施するための形態】
(【0011】以降は省略されています)
この特許をJ-PlatPat(特許庁公式サイト)で参照する
関連特許
株式会社シグマ
絞りユニット
22日前
キヤノン株式会社
撮像装置
21日前
日本精機株式会社
車両用投射装置
1日前
平和精機工業株式会社
雲台
1か月前
キヤノン株式会社
撮像装置
1か月前
キヤノン株式会社
撮像装置
15日前
株式会社リコー
画像形成装置
3か月前
株式会社リコー
画像形成装置
29日前
株式会社リコー
画像形成装置
2か月前
株式会社リコー
画像形成装置
1か月前
株式会社リコー
画像形成装置
1か月前
株式会社リコー
画像形成装置
11日前
株式会社リコー
画像形成装置
1か月前
株式会社リコー
画像形成装置
3か月前
シャープ株式会社
画像形成装置
1か月前
キヤノン株式会社
トナー
2日前
キヤノン株式会社
画像形成装置
2か月前
トヨタ自動車株式会社
撮像方法
3か月前
キヤノン株式会社
画像形成装置
2か月前
キヤノン株式会社
画像形成装置
2か月前
キヤノン株式会社
画像形成装置
2か月前
キヤノン株式会社
トナー
7日前
株式会社オプトル
プロジェクタ
14日前
キヤノン株式会社
トナー
3か月前
キヤノン株式会社
トナー
3か月前
キヤノン株式会社
画像形成装置
1か月前
株式会社オプトル
プロジェクタ
1か月前
キヤノン株式会社
画像形成装置
1か月前
キヤノン株式会社
トナー
1か月前
ブラザー工業株式会社
再生方法
1か月前
キヤノン株式会社
画像形成装置
1か月前
キヤノン株式会社
画像形成装置
2か月前
株式会社シグマ
絞り機構及びレンズ鏡筒
1か月前
アイホン株式会社
機器の設置構造
1か月前
興和株式会社
マウント構造
2か月前
アイホン株式会社
カメラシステム
1日前
続きを見る
他の特許を見る