TOP
|
特許
|
意匠
|
商標
特許ウォッチ
Twitter
他の特許を見る
10個以上の画像は省略されています。
公開番号
2025146886
公報種別
公開特許公報(A)
公開日
2025-10-03
出願番号
2025123330,2023103545
出願日
2025-07-23,2021-08-12
発明の名称
電池配送システム、及び電池配送方法
出願人
ヤマト運輸株式会社
代理人
弁理士法人きさらぎ国際特許事務所
主分類
G06Q
50/06 20240101AFI20250926BHJP(計算;計数)
要約
【課題】発電設備で発電された電力を有効に利用する電池配送システム及び電池配送方法を提供する。
【解決手段】電池配送システム100は、移動体を用いて発電設備10へ電池を配送する配送指示と、発電設備で充電された電池を移動体を用いて需要家へ配送する配送指示とを行う管理部(配送管理装置500)を備える。移動体(車両)は、宅配便システム50において荷物の配送に使用されるものであって、電池を荷物として配送し、荷物を配送する際の配送伝票が電池を配送する配送指示に対応し、電池を識別するための識別情報として電池を配送する際の配送伝票の伝票番号を用いる。
【選択図】図3
特許請求の範囲
【請求項1】
移動体を用いて発電設備へ電池を配送する配送指示と、前記発電設備で充電された前記電池を前記移動体を用いて需要家へ配送する配送指示とを行う管理部、
を備え、
前記移動体は、
宅配便システムにおいて荷物の配送に使用されるものであって、前記電池を前記荷物として配送し、
前記荷物を配送する際の配送伝票が前記電池を配送する配送指示に対応し、
前記電池を識別するための識別情報として前記電池を配送する際の配送伝票の伝票番号を用いる、
電池配送システム。
続きを表示(約 1,300 文字)
【請求項2】
前記管理部は、
少なくとも気象情報に基づいて複数の前記発電設備のそれぞれの発電量の予測を行い、前記発電量の予測に基づいて前記電池の配送先となる前記発電設備を決定し、配送先として決定した前記発電設備に前記電池を配送するための配送指示を行う、
請求項1に記載の電池配送システム。
【請求項3】
前記管理部は、
複数の前記需要家のそれぞれの前記電池の残容量に基づいて電力の需要予測を行い、前記需要予測に基づいて前記電池の配送先となる前記需要家を決定し、配送先として決定した前記需要家に前記発電設備で充電された前記電池を配送するための配送指示を行う、
請求項1または請求項2に記載の電池配送システム。
【請求項4】
前記管理部は、
前記発電設備に配送した前記電池を、前記電池の充電状況に基づいて集荷するための集荷指示を行う、
請求項1から請求項3のいずれか一項に記載の電池配送システム。
【請求項5】
前記管理部は、
前記発電設備から集荷された前記電池を所定の拠点に配送するための配送指示を行い、前記需要家に前記発電設備で充電された前記電池を配送する際に、前記発電設備から前記所定の拠点に配送された前記電池を前記需要家に配送するための配送指示を行う、
請求項4に記載の電池配送システム。
【請求項6】
前記管理部は、
前記発電設備で充電された前記電池を前記需要家に配送する際に、前記需要家で使用されていた前記電池を集荷するための集荷指示を行う、
請求項1から請求項5のいずれか一項に記載の電池配送システム。
【請求項7】
前記管理部は、
前記電池に位置情報及び充電量に関する情報を関連付けて管理する、
請求項1から請求項6のいずれか一項に記載の電池配送システム。
【請求項8】
前記発電設備は、
再生可能エネルギーを用いて発電を行い、
発電した電力を前記需要家へ送電線を介して送電する送電系統と、
発電した電力を前記電池に充電する充電系統と、
を備える請求項1から請求項7のいずれか一項に記載の電池配送システム。
【請求項9】
前記発電設備への前記電池の配送には買電価格に関する情報が設定されており、前記需要家への前記電池の配送には売電価格に関する情報が設定されている、
請求項1から請求項8のいずれか一項に記載の電池配送システム。
【請求項10】
電池配送システムにおけるコンピュータとしての管理部が実行する電池配送方法であって、
前記管理部が、
宅配便システムにおいて荷物の配送に使用される移動体を用いて発電設備へ電池を前記荷物として配送する配送指示を行うステップと、
前記発電設備で充電された前記電池を前記移動体を用いて需要家へ配送する配送指示を行うステップと、
を含み、
前記荷物を配送する際の配送伝票が前記電池を配送する配送指示に対応し、
前記電池を識別するための識別情報として前記電池を配送する際の配送伝票の伝票番号を用いる、
電池配送方法。
発明の詳細な説明
【技術分野】
【0001】
本発明は、電池配送システム、及び電池配送方法に関する。
続きを表示(約 1,600 文字)
【背景技術】
【0002】
再生可能エネルギーを用いた発電設備では、常に一定の発電量が得られるとは限らない。例えば太陽光発電では、時間帯や天候によって発電量が変わるため、発電量が少ない時間帯でも送電可能な電力を得られるように太陽光パネルが過積載されていることがある。そのため、発電量が多い時間帯では余剰電力が生じるため、余剰電力を電力事業者へ供給して売電することが行われている(例えば、特許文献1)
【先行技術文献】
【特許文献】
【0003】
特開2013-242827号公報
【発明の概要】
【発明が解決しようとする課題】
【0004】
しかしながら、電力事業者へ送電線を用いて供給できる電力量には限度があり、限度を超えて送電を行うと停電などの問題を引き起こす可能性がある。そのため、余剰電力が大きくなると送電できない電力が生じて電力ロスが発生している。
【0005】
本発明は上記した事情に鑑みてなされたもので、発電設備で発電された電力を有効に利用する電池配送システム、及び電池配送方法を提供することを目的の一つとする。
【課題を解決するための手段】
【0006】
本発明は上記の課題を解決するためになされたものであり、本発明の一態様は、移動体を用いて発電設備へ電池を配送する配送指示と、前記発電設備で充電された前記電池を前記移動体を用いて需要家へ配送する配送指示とを行う管理部、を備える電池配送システムである。
【0007】
また、本発明の一態様は、電池配送システムにおける電池配送方法であって、管理部が、移動体を用いて発電設備へ電池を配送する配送指示を行うステップと、前記発電設備で充電された前記電池を前記移動体を用いて需要家へ配送する配送指示を行うステップと、を含む電池配送方法である。
【発明の効果】
【0008】
本発明の上記態様によれば、発電設備で発電された電力を有効に利用することができる。
【図面の簡単な説明】
【0009】
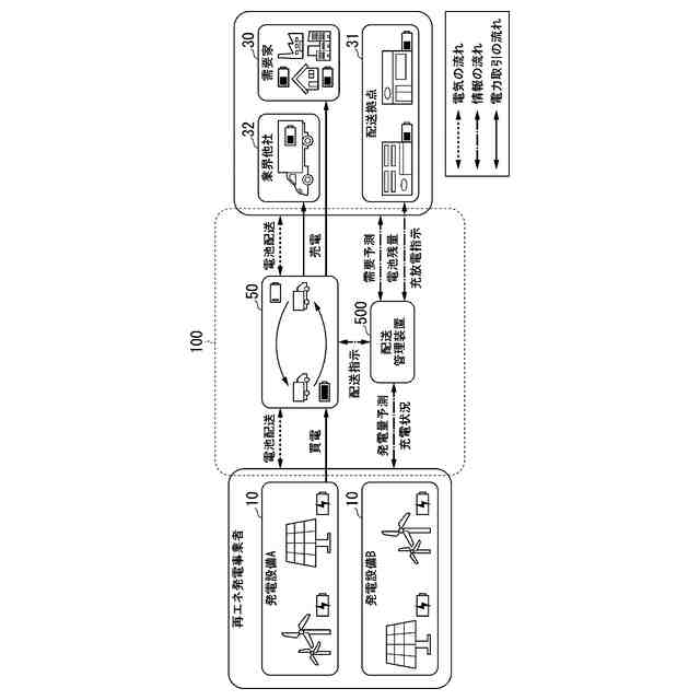
実施形態に係る電池配送システムの概要を示す図。
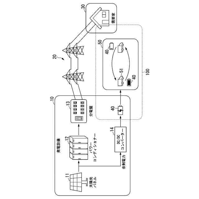
実施形態に係る発電設備における余剰電力の説明図。
実施形態に係る電池配送システムの構成の一例を示すブロック図。
実施形態に係る配送管理装置の構成の一例を示すブロック図。
実施形態に係る発電設備への配送指示処理の一例を示すフローチャート。
実施形態に係る発電設備からの集荷指示処理の一例を示すフローチャート。
実施形態に係る需要家への配送指示処理の一例を示すフローチャート。
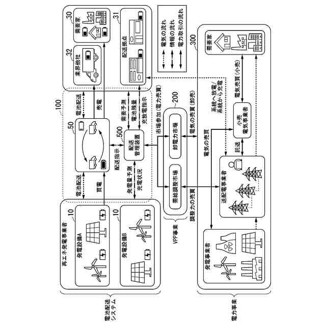
実施形態に係る電池宅配システムの電力市場への展開例を示す図。
実施形態に係る電池宅配システムによる事業への展開例を示す図。
【発明を実施するための形態】
【0010】
以下、図面を参照しながら本発明の実施形態について説明する。
[電池配送システムの概要]
まず、本実施形態に係る電池配送システムの概要について説明する。
図1は、本実施形態に係る電池配送システムの概要を示す図である。発電設備10は、再生可能エネルギーによる発電事業者が保有する発電設備である。ここでは、発電設備10は、太陽光発電を行う設備を例にして説明するが、風力、水力、地熱、バイオマスなどの再生可能エネルギーで発電を行う設備であってもよい。また、発電設備10は、再生可能エネルギー以外の発電を行う設備あってもよく、化石燃料による発電や原子力発電等を行う設備であってもよい。また設備は、各家庭での太陽光発電、小型水車、または車両等の発電装置が含まれてもよい。
(【0011】以降は省略されています)
この特許をJ-PlatPat(特許庁公式サイト)で参照する
関連特許
ヤマト運輸株式会社
情報処理装置、プログラム、情報処理方法及びシステム
3か月前
ヤマト運輸株式会社
電池配送システム、及び電池配送方法
4日前
個人
裁判のAI化
2か月前
個人
工程設計支援装置
1か月前
個人
地球保全システム
6日前
個人
フラワーコートA
2か月前
個人
介護情報提供システム
2か月前
個人
冷凍食品輸出支援構造
1か月前
個人
為替ポイント伊達夢貯
1か月前
個人
携帯情報端末装置
1か月前
個人
設計支援システム
2か月前
個人
表変換編集支援システム
26日前
個人
設計支援システム
2か月前
個人
知的財産出願支援システム
今日
個人
知財出願支援AIシステム
1か月前
個人
結婚相手紹介支援システム
1か月前
個人
AIによる情報の売買の仲介
1か月前
個人
パスワード管理支援システム
26日前
株式会社カクシン
支援装置
2か月前
個人
行動時間管理システム
28日前
個人
海外支援型農作物活用システム
18日前
株式会社キーエンス
受発注システム
5日前
株式会社アジラ
進入判定装置
1か月前
個人
AIキャラクター制御システム
26日前
株式会社キーエンス
受発注システム
5日前
個人
システム及びプログラム
19日前
個人
アンケート支援システム
2か月前
個人
食品レシピ生成システム
5日前
株式会社キーエンス
受発注システム
5日前
個人
パスポートレス入出国システム
1か月前
日本精機株式会社
施工管理システム
1か月前
サクサ株式会社
中継装置
26日前
個人
ジェスチャーパッドのガイド部材
2か月前
サクサ株式会社
中継装置
2か月前
キヤノン株式会社
表示システム
5日前
個人
未来型家系図構築システム
18日前
続きを見る
他の特許を見る