TOP
|
特許
|
意匠
|
商標
特許ウォッチ
Twitter
他の特許を見る
公開番号
2025145088
公報種別
公開特許公報(A)
公開日
2025-10-03
出願番号
2024045094
出願日
2024-03-21
発明の名称
中継装置、データ中継方法、及びプログラム
出願人
株式会社デンソー
代理人
名古屋国際弁理士法人
主分類
H04L
12/46 20060101AFI20250926BHJP(電気通信技術)
要約
【課題】通信速度の異なる複数のプロトコルが混在するダイアグ通信において、通信効率を向上させる技術を提供する。
【解決手段】プロトコル変換部22は、外部ツール4との通信に用いる第1プロトコルと、ECU3A,3Bとの通信に用いる第2プロトコルとの変換を相互に行う。アドレス変換部23は、変換テーブル231に従って、対ツールアドレスと対ECUアドレスとを相互に変換する。1つの外部ツール4には、複数の対ツールアドレスが割り当てられる。変換テーブル231は、速度関連情報によって識別される第2プロトコルの種類毎に、異なる対ツールアドレスが紐づけられるように設定される。
【選択図】図1
特許請求の範囲
【請求項1】
複数の電子装置間のデータ中継を行う中継装置であって、
第1電子装置(4)との通信に用いる第1プロトコルと、第2電子装置(3)との通信に用いる第2プロトコルとの変換を相互に行うように構成されたプロトコル変換部(22)と、
上位プロトコルにて、前記第1電子装置を示すために使用されるアドレス情報である対外アドレス及び対内アドレスを、相互に紐づける変換テーブル(231)に従って、前記第1電子装置から前記第2電子装置へのメッセージに示される前記対外アドレスを前記対内アドレスに変換すると共に、前記第2電子装置から前記第1電子装置へのメッセージに示される前記対内アドレスを、前記対外アドレスに変換するように構成されたアドレス変換部(23)と、
を備え、
1つの前記第1電子装置に、複数の前記対外アドレスが割り当てられ、
前記変換テーブルは、速度関連情報によって識別される前記第2プロトコルの種類毎に、異なる前記対外アドレスが紐づけられるように設定され、
前記速度関連情報は、前記第2プロトコルの種類を、通信速度の違いで識別する際に用いられる情報である、
中継装置。
続きを表示(約 2,000 文字)
【請求項2】
請求項1に記載の中継装置であって、
前記第1プロトコルにおいて前記上位プロトコルより下層で用いられる下位プロトコルのコネクションであって、一つの前記第1電子装置との接続に用いられ、それぞれが異なる前記対外アドレスに紐づけられた複数の下位コネクションを設定するように構成された接続部(21)を、更に備え、
前記速度関連情報に従って、前記接続部によって設定された前記下位コネクションを使い分けるように構成された
中継装置。
【請求項3】
請求項1に記載の中継装置であって、
前記速度関連情報として、前記第2電子装置が接続されている物理的なパスを特定する情報、及び前記第2プロトコルにおいて前記上位プロトコルより下層で用いられる下位プロトコルの情報のいずれかを用いるように構成された、
中継装置。
【請求項4】
請求項3に記載の中継装置であって、
前記下位プロトコルの情報は、TCP/UDPポート番号、IPアドレス、MACアドレス、CANID、及びCANチャンネル識別情報のいずれかを含む
中継装置。
【請求項5】
請求項1に記載の中継装置であって、
前記変換テーブルは、同一の前記第1電子装置に紐づけられる全ての前記対内アドレスが同じ値を有するように設定された
中継装置。
【請求項6】
請求項1に記載の中継装置であって、
前記アドレス変換部は、前記第1電子装置から受信する前記上位プロトコルのメッセージに示された送信元を示す前記対外アドレス、及び送信先にて使用される前記第2プロトコルの種類を特定する情報に従って、前記変換テーブルの内容を更新するように構成された
中継装置。
【請求項7】
請求項1に記載の中継装置であって、
前記第1プロトコルにおける前記上位プロトコルは、DoIPを含み、
前記第1プロトコルにおいて前記上位プロトコルより下層で用いられる下位プロトコルは、TCPを含む、
中継装置。
【請求項8】
請求項1に記載の中継装置であって、
前記第2プロトコルが、DoCAN、UDS、及びイーサネットのいずれかを含む、
中継装置。
【請求項9】
複数の電子装置間のデータ中継を行うデータ中継方法であって、
第1電子装置(4)との通信に用いる第1プロトコルと、第2電子装置(3)との通信に用いる第2プロトコルとの変換を相互に行うことと、
上位プロトコルにて、前記第1電子装置を示すために使用されるアドレス情報である対外アドレス及び対内アドレスを、相互に紐づける変換テーブル(231)に従って、前記第1電子装置から前記第2電子装置へのメッセージに示される前記対外アドレスを前記対内アドレスに変換すると共に、前記第2電子装置から前記第1電子装置へのメッセージに示される前記対内アドレスを、前記対外アドレスに変換することと、
を含み、
1つの前記第1電子装置に、複数の前記対外アドレスが割り当てられ、
前記変換テーブルは、速度関連情報によって識別される前記第2プロトコルの種類毎に、異なる前記対外アドレスが紐づけられるように設定され、
前記速度関連情報は、前記第2プロトコルの種類を、通信速度の違いで識別する際に用いられる情報である、
データ中継方法。
【請求項10】
コンピュータを、複数の電子装置間のデータ中継を行う中継装置として機能させるためのプログラムであって、
前記中継装置は、
第1電子装置(4)との通信に用いる第1プロトコルと、第2電子装置(3)との通信に用いる第2プロトコルとの変換を相互に行うように構成されたプロトコル変換部(22)と、
上位プロトコルにて、前記第1電子装置を示すために使用されるアドレス情報である対外アドレス及び対内アドレスを、相互に紐づける変換テーブル(231)に従って、前記第1電子装置から前記第2電子装置へのメッセージに示される前記対外アドレスを前記対内アドレスに変換すると共に、前記第2電子装置から前記第1電子装置へのメッセージに示される前記対内アドレスを、前記対外アドレスに変換するように構成されたアドレス変換部(23)と、
を備え、
1つの前記第1電子装置に、複数の前記対外アドレスが割り当てられ、
前記変換テーブルは、速度関連情報によって識別される前記第2プロトコルの種類毎に、異なる前記対外アドレスが紐づけられるように設定され、
前記速度関連情報は、前記第2プロトコルの種類を、通信速度の違いで識別する際に用いられる情報である、
プログラム。
発明の詳細な説明
【技術分野】
【0001】
本開示は、プロトコルの異なるネットワーク間を中継する技術に関する。
続きを表示(約 1,900 文字)
【背景技術】
【0002】
下記特許文献1には、中継装置とECUとの間の通信に、通信速度の異なる複数種類のプロトコルを用いる車載システムが記載されている。
【先行技術文献】
【特許文献】
【0003】
特開2014-078801号公報
【発明の概要】
【発明が解決しようとする課題】
【0004】
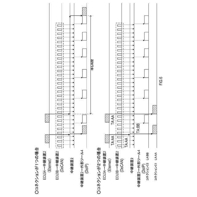
車載システムでは、外部ツールと中継装置との接続にイーサネットが用いられ、診断対象となる複数のECUと中継装置との接続に、イーサネットとCANとが混在する場合がある。イーサネット及びCANは登録商標である。イーサネットにおけるダイアグ通信は、例えばDoIPが知られており、CANにおけるダイアグ通信は、例えばDoCANが知られている。DoIPでは1フレームで送信できる長さのデータであっても、DoCANでは複数フレームに分割して送信する必要がある。
【0005】
ところで、DoIPの規格では、機器の識別に用いられるロジカルアドレス1つにつき、TCPコネクションが一つに限定されている。つまり、外部ツールに対応づけられるTCPコネクションは、あるECUが一連のデータ転送を開始すると、その一連のデータ転送が完了するまで、他のECUのデータ転送を開始することができない。
【0006】
従って、CANにて中継装置に接続されたECUによる中継が開始されると、より高速なイーサネットにて中継装置に接続されたECUによる中継が開始されるまでの待ち時間が長くなるという課題があった。
【0007】
本開示の1つの局面は、通信速度の異なる複数種類のプロトコルが混在するダイアグ通信において、通信効率を向上させる技術を提供する。
【課題を解決するための手段】
【0008】
本開示の一態様は、複数の電子装置間のデータ中継を行う中継装置であって、プロトコル変換部(22)と、アドレス変換部(23)と、を備える。プロトコル変換部は、第1電子装置(4)との通信に用いる第1プロトコルと、第2電子装置(3)との通信に用いる第2プロトコルとの変換を相互に行うように構成される。アドレス変換部は、変換テーブル(231)に従って、第1電子装置から第2電子装置へのメッセージに示される対外アドレスを対内アドレスに変換すると共に、第2電子装置から第1電子装置へのメッセージに示される対内アドレスを、対外アドレスに変換するように構成される。変換テーブルは、上位プロトコルにて、第1電子装置を示すために使用されるアドレス情報である外用ドレス及び対内アドレスを相互に紐づける。1つの第1電子装置に、複数の対外アドレスが割り当てられる。変換テーブルは、速度関連情報によって識別される第2プロトコルの種類毎に、異なる対外アドレスが紐づけられるように設定される。速度関連情報は、第2プロトコルの種類を、通信速度の違いで識別する際に用いられる情報である。
【0009】
このような構成によれば、通信速度の異なる複数種類のプロトコルが混在するダイアグ通信において、通信効率を向上させることができる。
本開示の一態様は、複数の電子装置間のデータ中継を行うデータ中継方法である。データ中継方法は、第1電子装置(4)との通信に用いる第1プロトコルと、第2電子装置(3)との通信に用いる第2プロトコルとの変換を相互に行うことを含む。データ中継方法は、変換テーブル(231)に従って、第1電子装置から第2電子装置へのメッセージに示される対外アドレスを対内アドレスに変換すると共に、第2電子装置から第1電子装置へのメッセージに示される対内アドレスを、対外アドレスに変換することを含む。変換テーブルは、上位プロトコルにて、第1電子装置を示すために使用されるアドレス情報である対外アドレス及び対内アドレスを紐づける。1つの第1電子装置に、複数の対外アドレスが割り当てられる。変換テーブルは、速度関連情報によって識別される第2プロトコルの種類毎に、異なる対外アドレスが紐づけられるように設定される。速度関連情報は、第2プロトコルの種類を、通信速度の違いで識別する際に用いられる情報である。このような方法を実施することにより、上述の中継装置と同様の効果を得ることができる。
【0010】
本開示の一態様は、コンピュータを、上述の中継装置として機能させるためのプログラムである。このようなプログラムを実行することにより、上述の中継装置と同様の効果を得ることができる。
【図面の簡単な説明】
(【0011】以降は省略されています)
この特許をJ-PlatPat(特許庁公式サイト)で参照する
関連特許
株式会社デンソー
車載器
2日前
株式会社デンソー
携帯機
1か月前
株式会社デンソー
接合体
16日前
株式会社デンソー
通信装置
1か月前
株式会社デンソー
送電装置
1か月前
株式会社デンソー
電子装置
1か月前
株式会社デンソー
ステータ
17日前
株式会社デンソー
ステータ
17日前
株式会社デンソー
電子装置
6日前
株式会社デンソー
ステータ
1か月前
株式会社デンソー
電子装置
1か月前
株式会社デンソー
光学部材
2か月前
株式会社デンソー
ステータ
1か月前
株式会社デンソーエレクトロニクス
発音装置
24日前
株式会社デンソー
電子装置
1か月前
株式会社デンソー
通信装置
2か月前
株式会社デンソーウェーブ
携帯端末
1か月前
株式会社デンソー
電子機器
1か月前
株式会社デンソー
圧電素子
2か月前
株式会社デンソー
駆動装置
2か月前
株式会社デンソー
駆動装置
2か月前
株式会社デンソー
電子装置
2か月前
株式会社デンソー
太陽電池
18日前
株式会社デンソー
ねじ部材
2日前
株式会社デンソーエレクトロニクス
発音装置
6日前
株式会社デンソー
光学部材
27日前
株式会社デンソー
ステータ
2日前
株式会社デンソー
駆動装置
1か月前
株式会社デンソー
ステータ
2日前
株式会社デンソー
電子装置
1か月前
株式会社デンソー
受電装置
2か月前
株式会社デンソー
電源装置
2か月前
株式会社デンソー
駆動装置
2か月前
株式会社デンソー
平滑回路
26日前
株式会社デンソー
書込装置
1か月前
株式会社デンソー
測距装置
1か月前
続きを見る
他の特許を見る