TOP
|
特許
|
意匠
|
商標
特許ウォッチ
Twitter
他の特許を見る
10個以上の画像は省略されています。
公開番号
2025141960
公報種別
公開特許公報(A)
公開日
2025-09-29
出願番号
2025046173,2024039522
出願日
2025-03-21,2024-03-14
発明の名称
物体検知装置、物体検知方法及び物体検知プログラム
出願人
三菱電機デジタルイノベーション株式会社
代理人
弁理士法人クロスボーダー特許事務所
主分類
G06T
7/00 20170101AFI20250919BHJP(計算;計数)
要約
【課題】点群データを用いた場合における推論処理の演算量を少なくできるようにする。
【解決手段】点群取得部21は、対象領域に対して光を照射して反射点で反射した反射光を受信することにより得られた点群データを取得する。差分計算部23は、取得された前記点群データと、基準となる点群データとの差分である差分データを特定する。領域決定部24は、差分データをクラスタリングして得られたクラスタ領域に応じた領域を検知領域として決定する。物体検知部25は、検知領域についての点群データを物体検知モデルに入力して検知結果を取得する。
【選択図】図1
特許請求の範囲
【請求項1】
対象領域に対して光を照射して反射点で反射した反射光を受信することにより得られた点群データを取得する点群取得部と、
前記点群取得部によって取得された前記点群データと、基準となる点群データとの差分である差分データを特定する差分特定部と、
前記差分特定部によって特定された前記差分データをクラスタリングして得られたクラスタ領域を周囲に基準範囲だけ広げた拡張領域を検知領域として決定する領域決定部と、
前記領域決定部によって決定された前記検知領域についての前記点群取得部によって取得された前記点群データを物体検知モデルに入力して検知結果を取得する物体検知部と
を備える物体検知装置。
続きを表示(約 760 文字)
【請求項2】
前記領域決定部は、複数のクラスタ領域が存在しており、前記複数のクラスタ領域の間で、周囲に基準範囲だけ広げた拡張領域の一部が重複する場合には、前記複数のクラスタ領域についての前記拡張領域をマージしたマージ領域を前記検知領域として決定する
請求項1に記載の物体検知装置。
【請求項3】
コンピュータが、対象領域に対して光を照射して反射点で反射した反射光を受信することにより得られた点群データを取得し、
コンピュータが、取得された前記点群データと、基準となる点群データとの差分である差分データを特定し、
コンピュータが、前記差分データをクラスタリングして得られたクラスタ領域を周囲に基準範囲だけ広げた拡張領域を検知領域として決定し、
コンピュータが、前記検知領域についての取得された前記点群データを物体検知モデルに入力して検知結果を取得する物体検知方法。
【請求項4】
対象領域に対して光を照射して反射点で反射した反射光を受信することにより得られた点群データを取得する点群取得処理と、
前記点群取得処理によって取得された前記点群データと、基準となる点群データとの差分である差分データを特定する差分特定処理と、
前記差分特定処理によって特定された前記差分データをクラスタリングして得られたクラスタ領域を周囲に基準範囲だけ広げた拡張領域を検知領域として決定する領域決定処理と、
前記領域決定処理によって決定された前記検知領域についての前記点群取得処理によって取得された前記点群データを物体検知モデルに入力して検知結果を取得する物体検知処理と
を行う物体検知装置としてコンピュータを機能させる物体検知プログラム。
発明の詳細な説明
【技術分野】
【0001】
本開示は、点群データを用いて対象物を検知する技術に関する。
続きを表示(約 1,900 文字)
【背景技術】
【0002】
可視光カメラを用いて置去物等の物体を検知する技術がある。可視光カメラを用いて物体を検知する場合には、夜間のように光量が不足する環境と、可視光カメラに直射日光が差し込みフレアが発生する環境とでは、物体を適切に検知できない。
【0003】
照射光を照射して反射点で反射した反射光を受信することにより点群データを収集するLiDARといった光センサがある。LiDARは、Light Detection And Rangingの略である。光センサでは、夜間のように光量が不足する環境と、可視光カメラに直射日光が差し込みフレアが発生する環境とにおいても、点群データを得ることが可能である。そこで、光センサを用いて得られた点群データに基づき対象物を検知することが検討されている。
【0004】
特許文献1には、メモリに保持された背景点群データと、現時点の点群データとを比較して、差が生じた場合に何かしらの物体が現れたと識別することが記載されている。
【先行技術文献】
【特許文献】
【0005】
特開2020-118619号公報
【発明の概要】
【発明が解決しようとする課題】
【0006】
光センサを用いて得られた点群データは、可視光カメラを用いて得られた画像データに比べてデータ量が多い。そのため、点群データを入力として、特定の物体を検知する深層学習モデルの推論処理を行うと、推論処理の演算量が多くなり、高価なハードウェアが必要になってしまう。
本開示は、点群データを用いた場合における推論処理の演算量を少なくできるようにすることを目的とする。
【課題を解決するための手段】
【0007】
本開示に係る物体検知装置は、
対象領域に対して光を照射して反射点で反射した反射光を受信することにより得られた点群データを取得する点群取得部と、
前記点群取得部によって取得された前記点群データと、基準となる点群データとの差分である差分データを特定する差分特定部と、
前記差分特定部によって特定された前記差分データをクラスタリングして得られたクラスタ領域を周囲に基準範囲だけ広げた拡張領域を検知領域として決定する領域決定部と、
前記領域決定部によって決定された前記検知領域についての前記点群データを物体検知モデルに入力して検知結果を取得する物体検知部と
を備える。
【発明の効果】
【0008】
本開示では、差分データをクラスタリングして得られたクラスタ領域に応じた領域を検知領域として決定し、検知領域を物体検知モデルに入力して検知結果を取得する。これにより、物体検知モデルに入力されるデータ量を抑えることが可能になり、点群データを用いた場合における推論処理の演算量を少なくすることが可能になる。
【図面の簡単な説明】
【0009】
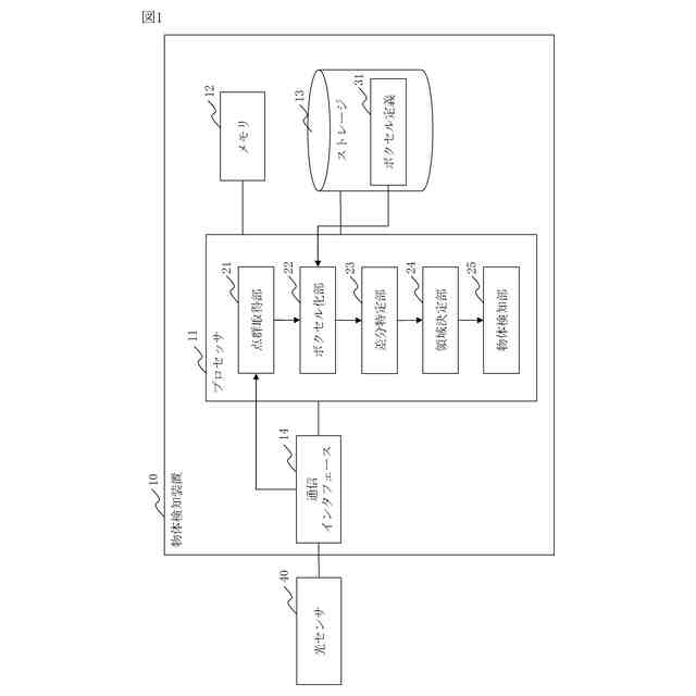
実施の形態1に係る物体検知装置10の構成図。
実施の形態1に係るボクセル定義31の説明図。
実施の形態1に係る物体検知装置10の処理の流れを示すフローチャート。
実施の形態1に係るボクセル化処理の説明図。
実施の形態1に係る差分特定処理の説明図。
実施の形態1に係る検知領域46を決定する方法1の説明図。
実施の形態1に係る検知領域46を決定する方法1の説明図。
実施の形態1に係る検知領域46を決定する方法2の説明図。
変形例1に係る差分特定処理の説明図。
変形例2に係る差分特定処理の説明図。
実施の形態2に係る物体検知処理の説明図。
実施の形態3に係る物体検知処理の説明図。
変形例5に係る物体検知処理の説明図。
【発明を実施するための形態】
【0010】
実施の形態1.
***構成の説明***
図1を参照して、実施の形態1に係る物体検知装置10の構成を説明する。
物体検知装置10は、コンピュータである。
物体検知装置10は、プロセッサ11と、メモリ12と、ストレージ13と、通信インタフェース14とのハードウェアを備える。プロセッサ11は、信号線を介して他のハードウェアと接続され、これら他のハードウェアを制御する。
(【0011】以降は省略されています)
この特許をJ-PlatPat(特許庁公式サイト)で参照する
関連特許
個人
工程設計支援装置
1か月前
個人
フラワーコートA
2か月前
個人
地球保全システム
9日前
個人
QRコードの彩色
今日
個人
冷凍食品輸出支援構造
1か月前
個人
為替ポイント伊達夢貯
1か月前
個人
携帯情報端末装置
1か月前
個人
表変換編集支援システム
29日前
個人
残土処理システム
2日前
個人
知財出願支援AIシステム
1か月前
個人
結婚相手紹介支援システム
1か月前
個人
知的財産出願支援システム
3日前
個人
AIによる情報の売買の仲介
1か月前
個人
パスワード管理支援システム
29日前
個人
行動時間管理システム
1か月前
個人
海外支援型農作物活用システム
21日前
個人
AIキャラクター制御システム
29日前
個人
システム及びプログラム
22日前
株式会社キーエンス
受発注システム
8日前
日本精機株式会社
施工管理システム
1か月前
個人
パスポートレス入出国システム
1か月前
株式会社アジラ
進入判定装置
1か月前
個人
食品レシピ生成システム
8日前
株式会社キーエンス
受発注システム
8日前
個人
アンケート支援システム
2か月前
株式会社キーエンス
受発注システム
8日前
個人
冷凍加工連携型農場運用システム
1か月前
個人
SaaS型勤務調整支援システム
29日前
個人
音声対話型帳票生成支援システム
29日前
大阪瓦斯株式会社
住宅設備機器
1か月前
サクサ株式会社
中継装置
2か月前
個人
人格進化型対話応答制御システム
29日前
個人
ジェスチャーパッドのガイド部材
2か月前
個人
社会還元・施設向け供給支援構造
29日前
個人
音声・通知・再配達UX制御構造
3日前
サクサ株式会社
中継装置
29日前
続きを見る
他の特許を見る