TOP
|
特許
|
意匠
|
商標
特許ウォッチ
Twitter
他の特許を見る
公開番号
2025141725
公報種別
公開特許公報(A)
公開日
2025-09-29
出願番号
2024059820
出願日
2024-03-14
発明の名称
企業の事業化計画や学術論文に対して、生成AIと事業化評価スコアを用いて事業化の判定評価を行う方法及びこの方法を用いたクラウド対応型の事業化判定支援システム
出願人
株式会社アイアイビー
代理人
個人
主分類
G06Q
10/0637 20230101AFI20250919BHJP(計算;計数)
要約
【課題】生成AIを用いて、企業の事業化計画や学術論文に対する事業化評価判定を行う方法と、その方法を実施するためのクラウド型事業化判定支援システムを提供する。
【解決手段】生成AIと事業化評価スコアを用いて、企業の事業化判定評価を行わせる方法であって、対象企業の事業化計画に関して、予め準備された評価基準情報毎に評価点を配した事業化評価スコアを準備するステップと、前記生成AIに対して、前記事業化評価スコアの評価基準情報に配点された評価点と、必要な質問や指示命令を入力して学習させるステップと、前記生成AIに対して、前記事業化計画に関する事業化評価を作成させて、文字または音声で出力させるステップとを備えている。また、通信端末から事業化評価の判定が出来るクラウド型事業化判定支援システムを同時に提案している。
【選択図】図1
特許請求の範囲
【請求項1】
生成AIと事業化評価スコアを用いて、企業の事業化判定評価を行わせる方法であって、
対象企業の事業化計画に関して、予め準備された評価基準情報毎に評価点を配した事業化評価スコアを準備するステップと、
前記生成AIに対して、前記事業化評価スコアの評価基準情報に配点された評価点と、必要な質問や指示命令を入力して学習させるステップと、
前記生成AIに対して、前記事業化計画に関する事業化評価を作成させて、文字または音声で出力させるステップとを備えたことを特徴とする、生成AIを用いた企業の事業化判定方法。
続きを表示(約 1,200 文字)
【請求項2】
生成AIと事業化評価スコアを用いて、学術論文の事業化判定評価を行わせる方法であって、
学術論文に関して、予め準備された評価基準情報毎に評価点を配した事業化評価スコアを準備するステップと、
前記生成AIに対して、前記学術論文を入力するステップと、
前記生成AIに対して、事業化評価スコアの評価基準情報に配点された評価点と、必要な質問や指示命令を入力して学習させるステップと、
前記生成AIに対して、前記学術論文に関する事業化評価を作成させて、文字または音声で出力させるステップとを備えたことを特徴とする、生成AIを用いた学術論文の事業化判定方法
【請求項3】
請求項1において、
前記事業化評価スコアは、前記評価基準情報として、
製品・技術の評価、市場分析、知的財産による差別化、事業化計画、コンプラ整備、戦略の策定を、大項目として含んでいる、生成AIを用いた、企業の事業化判定方法。
【請求項4】
請求項2において、
前記事業化評価スコアは、前記評価基準情報として、
製品・技術の評価、市場分析、知的財産による差別化、事業化計画、コンプラ整備、戦略の策定を、大項目として含んでいる、生成AIを用いた、学術論文の事業化判定方法。
【請求項5】
請求項1において、
前記生成AIが作成した企業の事業化評価に基づいて、事業化評価レポートを編集作成するステップを更に備えたことを特徴とする、企業の事業化判定方法。
【請求項6】
請求項2において、
前記生成AIが作成した学術論文の事業化評価に基づいて、事業化評価レポートを編集作成するステップを更に備えたことを特徴とする、学術論文の事業化判定方法。
【請求項7】
クラウド接続型の事業化判定支援システムであって、
事業化評価スコアと、サーバ装置とを組み合わせて構成され、
前記事業化評価スコアは、予め準備された評価基準情報毎に評価点を配したものであり、
前記サーバ装置は、ウエブ上に設置されて、通信端末からログイン可能とされ、
通信制御部、プログラム処理部、生成AI処理部を備えており、
前記生成AI処理部は、前記通信端末から送られて来る企業の事業化計画や学術論文に関する前記事業化評価スコアの配点と、質問や必要な指示命令を受信解読して学習して、企業の事業化計画や学術論文に対する事業化評価を文字または音声で出力する構成にしている、クラウド接続型の事業化支援検索システム。
【請求項8】
請求項1において、
前記サーバ装置は、更に事業化評価レポート生成部を備えており、
前記事業化評価レポート生成部は、前記生成AI処理部が判定した事業化判定結果に基づいて、企業の事業化計画や学術論文に関する事業化評価レポートを出力する機能を備えている、クラウド接続型の事業化支援検索システム。
発明の詳細な説明
【技術分野】
【0001】
本発明は、生成AIと事業化評価スコアを用いて、企業の事業化や学術論文の判定評価を行う方法及びこの方法を用いたクラウド対応型の事業化判定支援システムに関する。
続きを表示(約 4,000 文字)
【背景技術】
【0002】
次の特許文献には、生成AIを用いて、生成AIに判定させる技術が開示され、提案されている。
【先行技術文献】
【特許文献】
【0003】
特許第7097945号公報
特開2018-24340号公報
特開2023-166041号公報
特開2024-16211号公報
【発明の概要】
【発明が解決しようとする課題】
【0004】
しかしながら、特許文献1は、要介護認定支援方法に関したものであり、特許文献2は、運転性向を判定するものであり、特許文献3は、人体の肌を解析するものであり、特許文献4は、外科医によって行われた手術内容を評価判定するものである。したがって、生成AIを、立案した事業化計画や学者が作成した学術論文に基づいて、事業化を評価するような技術は存在しない。これに対して本発明は、最先端の生成AI技術を活用して、事業化計画や学術論文の評価の判断をさせる方法及びそれを、インターネットなどの通信網に接続された通信端末を用いて簡易に実行できるクラウド対応型の事業化判定システムを提供することを目的としている。
【課題を解決するための手段】
【】
【発明の効果】
【0005】
本発明によれば、事業化評価スコアを用いて、その評価点と質問や必要な指示命令を生成AIに入力することで、生成AIに文書や音声によって迅速に事業化評価を行わせ、アドバイスを得ることが出来る。
また、生成AIが行った事業化判定やアドバイスに基づいて、事業化判定レポートを生成させ、出力させることが出来るので、生成AIによる情報収集、分析力を用いて、迅速な対応ができる。見落としのない評価が迅速に出来る。
クラウド対応型の事業化判定支援システムによれば、評価者は、通信端末を通じて、サーバ装置にログインして、
事業化評価スコアの配点と、質問や必要な指示命令をすることで、その場で生成AIによる事業評価を文書や音声で出力させることができ、必要な場合には、事業化判定レポートを生成させ、文書形式で出力させることが出来る。
【図面の簡単な説明】
【0006】
本発明のクラウド対応型の事業化判定支援システムの概要を示す機能ブロック図である。
事業化評価スコアの基本構成を示す説明図である。
事業化評価スコアの使用例を示す説明図である
本発明の事業化計画の事業化判定方法における基本手順を示すフロー図である。
本発明の学術論文の事業化判定方法における基本手順を示すフロー図である。
事業化評価判定レポートの一例を示す図である。
【0007】
以下、本発明の実施例を説明する。
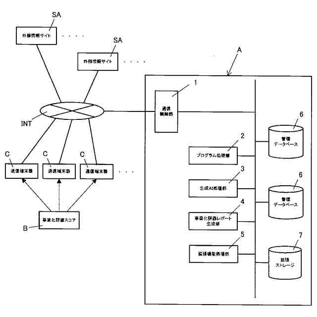
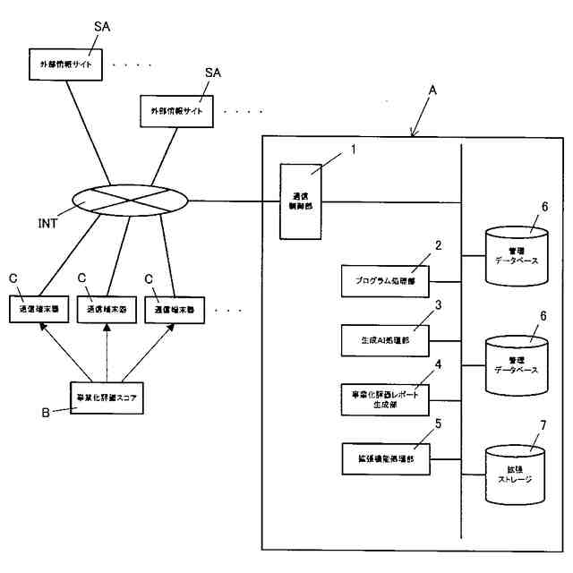
図1は、クラウド接続型の事業化判定支援システムの概要を、機能ブロックを組み合わせた構成として示している。
サーバ装置Aは、インターネットINTに接続され、インターネットINTには外部情報サイトSA・・・が接続され、更に利用者の通信端末器C・・・が接続されている。
外部情報サイトSAは、公開可能な情報を保持したデータベースを備えており、それぞれには、ニュース、時事情報、統計、経済、学術、文芸、音楽、娯楽など事業化評価に必要なあらゆる情報が保存されている。
サーバ装置Aは、インターネットINTに接続された通信制御部1、プログラム処理部2、生成AI処理部3、事業化評価レポート生成部4、拡張機能処理部5、情報管理データベース6・・・、拡張ストレージ7を備えている。
ここに、通信制御部1は、通信端末器C・・・、外部サイトSA・・・とインターネットINTを通じた、必要な通信制御を行う。プログラム処理部2は、通信制御部1、生成AI処理部3、事業化評価レポート生成部4、拡張機能処理部5の他、情報管理データベース6、拡張ストレージ7を稼働するために必要な情報処理を行う。
生成AI処理部3は、評価者の通信端末器C・・・から、事業化評価スコアBを用いて、送られて来たコマンドやメッセージを解読し学習することで、生成AIによる事業化評価を行い、それを文書や音声で出力する。
事業化評価レポート生成部4は、生成AI処理部3が判定し、作成した事業化評価を所定の様式にまとめあげて、後述する事業化評価レポートとして編集し、作成する。
また、拡張機能処理部5、外部サイトのURLなどを格納した管理データベース6、拡張ストレージ7は、利用者の通信端末器C・・・から送られて来たコマンドやメッセージを迅速に解読し学習するために必要な情報処理を行っている。
【0008】
図2は本発明で使用される事業化評価スコアの基本構成を示している。
このスコアは、主欄として、以下に記した6つの大項目I~VIが設けられ、それぞれの大項目I~VIには▲1▼~▲4▼に示す小項目を設けている。
また、主欄の右側には、6つの大項目I~VIの配点の平均点を書き込む大項目の配点欄を設けている。
ここに、この事業化評価スコアBは、本発明者が生成AIに事業化評価を判断させるために鋭意検討の結果、創作されたものであるが、生成AIが用語の意味を誤解なく正しく理解出来るようにするために、大項目、小項目に使用する用語は、一般に経済学などの事業化分析に使用されているものを選択している。
事業化評価スコアの6大項目
I 製品.技術の評価
II 市場分析
III 特許および知的財産の強度
IV 事業化計画
V 法律および規制の検討
VI 戦略策定
事業化評価スコアの6大項目に対する小項目
I 製品.技術の評価
▲1▼ 独自性
▲2▼ 革新性
▲3▼ 技術的成熟度
▲4▼ 技術移転成功率
II 市場分析
▲1▼ 市場サイズ
▲2▼ 市場の成長率
▲3▼ 市場の飽和度
▲4▼ 新規参入の難易度
III 特許および知的財産の強度
▲1▼ 特許の引用数
▲2▼ 特許の存続更新
▲3▼ 特許の独立クレームの数
▲4▼ 訴訟履歴
IV 事業化計画
▲1▼ コスト(製品開発・製造・マーケティング・流通等の全コスト)
▲2▼ 初期投資や運転資本
▲3▼ 収益性の予測(収益モデル・売上・利益率・損益分岐点)
▲4▼ 技術移転成功率
V 法律および規制の検討
▲1▼ 特許の有効性
▲2▼ 知的財産権の範囲
▲3▼ 関連する法的・規制上の課題
▲4▼ 特許侵害のリスクやライセンス契約の可能性
VI 戦略策定
▲1▼ 製品のポジショニング
▲2▼ 差別化戦略
▲3▼ 市場への参入戦略
【0009】
本発明では、生成AIとスコアとを組み合わせて使用することで、外部サイトから事業化判定に必要な情報を取り込んで学習した生成AIによって、事業化評価を迅速に行い、アドバイスを得ることが出来る。
【0010】
事業化評価スコアについて
評価者は、まず、対象にすべき企業の事業計画や学術論文を読み込み、事業化評価スコアBを表形式で準備する。そして、読み取った事業計画書に対して、大項目のそれぞれの小項目の点数欄に、みずから判断した評価点を100点を満点として記入する。
例えば、図3の例では、評価者が読み取った事業化計画に対して、事業化評価スコアBは、製品・製造技術は、▲1▼独自性が60点、▲2▼革新性が70点、▲3▼技術的成熟度が70点、▲4▼技術移転成功率が80点に評点した結果、平均の70点になっており、市場分析は、▲1▼市場サイズが70点、▲2▼市場の成長率が80点、▲3▼市場度飽和度が60点、▲4▼市場参入の難易度が70点に評点した結果、70点になっており、特許および知的財産権の強度は、▲1▼特許の引用数が60点、▲2▼特許の存続更新が70点、▲3▼特許の独立クレームの数が70点、▲4▼訴訟履歴が80点に評点した結果、70点になっている。
また、事業化計画は、▲1▼コストが60点、▲2▼初期投資や運転資本が70点、▲3▼収益性の予測が70点に評点した結果、70点になっており、法律および規制の検討は、▲1▼特許の有効性が60点、▲2▼知的財産の範囲が80点、▲3▼関連する法的・規制上の課題が70点、特許侵害のリスクやライセンス契約の可能性が60点に評点した結果、70点になっており、戦略策定は、▲1▼製品のポジショニングが70点、▲2▼差別化戦略が60点、▲3▼市場への参入戦略が80点に評点した結果、70点になっている。
このような方法で、評価者が、それぞれの小項目に配点することで、それぞれの大項目の評点は、小項目の平均点を配点する。
すなわち、図3の例では、大項目のIは製品・技術の評価が70点、IIは市場分析が70点、IIIは特許及び知的財産の強度が70点、IVは事業化計画が70点、Vは法律および規制の検討が70点、VIは戦略策定が70点を配点された内容になっている。
(【0011】以降は省略されています)
この特許をJ-PlatPat(特許庁公式サイト)で参照する
関連特許
株式会社アイアイビー
企業の事業化計画や学術論文に対して、生成AIと事業化評価スコアを用いて事業化の判定評価を行う方法及びこの方法を用いたクラウド対応型の事業化判定支援システム
6日前
個人
フラワーコートA
1か月前
個人
地球保全システム
4日前
個人
工程設計支援装置
1か月前
個人
冷凍食品輸出支援構造
1か月前
個人
為替ポイント伊達夢貯
1か月前
個人
表変換編集支援システム
24日前
個人
携帯情報端末装置
1か月前
個人
結婚相手紹介支援システム
1か月前
個人
知財出願支援AIシステム
1か月前
個人
行動時間管理システム
26日前
個人
AIによる情報の売買の仲介
1か月前
個人
パスワード管理支援システム
24日前
個人
AIキャラクター制御システム
24日前
個人
パスポートレス入出国システム
1か月前
個人
海外支援型農作物活用システム
16日前
個人
システム及びプログラム
17日前
株式会社キーエンス
受発注システム
3日前
個人
食品レシピ生成システム
3日前
株式会社キーエンス
受発注システム
3日前
株式会社キーエンス
受発注システム
3日前
日本精機株式会社
施工管理システム
1か月前
個人
アンケート支援システム
2か月前
株式会社アジラ
進入判定装置
1か月前
個人
冷凍加工連携型農場運用システム
1か月前
個人
未来型家系図構築システム
16日前
個人
食事受注会計処理システム
1か月前
個人
社会還元・施設向け供給支援構造
24日前
個人
ジェスチャーパッドのガイド部材
2か月前
サクサ株式会社
中継装置
24日前
個人
人格進化型対話応答制御システム
24日前
大阪瓦斯株式会社
住宅設備機器
1か月前
サクサ株式会社
中継装置
2か月前
個人
SaaS型勤務調整支援システム
24日前
大同特殊鋼株式会社
疵判定方法
10日前
キヤノン株式会社
表示システム
3日前
続きを見る
他の特許を見る