TOP
|
特許
|
意匠
|
商標
特許ウォッチ
Twitter
他の特許を見る
10個以上の画像は省略されています。
公開番号
2025138702
公報種別
公開特許公報(A)
公開日
2025-09-25
出願番号
2025101360,2025501414
出願日
2025-06-17,2024-09-04
発明の名称
色変換システム及び色変換方法
出願人
個人
,
個人
代理人
個人
,
個人
主分類
G02B
5/23 20060101AFI20250917BHJP(光学)
要約
【課題】例えば時計、ジュエリー、ネイル等の所定媒体に任意の色を表示すること。
【解決手段】色変換システムは、例えば時計4の風防ガラス42の色を変換する色変換システムであって、可視光及び紫外線を照射する照明装置2と、照明装置2の可視光及び紫外線の照射を制御する携帯端末1とを備える。照明装置2は、フォトクロミック層61を有する風防ガラス42に対して、UV光源55からの紫外線、及び3色のLED光源56a、56b、56cの夫々から赤色、緑色、及び青色の可視光を照射させる。携帯端末1は、照明装置2を制御し、UV光源55から紫外線を風防ガラス42に照射させで当該風防ガラス42を発色させ、LED光源56a、56b、56cの夫々から当該赤色、当該緑色、及び当該青色の可視光を照射させて風防ガラス42を退色させる。
【選択図】図3
特許請求の範囲
【請求項1】
所定媒体の色を変換する色変換システムにおいて、
フォトクロミック層を有する前記所定媒体と、
紫外線光源からの紫外線、及び、赤色、緑色及び青色の可視光光源の夫々からの、当該赤色、当該緑色、及び当該青色の可視光を前記所定媒体に照射させる照明装置と、
前記照明装置の照射を制御する情報処理装置と、
を備え、
前記フォトクロミック層は、前記照明装置からの前記紫外線の照射により、シアン、マゼンタ、及びイエローの夫々に発色する3種類のフォトクロミック材料を有し、
前記情報処理装置は、
前記照明装置の前記紫外線光源から前記紫外線を照射させて当該所定媒体を発色させ、前記照明装置の赤色、緑色及び青色の可視光光源の夫々からの、当該赤色、当該緑色、及び当該青色の可視光を、所定色に変換させるために必要な条件で照射させて当該所定媒体を退色させることで、当該所定媒体を当該所定色に変換する制御を実行する色変換制御手段、
を有する色変換システム。
続きを表示(約 1,200 文字)
【請求項2】
前記所定媒体は、さらに、地表の太陽光に含まれる波長の紫外線を吸収し、所定波長以下の紫外線を透過させるコーティング層を有し、
前記照射装置から照射される前記紫外線は、前記コーティング層を透過させる前記所定波長以下の範囲内で前記所定媒体を発色させるために設定された波長を発色波長として、当該発色波長の成分を少なくとも含む、
請求項1に記載の色変換システム。
【請求項3】
前記コーティング層は、光硬化樹脂と、紫外線吸収材と、重合開始剤とを含み、
前記紫外線吸収材は、前記地表の太陽光に含まれる前記波長を包含する光吸収領域の紫外線を吸収する、
前記重合開始剤は、前記発色波長の前記紫外線を吸収すると共に、前記光吸収領域外の所定の可視光領域に吸収端を有する、
請求項2に記載の色変換システム。
【請求項4】
前記フォトクロミック層は、フォトクロミック材料が混合された紫外線硬化樹脂を含み、
当該紫外線硬化樹脂は、前記照明装置の前記紫外線光源からの前記紫外線が照射される前の状態において、当該紫外線硬化樹脂と当該フォトクロミック材料とが互いに分離することのない差の溶解性パラメータを有する、
請求項1に記載の色変換システム。
【請求項5】
前記所定媒体は、人の指の爪の上に配置されるネイルである、
請求項1に記載の色変換システム。
【請求項6】
前記所定媒体は、時計の少なくとも一部に配置される、
請求項1に記載の色変換システム。
【請求項7】
所定媒体の色を変換する色変換システムであって、
フォトクロミック層を有する前記所定媒体と、
紫外線光源からの紫外線、及び、赤色、緑色及び青色の可視光光源の夫々からの、当該赤色、当該緑色、及び当該青色の可視光を前記所定媒体に照射させる照明装置と、
前記照明装置の照射を制御する情報処理装置と、
を備える当該色変換システムの前記情報処理装置が実行する色変換方法であって、
前記フォトクロミック層は、前記照明装置からの前記紫外線の照射により、シアン、マゼンタ、及びイエローの夫々に発色する3種類のフォトクロミック材料を有している場合において、
前記情報処理装置が実行するステップとして、
前記照明装置の前記紫外線光源から前記紫外線を前記所定媒体に照射させて当該所定媒体を発色させ、当該照明装置の赤色、緑色及び青色の可視光光源の夫々からの、当該赤色、当該緑色、及び当該青色の可視光を、所定色に変換させるために必要な条件で、照射させて当該所定媒体を退色させることで、当該所定媒体を当該所定色に変換する制御を実行する色変換制御ステップ、
を含む、
色変換方法。
発明の詳細な説明
【技術分野】
【0001】
本発明は、色変換システム及び色変換方法に関する。
続きを表示(約 2,600 文字)
【背景技術】
【0002】
光の照射によりその構造が変化し、色の変わるフォトクロミック材料が知られている。例えば、フォトクロミック材料は、透明な状態に対して紫外線を照射されると発色する。そして、フォトクロミック材料は、発色状態において可視光が照射されると、透明状態に戻る。従来より、フォトクロミック化合物を用いて、表記の記載と消去とを行う技術が提案されている。
具体的には、フォトクロミック材料を用いた筆記具及び筆記具により付された塗膜に発色と退色とを施す色変換システムが提案されている(例えば特許文献1参照)。
【先行技術文献】
【特許文献】
【0003】
特許第4294349号公報
【発明の概要】
【発明が解決しようとする課題】
【0004】
しかしながら、従来の色変換システムのみでは、任意の色を表示することができなかった。
【0005】
本発明は、このような状況に鑑みてなされたものであり、所定媒体に任意の色を表示することができるようにすることを目的とする。
【課題を解決するための手段】
【0006】
上記目的を達成するため、本発明の一態様の色変換システムは、
所定媒体の色を変換する色変換システムにおいて、
フォトクロミック層を有する前記所定媒体と、
紫外線光源からの紫外線、及び、赤色、緑色及び青色の可視光光源の夫々からの、当該赤色、当該緑色、及び当該青色の可視光を前記所定媒体に照射させる照明装置と、
前記照明装置の照射を制御する情報処理装置と、
を備え、
前記フォトクロミック層は、前記照明装置からの前記紫外線の照射により、シアン、マゼンタ、及びイエローの夫々に発色する3種類のフォトクロミック材料を有し、
前記情報処理装置は、
前記照明装置の前記紫外線光源から前記紫外線を照射させて当該所定媒体を発色させ、前記照明装置の赤色、緑色及び青色の可視光光源の夫々からの、当該赤色、当該緑色、及び当該青色の可視光を、所定色に変換させるために必要な条件で照射させて当該所定媒体を退色させることで、当該所定媒体を当該所定色に変換する制御を実行する色変換制御手段、
を有する。
本発明の一態様の上記色変換システムに対応する色変換方法も、本発明の一態様の色変換方法として提供される。
【発明の効果】
【0007】
本発明によれば、所定媒体に任意の色を表示することができる。
【図面の簡単な説明】
【0008】
本発明に係る第1実施形態の色変換システムの概要構成を示す図である。
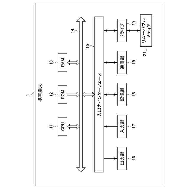
図1の色変換システムのうち、携帯端末のハードウェア構成を示すブロック図である。
図1の色変換システムのうち、図2のハードウェア構成を有する携帯端末の機能的構成と、照明装置2の構成と、所定媒体の構造と、を示すブロック図である。
図3の照明装置の光源と光の特性(波長)を示す図である。
本発明の一実施形態に係る[色変換システム]の概要(5)を示す図である。
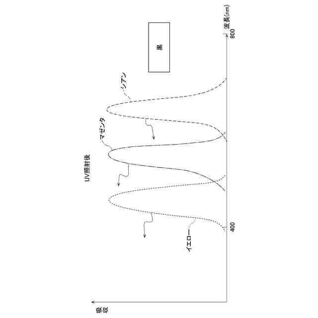
UV光照射後のフォトクロミック材料の吸収スペクトルを示す図である。
青、緑、赤の光源の照射強度を夫々の色毎に調整する様子を示す図である。
図7のように照射強度を調整して色変換層に可視光を照射した後で、コーティング層により吸収される吸収スペクトルを示す図である。
発色及び退色を行った後のシアンを呈するフォトクロミック材料の吸収スペクトルと、コーティング層の吸収スペクトルと太陽光の地上でのスペクトルとを示す図である。
シアン、マゼンタ、イエローを実現するフォトクロミック層のフォトクロミック材料として、例えばジアリールエテンを使用した場合の例を示す図である。
イエローを呈するフォトクロミック材料を示す図である。
マゼンタを呈するフォトクロミック材料を示す図である。
シアンを呈するフォトクロミック材料を示す図である。
図3の機能構成を有する色変換システムの動作を示すフローチャートである。
図3の携帯端末の色指定画面(UI)の一例を示す図である。
図3の携帯端末の色設定画面(UI)の一例を示す図である。
図3に示した照明装置を含む色変換システムの第2実施形態を示す図である。
図17の照明装置が色変換の対象(所定媒体)とする指の爪に塗布されるネイルの積層構造を模式的に示す図である。
UV吸収剤の吸収スペクトル、フォトクロミック層の色付け用の照明のスペクトル、可視光硬化樹脂の重合開始剤の吸収スペクトルを示す図である。
第2実施形態の色変換システムにおけるネイルの形成と色変換のプロセスを示すフローチャートである。
図3に示した照明装置を含む色変換システムの第3実施形態を示す図である。
図1に示した照明装置を含む色変換システムの第4実施形態を示す図である。
図1に示した照明装置を含む色変換システムの第5実施形態を示す図である。
図1に示した照明装置を含む色変換システムの第6実施形態を示す図である。
図1に示した照明装置を含む色変換システムの第7実施形態を示す図である。
図1に示した照明装置を含む色変換システムの第8実施形態を示す図である。
図1に示した照明装置を含む色変換システムの第9実施形態を示す図である。
【発明を実施するための形態】
【0009】
以下、本発明の実施形態について、図面を用いて説明する。
まず、図1を参照して、本発明に係る第1実施形態の色変換システムの概要を説明する。
図1は、本発明に係る第1実施形態の色変換システムの概要構成を示す図である。
【0010】
図1に示すように、本発明に係る第1実施形態の色変換システムは、例えば時計4の風防ガラス42等の装飾品(所定媒体)の色を変換する色変換システムである。
(【0011】以降は省略されています)
この特許をJ-PlatPat(特許庁公式サイト)で参照する
関連特許
カンタツ株式会社
光学系
22日前
日本精機株式会社
表示装置
27日前
日本精機株式会社
表示装置
27日前
キヤノン株式会社
映像表示装置
11日前
アイカ工業株式会社
反射防止フィルム
22日前
インターマン株式会社
立体映像表示装置
11日前
日本精機株式会社
ヘッドアップディスプレイ
27日前
沖電気工業株式会社
光導波路素子
27日前
沖電気工業株式会社
光導波路素子
27日前
沖電気工業株式会社
光導波路素子
27日前
個人
透過型及び反射型顕微鏡
11日前
東レ株式会社
プラスチック光ファイバ
21日前
キヤノン株式会社
画像表示装置
19日前
レーザーテック株式会社
検査装置及び検査方法
1日前
キヤノン株式会社
表示装置
4日前
キヤノン株式会社
光学系及び撮像装置
5日前
株式会社小糸製作所
画像投影装置
12日前
東レ株式会社
先端に凸面を有する光ファイバ
11日前
日東電工株式会社
光学積層体
25日前
日東電工株式会社
光学積層体
12日前
株式会社小糸製作所
画像生成装置
20日前
株式会社小糸製作所
画像投影装置
11日前
セイコーエプソン株式会社
虚像表示装置
1日前
キヤノン株式会社
光学系および撮像装置
28日前
日本電気株式会社
リング共振器、およびその製造方法
27日前
KDDI株式会社
光増幅器
11日前
日本電気株式会社
リング共振器、およびその製造方法
26日前
キヤノン株式会社
光学装置
25日前
キヤノン株式会社
光学系および撮像装置
22日前
株式会社JVCケンウッド
液晶表示装置
29日前
KDDI株式会社
光増幅器
11日前
株式会社JVCケンウッド
液晶表示装置
29日前
株式会社フォトニックラティス
透過型光学顕微鏡
5日前
レーザーテック株式会社
波長変換装置及び波長変換方法
5日前
遠視界科技股分有限公司
高視野角拡大装置
13日前
国立大学法人徳島大学
マイクロコム制御装置
25日前
続きを見る
他の特許を見る