TOP
|
特許
|
意匠
|
商標
特許ウォッチ
Twitter
他の特許を見る
10個以上の画像は省略されています。
公開番号
2025137894
公報種別
公開特許公報(A)
公開日
2025-09-24
出願番号
2025018854
出願日
2025-02-07
発明の名称
遊技機
出願人
株式会社ニューギン
代理人
個人
,
個人
主分類
A63F
7/02 20060101AFI20250916BHJP(スポーツ;ゲーム;娯楽)
要約
【課題】従来にない画像の表示方法によって遊技興趣を向上させることができる遊技機を提供する。
【解決手段】第一画像を表示可能であり、第一画像の表示中において第一条件が充足されたときに、当該第一画像の表示が終了し、第一所定画像の表示が開始され得、第一画像の表示中において第二条件が充足されたときに、当該第一画像の表示が継続し、第一所定画像と同一または異なる第二所定画像の表示が開始され得、特典に関し、第二条件が充足されたときに、第一条件が充足されたときよりも特典に係る有利度が高い、または、第二条件が充足されたときに特典が付与され得、第一条件が充足されたときに特典が付与されない。
【選択図】図22
特許請求の範囲
【請求項1】
第一画像を表示可能であり、
前記第一画像の表示中において第一条件が充足されたときに、当該第一画像の表示が終了し、第一所定画像の表示が開始され得、
前記第一画像の表示中において第二条件が充足されたときに、当該第一画像の表示が継続し、前記第一所定画像と同一または異なる第二所定画像の表示が開始され得、
特典に関し、
前記第二条件が充足されたときに、前記第一条件が充足されたときよりも前記特典に係る有利度が高い、
または、前記第二条件が充足されたときに前記特典が付与され得、前記第一条件が充足されたときに前記特典が付与されない、
ことを特徴とする遊技機。
続きを表示(約 240 文字)
【請求項2】
請求項1に記載の遊技機であって、
第二画像を表示可能であり、
前記第一画像および前記第二画像の表示中において前記第一条件が充足されたときに、当該第一画像および当該第二画像の双方の表示が終了し、前記第一所定画像の表示が開始され得、
前記第一画像および前記第二画像の表示中において前記第二条件が充足されたときに、当該第一画像の表示が継続し、当該第二画像の表示が終了し、前記第二所定画像の表示が開始され得る、
ことを特徴とする遊技機。
発明の詳細な説明
【技術分野】
【0001】
本発明は、パチンコ機やスロットマシン等の遊技機に関する。
続きを表示(約 3,000 文字)
【背景技術】
【0002】
パチンコ機やスロットマシン等の遊技機には、画像表示装置を備え、画像表示装置に係る表示領域に画像を表示させるものがある。
【先行技術文献】
【特許文献】
【0003】
特開2016-036490号公報
【発明の概要】
【発明が解決しようとする課題】
【0004】
昨今では、このような画像表示装置を備えた遊技機が一般的であり、単に画像を表示させるだけでは、目新しさがなく、遊技興趣の向上の観点で改善の余地がある。
【0005】
よって、本発明は、上記の課題に鑑みてなされたものであり、従来にない画像の表示方法によって遊技興趣を向上させることができる遊技機を提供するものである。
【課題を解決するための手段】
【0006】
本発明によれば、第一画像を表示可能であり、前記第一画像の表示中において第一条件が充足されたときに、当該第一画像の表示が終了し、第一所定画像の表示が開始され得、前記第一画像の表示中において第二条件が充足されたときに、当該第一画像の表示が継続し、前記第一所定画像と同一または異なる第二所定画像の表示が開始され得、特典に関し、前記第二条件が充足されたときに、前記第一条件が充足されたときよりも前記特典に係る有利度が高い、または、前記第二条件が充足されたときに前記特典が付与され得、前記第一条件が充足されたときに前記特典が付与されない、ことを特徴とする遊技機が提供される。
【発明の効果】
【0007】
本発明によれば、従来にない画像の表示方法によって遊技興趣を向上させることができる遊技機が提供される。
【図面の簡単な説明】
【0008】
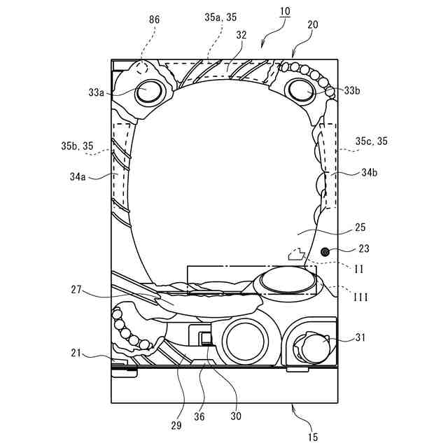
図1は、遊技機の正面図である。
図2は、図1に示す領域IIに配設される図柄表示装置を示す図である。
図3は、図1に示す領域IIIに配設される操作ボタン群およびその周辺を示す鳥瞰図である。
図4は、遊技機内に設置される遊技盤を示す図である。
図5は、遊技機の背面図である。
図6は、遊技機が備える制御構成を示すブロック図である。
図7は、遊技機が備える機能構成を示すブロック図である。
図8(a)は、特図当否判定用の抽選テーブルを模式的に示す図であり、図8(b)は、特図1に係る特図当否判定において大当りが導出された場合に用いられる停止図柄抽選用の抽選テーブルを模式的に示す図であり、図8(c)は、特図2に係る特図当否判定において小当りが導出された場合に用いられる停止図柄抽選用の抽選テーブルを模式的に示す図であり、図8(d)は、特図2に係る特図当否判定において大当りが導出された場合に用いられる停止図柄抽選用の抽選テーブルを模式的に示す図である。
図9(a)は、特図変動パターン導出状態PA時の特図1に係る図柄変動で用いられる特図変動パターン抽選テーブルを模式的に示す図であり、図9(b)は、特図変動パターン導出状態PA時の特図1に係る図柄変動において特図変動パターンHNPが決定された場合に用いられる特図変動パターン抽選テーブルを模式的に示す図である。
図10(a)は、特図変動パターン導出状態PB時の特図2に係る図柄変動で用いられる特図変動パターン抽選テーブルを模式的に示す図であり、図10(b)は、特図変動パターン導出状態PB時の特図2に係る図柄変動において特図変動パターンHNPが決定された場合に用いられる特図変動パターン抽選テーブルを模式的に示す図である。
図11(a)は、特図変動パターン導出状態PC時の特図2に係る図柄変動で用いられる特図変動パターン抽選テーブルを模式的に示す図であり、図11(b)は、特図変動パターン導出状態PC時の特図2に係る図柄変動において特図変動パターンHNPが決定された場合に用いられる特図変動パターン抽選テーブルを模式的に示す図である。
図12(a)は、特図変動パターン導出状態の遷移を示す状態遷移図であり、図12(b)は、特図変動パターン導出状態ごとの平均変動時間の関係を示す図である。
図13は、時短回数獲得演出の実行期間を示す図である。
図14(a)は、時短回数獲得演出の導入パートの表示例を示す図であり、図14(b)は、回数報知画像の表示例を示す図である。
図15は、時短回数獲得演出の獲得パートの表示例を示す図である。
図16は、時短回数獲得演出実行処理のフローを示す図である。
図17(a)は、第2表示領域に係る変化パターン抽選に用いられる抽選テーブルを模式的に示す図であり、図17(b)は、第2表示領域の面積が縮小する際の表示例を示す図である。
図18は、時短回数獲得演出終了処理のフローを示す図である。
図19(a)および図19(b)は、時短回数獲得演出終了処理に係る終了パターン抽選に用いられる抽選テーブルを模式的に示す図である。
図20は、終了パターンP1に係る時短回数獲得演出が終了する流れを具体的に示す図である。
図21は、終了パターンP1に係る時短回数獲得演出が終了する流れを示すタイミングチャートである。
図22は、終了パターンP1に係る時短回数獲得演出が終了する流れを示すタイミングチャートである。
図23は、終了パターンP1に係る時短回数獲得演出が終了する流れを示すタイミングチャートである。
図24は、終了パターンP2に係る時短回数獲得演出が終了する流れを具体的に示す図である。
図25は、終了パターンP2に係る時短回数獲得演出が終了する流れを示すタイミングチャートである。
図26は、終了パターンP3に係る時短回数獲得演出が終了する流れを具体的に示す図である。
図27は、終了パターンP3に係る時短回数獲得演出が終了する流れを示すタイミングチャートである。
【発明を実施するための形態】
【0009】
以下、本発明の実施形態について、図面を用いて説明する。なお、すべての図面において、同様の構成要素には同一の符号を付し、適宜に説明を省略する。また、以下の説明では、「前」「後」「左」「右」「上」「下」とは、特に断りのない限り、図1に示すように遊技機10を正面側(遊技者側)から見た状態で指称するものとする。
なお、以降の説明における「有利(有利度)」とは、遊技者に対して有利であることを指し、さらに、特に断りがない限り、いわゆるプレミア画像等の演出面を除き、賞球(遊技媒体)の獲得量(遊技球の払い出しに限らず、メダルの払い出しを含む)に関して有利であることを指す。
【0010】
<本発明の特徴について>
本実施形態における遊技機10の詳細を説明する前に、本実施形態に記載されている発明(本発明)の特徴を説明する。
なお、当該特徴を説明するにあたり、括弧内の構成は、直前の構成に対応する本実施形態の構成を例示したものであり、当該説明以降の遊技機10の説明においても同様の用途で括弧内に構成を記載する場合がある。
(【0011】以降は省略されています)
この特許をJ-PlatPat(特許庁公式サイト)で参照する
関連特許
株式会社ニューギン
遊技機
26日前
株式会社ニューギン
遊技機
20日前
株式会社ニューギン
遊技機
17日前
株式会社ニューギン
遊技機
17日前
株式会社ニューギン
遊技機
17日前
株式会社ニューギン
遊技機
17日前
株式会社ニューギン
遊技機
20日前
株式会社ニューギン
遊技機
20日前
株式会社ニューギン
遊技機
20日前
株式会社ニューギン
遊技機
20日前
株式会社ニューギン
遊技機
17日前
株式会社ニューギン
遊技機
21日前
株式会社ニューギン
遊技機
21日前
株式会社ニューギン
遊技機
21日前
株式会社ニューギン
遊技機
21日前
株式会社ニューギン
遊技機
21日前
株式会社ニューギン
遊技機
21日前
株式会社ニューギン
遊技機
26日前
株式会社ニューギン
遊技機
26日前
株式会社ニューギン
遊技機
17日前
株式会社ニューギン
遊技機
17日前
株式会社ニューギン
遊技機
11日前
株式会社ニューギン
遊技機
17日前
株式会社ニューギン
遊技機
17日前
株式会社ニューギン
遊技機
12日前
株式会社ニューギン
遊技機
12日前
株式会社ニューギン
遊技機
12日前
株式会社ニューギン
遊技機
12日前
株式会社ニューギン
遊技機
12日前
株式会社ニューギン
遊技機
12日前
株式会社ニューギン
遊技機
17日前
株式会社ニューギン
遊技機
11日前
株式会社ニューギン
遊技機
11日前
株式会社ニューギン
遊技機
11日前
株式会社ニューギン
遊技機
5日前
株式会社ニューギン
島設備
3日前
続きを見る
他の特許を見る