TOP
|
特許
|
意匠
|
商標
特許ウォッチ
Twitter
他の特許を見る
10個以上の画像は省略されています。
公開番号
2025133967
公報種別
公開特許公報(A)
公開日
2025-09-11
出願番号
2025118484,2021125918
出願日
2025-07-14,2021-07-30
発明の名称
スロットマシン
出願人
株式会社七匠
代理人
個人
主分類
A63F
5/04 20060101AFI20250904BHJP(スポーツ;ゲーム;娯楽)
要約
【課題】ポイントの付与に工夫をしたスロットマシンを提供する。
【解決手段】主CPU200は、ポイント獲得モードにおいて、スタートレバー5が操作されると、リール回転時ポイント獲得抽せん処理を行う。その後、主CPU200は、左停止ボタン9、中停止ボタン10、右停止ボタン11が操作された後に、全停止後ポイント獲得抽せん処理を行う。そして、役の判定結果が押し順ベルである場合には、ベルが入賞した場合には、全停止後ポイント獲得抽せん処理により決定されたポイントが付与される。一方で、ベルが入賞しなかった場合には、リール回転時ポイント獲得抽せん処理により決定されたポイントが付与される。
【選択図】図61
特許請求の範囲
【請求項1】
遊技に係る制御を行う主制御手段と、
複数のリールの回転を開始させる操作を検出するスタートスイッチと、
前記複数のリールにそれぞれ対応し、前記リールの回転を停止させる操作を検出する複数のストップスイッチと、
を備えたスロットマシンにおいて、
前記主制御手段は、
役の判定を行う役判定手段と、
前記役判定手段により第1役であると判定された場合には、前記ストップスイッチの検出順序によらずに第1データを参照して遊技者に対して付与するポイントを決定する第1決定手段と、
前記役判定手段により第2役であると判定された場合には、前記ストップスイッチの検出順序に応じて第2データを参照して遊技者に対して付与するポイントを決定する第2決定手段と、
前記第1決定手段により決定されたポイントを付与する第1付与手段と、
前記第2決定手段により決定されたポイントを付与する第2付与手段と、
を備えたことを特徴とするスロットマシン。
発明の詳細な説明
【技術分野】
【0001】
本発明は、スロットマシンに関する。
続きを表示(約 1,600 文字)
【背景技術】
【0002】
スロットマシンは、複数のリール(「回胴」ともいう)を用いた遊技の進行に関する制御(例えば、リールの駆動制御、役の判定の制御、遊技媒体(例えば、メダル)の払出制御、モードや遊技状態に関する制御)を行う主制御基板と、遊技状況に応じて遊技に対する興趣を向上させることを目的とする演出に関する制御(例えば、画像表示装置に画像を表示すること、ランプを点灯・点滅すること、スピーカから音声を出音すること)を行う副制御基板を備えており、両基板間の通信は、主制御基板から副制御基板への一方向のみとなっている。
【0003】
また、スロットマシンは、規定数のメダルがBETされた後、スタートレバーの操作が行われることにより、役の判定が行われ、複数のリールが回転開始する。複数のリールが回転開始してから所定の回転速度に達すると、複数のリールのそれぞれに対応して設けられている停止ボタンの操作が有効となり、停止ボタンの操作が行われることにより、対応するリールの回転が停止するようになっている。そして、入賞が成立すると、メダルの払出が行われる。
【0004】
近時、ポイントの獲得条件が満たされたときにポイントを付与するスロットマシンが知られている(例えば、特許文献1)。ここで、特許文献1に示すスロットマシンは、役の判定結果が特定の役である場合や、10ゲーム間小役が非当せんである場合などのポイント獲得条件が満たされるとポイントが付与される。そして、獲得したポイントに応じてATや上乗せ状態に移行することとなる。これにより、遊技の興趣を高めることができる。
【先行技術文献】
【特許文献】
【0005】
特開2019-69015号公報
【発明の概要】
【発明が解決しようとする課題】
【0006】
しかしながら、このようなスロットマシンをはじめ、多くのスロットマシンにおいては、スタートレバーの操作を受け付けたときにポイントが付与されるかどうかが決定される。このため、ポイントの付与に工夫をしたスロットマシンが望まれていた。
【0007】
本発明は、このような事情に鑑みてなされたもので、ポイントの付与に工夫をしたスロットマシンを提供することを目的とする。
【課題を解決するための手段】
【0008】
このような課題を解決するために、本発明に係るスロットマシンは、遊技に係る制御を行う主制御手段と、複数のリールの回転を開始させる操作を検出するスタートスイッチと、前記複数のリールにそれぞれ対応し、前記リールの回転を停止させる操作を検出する複数のストップスイッチと、を備えたスロットマシンにおいて、前記主制御手段は、役の判定を行う役判定手段と、前記役判定手段により第1役であると判定された場合には、前記ストップスイッチの検出順序によらずに第1データを参照して遊技者に対して付与するポイントを決定する第1決定手段と、前記役判定手段により第2役であると判定された場合には、前記ストップスイッチの検出順序に応じて第2データを参照して遊技者に対して付与するポイントを決定する第2決定手段と、前記第1決定手段により決定されたポイントを付与する第1付与手段と、前記第2決定手段により決定されたポイントを付与する第2付与手段と、を備えたことを特徴とする。
【0009】
また、本発明に係るスロットマシンにおいて、前記第2決定手段が参照する前記第2データは、前記第1決定手段が参照する前記第1データよりも有利であることを特徴とする。
【発明の効果】
【0010】
本発明によれば、ポイントの付与に工夫をしたスロットマシンを提供することができる。
【図面の簡単な説明】
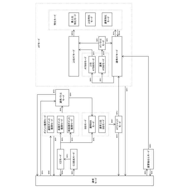
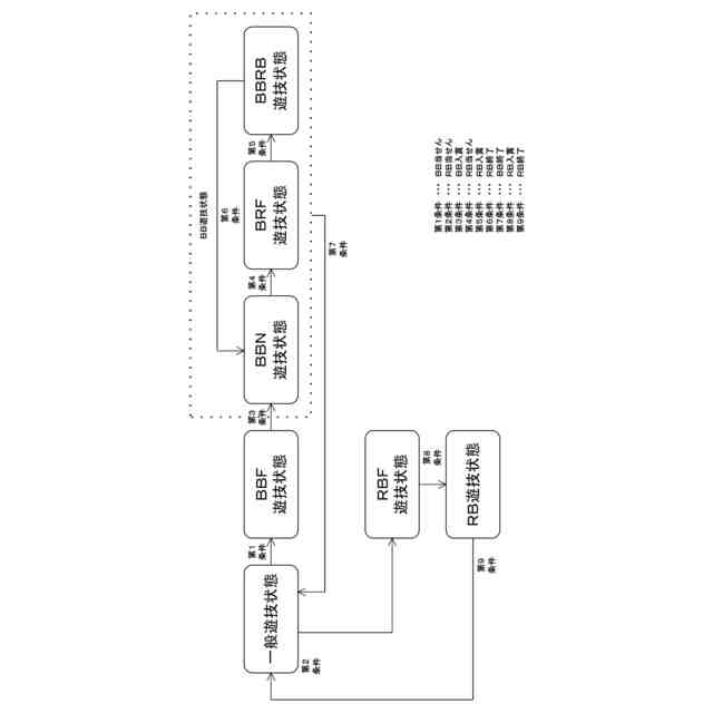
(【0011】以降は省略されています)
この特許をJ-PlatPat(特許庁公式サイト)で参照する
関連特許
株式会社七匠
遊技機
9日前
株式会社七匠
遊技機
9日前
株式会社七匠
遊技機
9日前
株式会社七匠
遊技機
9日前
株式会社七匠
遊技機
9日前
株式会社七匠
遊技機
9日前
株式会社七匠
遊技機
9日前
株式会社七匠
遊技機
9日前
株式会社七匠
遊技機
16日前
株式会社七匠
スロットマシン
2か月前
株式会社七匠
スロットマシン
4か月前
株式会社七匠
スロットマシン
4か月前
株式会社七匠
スロットマシン
2か月前
株式会社七匠
スロットマシン
2か月前
株式会社七匠
スロットマシン
8日前
株式会社七匠
スロットマシン
8日前
株式会社七匠
スロットマシン
8日前
株式会社七匠
スロットマシン
8日前
株式会社七匠
スロットマシン
8日前
株式会社七匠
スロットマシン
4か月前
株式会社七匠
スロットマシン
1か月前
株式会社七匠
スロットマシン
1か月前
個人
玩具
3か月前
個人
玩具
1か月前
個人
自走玩具
29日前
個人
玩具
8か月前
個人
運動補助具
2か月前
個人
盤上遊戯具
8か月前
個人
ゲーム玩具
5か月前
個人
フィギュア
9か月前
個人
打撃練習用具
9日前
株式会社三共
遊技機
5か月前
株式会社三共
遊技機
5か月前
株式会社三共
遊技機
5か月前
株式会社三共
遊技機
5か月前
株式会社三共
遊技機
5か月前
続きを見る
他の特許を見る