TOP
|
特許
|
意匠
|
商標
特許ウォッチ
Twitter
他の特許を見る
10個以上の画像は省略されています。
公開番号
2025081871
公報種別
公開特許公報(A)
公開日
2025-05-28
出願番号
2023194928
出願日
2023-11-16
発明の名称
スロットマシン
出願人
株式会社七匠
代理人
個人
主分類
A63F
5/04 20060101AFI20250521BHJP(スポーツ;ゲーム;娯楽)
要約
【課題】遊技用価値の計数の報知や、遊技用価値の貸出の報知を適切に行うことが可能なスロットマシンを提供する。
【解決手段】計数ボタン26が操作されると、スピーカ20から計数音(短押し計数音や、長押し計数音)が出音される。また、貸出ボタン33が操作されると、スピーカ20から貸出音が出音される。短押し計数音や、長押し計数音は、計数される遊技用価値の値によって出音されるが、貸出音は貸出される遊技用価値の値によらず出音されるようになっている。
【選択図】図73
特許請求の範囲
【請求項1】
遊技に関する制御を実行可能な主制御手段と、
演出に関する制御を実行可能な副制御手段と、
音を出音可能な出音手段と、
を備えたスロットマシンにおいて、
前記副制御手段は、
遊技用価値の計数が行われると、計数された前記遊技用価値の値に応じた計数音を前記出音手段から出音可能であり、
前記遊技用価値の貸出が行われると、貸出された前記遊技用価値の値によらず貸出音を前記出音手段から出音可能である、
ことを特徴とするスロットマシン。
続きを表示(約 220 文字)
【請求項2】
前記遊技用価値の計数するときに操作される計数ボタンの操作を検出可能な計数スイッチを備え、
前記副制御手段は、
前記計数ボタンを操作した時間が第1時間である場合には、前記出音手段から短押し計数音を出音可能であり、
前記計数ボタンを操作した時間が前記第1時間よりも長い時間である第2時間である場合には、前記出音手段から長押し計数音を出音可能である、
ことを特徴とする請求項1に記載のスロットマシン。
発明の詳細な説明
【技術分野】
【0001】
本発明は、スロットマシンに関する。
続きを表示(約 4,400 文字)
【背景技術】
【0002】
従来から、遊技店にはメダルなどの遊技媒体を用いて遊技が行われるスロットマシンが設置されている。また、近年においては、この遊技媒体を用いずに電磁的に記憶される電子メダル(以下、「遊技用価値」という)を用いて遊技を行うスロットマシンが設置されている。このようなスロットマシンは、遊技店に設置されたカードユニットと通信を行うことにより遊技用価値に関する情報が送受信されるようになっている。
【0003】
また、このようなスロットマシンは、カードユニットと通信を行うことで遊技用価値に関する情報が送受信されると、スピーカから音声が出力されるようになっている(例えば、特許文献1)。具体的には、スロットマシンに設けられた計数スイッチが押下されると、スピーカから擬似メダル音などの音声が出音される。また、遊技用価値の貸出が行われるときもスピーカから音声が出音されるようになっている。
【先行技術文献】
【特許文献】
【0004】
特開2021-029882号公報
【発明の概要】
【発明が解決しようとする課題】
【0005】
しかしながら、このようなスロットマシンは、遊技用価値の計数の報知や、遊技用価値の貸出の報知についてまだまだ改善の余地があった。
という問題点があった。
【0006】
本発明は、このような事情に鑑みてなされたもので、遊技用価値の計数の報知や、遊技用価値の貸出の報知を適切に行うことが可能なスロットマシンを提供することを目的とする。
【課題を解決するための手段】
【0007】
このような課題を解決するために、本発明に係るスロットマシンは、遊技に関する制御を実行可能な主制御手段と、演出に関する制御を実行可能な副制御手段と、音を出音可能な出音手段と、を備えたスロットマシンにおいて、前記副制御手段は、遊技用価値の計数が行われると、計数された前記遊技用価値の値に応じた計数音を前記出音手段から出音可能であり、前記遊技用価値の貸出が行われると、貸出された前記遊技用価値の値によらず貸出音を前記出音手段から出音可能である、ことを特徴とする。
【0008】
また、本発明に係るスロットマシンは、前記遊技用価値の計数するときに操作される計数ボタンの操作を検出可能な計数スイッチを備え、前記副制御手段は、前記計数ボタンを操作した時間が第1時間である場合には、前記出音手段から短押し計数音を出音可能であり、前記計数ボタンを操作した時間が前記第1時間よりも長い時間である第2時間である場合には、前記出音手段から長押し計数音を出音可能である、ことを特徴とする。
【発明の効果】
【0009】
本発明によれば、遊技用価値の計数の報知や、遊技用価値の貸出の報知を適切に行うことが可能なスロットマシンを提供することができる。
【図面の簡単な説明】
【0010】
スロットマシンとカードユニットの正面図である。
スロットマシンの箱部の正面図である。
スロットマシンの扉部の背面図である。
スロットマシン、カードユニットのブロック図である。
左リール、中リール、右リールの図柄配列を説明する図である。
図柄の組み合わせを説明する図である。
遊技状態の遷移を説明する図である。
当せん役に割り当てられた置数を説明する図である。
当せん役、ストップボタンの操作順序と、図柄の組み合わせの関係を説明する図である。
モードの遷移を説明する図である。
電源投入処理を説明する図である。
メイン処理を説明する図である。
遊技開始受付処理を説明する図である。
割込処理を説明する図である。
計数処理を説明する図である。
貸出処理を説明する図である。
貸出コマンド受信処理を説明する図である。
再プレイコマンド受信処理を説明する図である。
コマンド受信時処理を説明する図である。
主制御基板からメダル数制御基板に対して送信されるコマンドの種類を説明する図である。
主制御基板からメダル数制御基板に対して送信される遊技機設置情報コマンドを説明する図である。
主制御基板からメダル数制御基板に対して送信される遊技機設置情報コマンドの遊技機特性を説明する図である。
主制御基板からメダル数制御基板に対して送信される役物情報コマンドを説明する図である。
主制御基板からメダル数制御基板に対して送信される役物情報コマンドの役物作動情報を説明する図である。
主制御基板からメダル数制御基板に対して送信される有利区間情報コマンドを説明する図である。
主制御基板からメダル数制御基板に対して送信される有利区間情報コマンドの有利区間情報を説明する図である。
主制御基板からメダル数制御基板に対して送信されるメダル数投入コマンドを説明する図である。
主制御基板からメダル数制御基板に対して送信されるメダル数精算コマンドを説明する図である。
主制御基板からメダル数制御基板に対して送信される遊技開始時コマンドを説明する図である。
主制御基板からメダル数制御基板に対して送信される遊技終了時コマンドを説明する図である。
主制御基板からメダル数制御基板に対して送信される払出コマンドを説明する図である。
主制御基板からメダル数制御基板に対して送信される大当りコマンドを説明する図である。
主制御基板からメダル数制御基板に対して送信されるホールコンピュータ信号に関する情報を説明する図である。
主制御基板からメダル数制御基板に対して送信される遊技機不正コマンド(第1)を説明する図である。
主制御基板からメダル数制御基板に対して送信される遊技機不正コマンド(第1)の設定情報を説明する図である。
主制御基板からメダル数制御基板に対して送信される遊技機不正コマンド(第2)を説明する図である。
主制御基板からメダル数制御基板に対して送信される遊技機不正コマンド(第2)の扉開放情報を説明する図である。
主制御基板からメダル数制御基板に対して送信される遊技機不正コマンド(第3)を説明する図である。
主制御基板からメダル数制御基板に対して送信される主制御状態コマンドを説明する図である。
主制御基板からメダル数制御基板に対して送信される主制御基板エラーコマンドを説明する図である。
主制御基板からメダル数制御基板に対して送信されるエラー番号を説明する図である。
メダル数制御基板から主制御基板に対して送信されるコマンドの種類を説明する図である。
メダル数制御基板から主制御基板に対して送信される応答コマンドを説明する図である。
メダル数制御基板から主制御基板に対して送信されるメダル数側情報コマンドを説明する図である。
スロットマシンと、カードユニットとの間の電文を説明する図である。
スロットマシンと、カードユニットとの間で通信される遊技機情報通知を示す図である。
スロットマシンが出力する遊技機情報通知に含まれる情報のうち、番号「4」の遊技機の種類を示す図である。
遊技機情報通知のうち、遊技機性能情報を設定した場合の電文に含まれる遊技機情報を示す図である。
遊技機情報通知のうち、遊技機設置情報を設定した場合の電文に含まれる遊技機情報を示す図である。
遊技機情報通知のうち、ホールコン不正監視情報を設定した場合の電文に含まれる遊技機情報を示す図である。
スロットマシンとカードユニットの基本通信シーケンスを示す図である。
スロットマシンがカードユニットよりも先に起動した場合のシーケンスを示す図である。
カードユニットがスロットマシンよりも先に起動した場合のシーケンスを示す図である。
スロットマシンとカードユニットとの計数通知シーケンスを示す図である。
スロットマシンとカードユニットとの貸出通知シーケンスを示す図である。
スロットマシンとカードユニットとの専用インターフェースが断線したときからの復旧シーケンスを示す図である。
計数中におけるスロットマシンとカードユニットとの通信異常時のシーケンスを示す図である。
貸出中におけるスロットマシンとカードユニットとの通信異常時のシーケンスを示す図である。
計数ボタンを短押しした場合のタイムチャートを示す図である。
計数ボタンを長押しした場合のタイムチャートを示す図である。
貸出ボタンを押下した場合のタイムチャートを示す図である。
計数ボタンを短押しした場合のアニメーションを示す図である。
計数ボタンを長押しした場合のアニメーションを示す図である。
貸出ボタンを押下した場合のアニメーションを示す図である。
扉開放エラー中に計数ボタンを長押しした場合のアニメーションを示す図である。
扉開放エラー中に貸出ボタンを押下した場合のアニメーションを示す図である。
通信エラー中に計数ボタンを長押しした場合のアニメーションを示す図である。
通信エラー中に貸出ボタンを押下した場合のアニメーションを示す図である。
通信エラー中に計数ボタンを押下した場合のアニメーションを示す図である。
計数エラー中に貸出ボタンを押下した場合のアニメーションを示す図である。
扉開放エラー中に計数ボタンを長押しした場合のアニメーションを示す図である。
コンプリート中に貸出ボタンを押下した場合のアニメーションを示す図である。
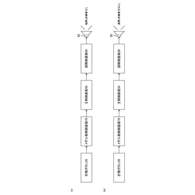
短押し計数音と、長押し計数音の出音制御を示す図である。
貸出音の出音制御を示す図である。
短押し計数音と、長押し計数音の出音制御の変形例を示す図である。
貸出音の出音制御の変形例を示す図である。
計数ボタンを長押しした場合のアニメーションの変形例(第1)を示す図である。
計数ボタンを長押しした場合のアニメーションの変形例(第2)を示す図である。
貸出ボタンを押下した場合のアニメーションの変形例を示す図である。
【発明を実施するための形態】
(【0011】以降は省略されています)
この特許をJ-PlatPat(特許庁公式サイト)で参照する
関連特許
株式会社七匠
遊技機
9日前
株式会社七匠
遊技機
9日前
株式会社七匠
遊技機
16日前
株式会社七匠
遊技機
9日前
株式会社七匠
遊技機
9日前
株式会社七匠
遊技機
9日前
株式会社七匠
遊技機
9日前
株式会社七匠
遊技機
9日前
株式会社七匠
遊技機
9日前
株式会社七匠
スロットマシン
2か月前
株式会社七匠
スロットマシン
8日前
株式会社七匠
スロットマシン
8日前
株式会社七匠
スロットマシン
8日前
株式会社七匠
スロットマシン
8日前
株式会社七匠
スロットマシン
8日前
株式会社七匠
スロットマシン
2か月前
株式会社七匠
スロットマシン
1か月前
株式会社七匠
スロットマシン
1か月前
個人
玩具
3か月前
個人
玩具
1か月前
個人
自走玩具
29日前
個人
運動補助具
2か月前
個人
ゲーム玩具
5か月前
個人
打撃練習用具
9日前
株式会社三共
遊技機
6か月前
株式会社三共
遊技機
6か月前
株式会社三共
遊技機
6か月前
株式会社三共
遊技機
6か月前
株式会社三共
遊技機
6か月前
株式会社三共
遊技機
6か月前
株式会社三共
遊技機
6か月前
株式会社三共
遊技機
6か月前
株式会社三共
遊技機
6か月前
株式会社三共
遊技機
6か月前
株式会社三共
遊技機
6か月前
株式会社三共
遊技機
22日前
続きを見る
他の特許を見る