TOP
|
特許
|
意匠
|
商標
特許ウォッチ
Twitter
他の特許を見る
10個以上の画像は省略されています。
公開番号
2025154372
公報種別
公開特許公報(A)
公開日
2025-10-10
出願番号
2024057324
出願日
2024-03-29
発明の名称
スロットマシン
出願人
株式会社七匠
代理人
個人
主分類
A63F
5/04 20060101AFI20251002BHJP(スポーツ;ゲーム;娯楽)
要約
【課題】遊技の興趣向上を図ることが可能なスロットマシンを提供する。
【解決手段】一般遊技状態に滞在しているときにベース役&MBに当せんすると、上段ベルまたは中段ベルが入賞し、メダル(遊技用価値)が3付与されて一般遊技状態からMBF遊技状態に移行するようになっている。一般遊技状態からMBF遊技状態に移行しても再遊技が作動する確率は変わらないようになっているが、MBF遊技状態では3枚のメダル(遊技用価値)が付与されるベース役に当せんし易くなっている。
【選択図】図8
特許請求の範囲
【請求項1】
複数のリールと、
前記リールを回転させるためのスタートレバーと、
前記リールを停止させるためのストップボタンと、
遊技に関する制御を実行可能な主制御手段と、
役に応じた抽せん値を記憶する抽せん値記憶手段と、
を備えたスロットマシンにおいて、
前記主制御手段は、
前記抽せん値を用いて役を決定可能な役決定処理と、
前記スタートレバーが操作されたことで前記リールを回転させ、前記ストップボタンが操作されることで回転している前記リールを停止させるリール制御処理と、
通常遊技状態と、特別役に当せんした情報が記憶されている特定遊技状態との制御を実行する遊技状態制御処理と、
を実行可能であり、
前記抽せん値記憶手段は、
前記通常遊技状態に滞在しているときに前記特別役及び遊技用価値が付与される特定役に同時当せん可能な抽せん値を記憶しており、
前記特定遊技状態に滞在しているときに前記特定役に当せん可能な抽せん値を記憶していることを特徴とするスロットマシン。
発明の詳細な説明
【技術分野】
【0001】
本発明は、スロットマシンに関する。
続きを表示(約 4,100 文字)
【背景技術】
【0002】
従来から、遊技機の1つであるスロットマシンは、遊技メダルをベットしてスタートレバーが操作されると役の抽せんが行われた後に、各リールの回転が開始する。続いて、ストップボタンを操作することで各リールの回転が停止し、入賞が成立した場合には遊技者に対して遊技メダルが払い出されるようになっている。
【0003】
近年では、押し順報知手段によって小役の入賞をアシストするATを実行可能なスロットマシンが知られている(例えば、特許文献1)。このようなスロットマシンは、小役が当せんしたときにストップボタンの操作順序を報知して小役に入賞し易くすることができる。
【先行技術文献】
【特許文献】
【0004】
特開2018-143271号公報
【発明の概要】
【発明が解決しようとする課題】
【0005】
ここで、上記で例示したスロットマシンにおいては、遊技の興趣向上を図る必要があり、この点について、未だ改良の余地がある。
【0006】
本発明は上記例示した事情等に鑑みてなされたものであり、遊技の興趣向上を図ることが可能なスロットマシンを提供することを目的とするものである。
【課題を解決するための手段】
【0007】
本発明に係るスロットマシンは、複数のリールと、前記リールを回転させるためのスタートレバーと、前記リールを停止させるためのストップボタンと、遊技に関する制御を実行可能な主制御手段と、役に応じた抽せん値を記憶する抽せん値記憶手段と、を備えたスロットマシンにおいて、前記主制御手段は、前記抽せん値を用いて役を決定可能な役決定処理と、前記スタートレバーが操作されたことで前記リールを回転させ、前記ストップボタンが操作されることで回転している前記リールを停止させるリール制御処理と、通常遊技状態と、特別役に当せんした情報が記憶されている特定遊技状態との制御を実行する遊技状態制御処理と、を実行可能であり、前記抽せん値記憶手段は、前記通常遊技状態に滞在しているときに前記特別役及び遊技用価値が付与される特定役に同時当せん可能な抽せん値を記憶しており、前記特定遊技状態に滞在しているときに前記特定役に当せん可能な抽せん値を記憶していることを特徴とする。
【発明の効果】
【0008】
本発明によれば、遊技の興趣向上を図ることが可能なスロットマシンを提供することができる。
【図面の簡単な説明】
【0009】
スロットマシンとカードユニットの正面図である。
スロットマシンの箱部の正面図である。
スロットマシンの扉部の背面図である。
スロットマシン、カードユニットのブロック図である。
左リール、中リール、右リールの図柄配列を説明する図である。
図柄の組み合わせを説明する図である。
遊技状態の遷移を説明する図である。
当せん役に割り当てられた置数を説明する図である。
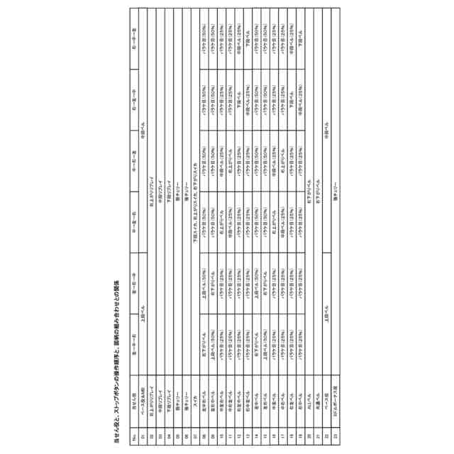
当せん役と、ストップボタンの操作順序と、図柄の組み合わせの関係を説明する図である。
モードの遷移を説明する図である。
主制御基板の電源投入処理を説明する図である。
主制御基板のメイン処理を説明する図である。
遊技開始受付処理を説明する図である。
開始時モード別処理を説明する図である。
終了時モード別処理を説明する図である。
割込処理を説明する図である。
計数処理を説明する図である。
貸出処理を説明する図である。
貸出コマンド受信処理を説明する図である。
再プレイコマンド受信処理を説明する図である。
コマンド受信処理を説明する図である。
主制御基板からメダル数制御基板に対して送信されるコマンドの種類を説明する図である。
主制御基板からメダル数制御基板に対して送信される遊技機設置情報コマンドを説明する図である。
主制御基板からメダル数制御基板に対して送信される遊技機設置情報コマンドの遊技機特性を説明する図である。
主制御基板からメダル数制御基板に対して送信される役物情報コマンドを説明する図である。
主制御基板からメダル数制御基板に対して送信される役物作動情報を説明する図である。
主制御基板からメダル数制御基板に対して送信される有利区間情報コマンドを説明する図である。
主制御基板からメダル数制御基板に対して送信される有利区間情報を説明する図である。
主制御基板からメダル数制御基板に対して送信されるメダル数投入コマンドを説明する図である。
主制御基板からメダル数制御基板に対して送信されるメダル数精算コマンドを説明する図である。
主制御基板からメダル数制御基板に対して送信される遊技開始時コマンドを説明する図である。
主制御基板からメダル数制御基板に対して送信される遊技終了時コマンドを説明する図である。
主制御基板からメダル数制御基板に対して送信される払出コマンドを説明する図である。
主制御基板からメダル数制御基板に対して送信される大当たりコマンドを説明する図である。
主制御基板からメダル数制御基板に対して送信されるHC信号に関する情報を説明する図である。
主制御基板からメダル数制御基板に対して送信される遊技機不正コマンド(第1)を説明する図である。
主制御基板からメダル数制御基板に対して送信される設定情報を説明する図である。
主制御基板からメダル数制御基板に対して送信される遊技機不正コマンド(第2)を説明する図である。
主制御基板からメダル数制御基板に対して送信される扉開放情報を説明する図である。
主制御基板からメダル数制御基板に対して送信される遊技機不正コマンド(第3)を説明する図である。
主制御基板からメダル数制御基板に対して送信される主制御状態コマンドを説明する図である。
主制御基板からメダル数制御基板に対して送信される主制御基板エラーコマンドを説明する図である。
主制御基板からメダル数制御基板に対して送信されるエラー番号を説明する図である。
メダル数制御基板から主制御基板に対して送信されるコマンドの種類を説明する図である。
メダル数制御基板から主制御基板に対して送信される応答コマンドを説明する図である。
メダル数制御基板から主制御基板に対して送信されるメダル数側情報コマンドを説明する図である。
スロットマシンと、カードユニットとの間で通信される電文を説明する図である。
スロットマシンと、カードユニットとの間で通信される遊技機情報通知を説明する図である。
スロットマシンが出力する遊技機情報通知に含まれる情報のうち、番号「4」の遊技機の種類を説明する図である。
遊技機情報通知のうち、遊技機性能情報を設定した場合の電文に含まれる遊技機情報を説明する図である。
遊技機情報通知のうち、遊技機設置情報を設定した場合の電文に含まれる遊技機情報を説明する図である。
遊技機情報通知のうち、ホールコン不正監視情報を設定した場合の電文に含まれる遊技機情報を説明する図である。
スロットマシンとカードユニットの基本通信シーケンスを説明する図である。
スロットマシンがカードユニットよりも先に起動した場合のシーケンスを説明する図である。
カードユニットがスロットマシンよりも先に起動した場合のシーケンスを説明する図である。
スロットマシンとカードユニットとの計数通知シーケンスを説明する図である。
スロットマシンとカードユニットとの貸出通知シーケンスを説明する図である。
スロットマシンとカードユニットとの専用インターフェースが断線したときからの復旧シーケンスを説明する図である。
計数中におけるスロットマシンとカードユニットとの通信異常時のシーケンスを説明する図である。
貸出中におけるスロットマシンとカードユニットとの通信異常時のシーケンスを説明する図である。
設定変更からATモードが終了するまでのタイムチャートを説明する図である。
各モードでミドルボーナスが入賞したときのタイムチャートを説明する図である。
通常モードでミドルボーナスが入賞したときのアニメーションを説明する図である。
通常モードでMB作動状態が終了した後のアニメーションを説明する図である。
CZモードでミドルボーナスが入賞したときのアニメーションを説明する図である。
ATモードでミドルボーナスが入賞したときのアニメーションを説明する図である。
特化モードでミドルボーナスが入賞したときのアニメーションを説明する図である。
第2実施形態の図柄組み合わせを説明する図である。
第2実施形態の当せん役に割り当てられた置数を説明する図である。
第2実施形態の通常モードでチャンスミドルボーナスが入賞したときのアニメーションを説明する図である。
第2実施形態のMB作動状態が終了したときのアニメーションを説明する図である。
第3実施形態の当せん役に割り当てられた置数を説明する図である。
【発明を実施するための形態】
【0010】
本発明に係るスロットマシンを実施するための形態を実施例に基づいて以下に説明する。
(【0011】以降は省略されています)
この特許をJ-PlatPat(特許庁公式サイト)で参照する
関連特許
株式会社七匠
遊技機
6日前
株式会社七匠
遊技機
6日前
株式会社七匠
遊技機
13日前
株式会社七匠
遊技機
6日前
株式会社七匠
遊技機
6日前
株式会社七匠
遊技機
6日前
株式会社七匠
遊技機
6日前
株式会社七匠
遊技機
6日前
株式会社七匠
遊技機
6日前
株式会社七匠
スロットマシン
2か月前
株式会社七匠
スロットマシン
2か月前
株式会社七匠
スロットマシン
5日前
株式会社七匠
スロットマシン
5日前
株式会社七匠
スロットマシン
5日前
株式会社七匠
スロットマシン
5日前
株式会社七匠
スロットマシン
5日前
株式会社七匠
スロットマシン
2か月前
株式会社七匠
スロットマシン
1か月前
株式会社七匠
スロットマシン
1か月前
個人
玩具
3か月前
個人
玩具
1か月前
個人
自走玩具
26日前
個人
運動補助具
2か月前
個人
ゲーム玩具
4か月前
個人
打撃練習用具
6日前
株式会社三共
遊技機
6か月前
株式会社三共
遊技機
6か月前
株式会社三共
遊技機
6か月前
株式会社三共
遊技機
6か月前
株式会社三共
遊技機
6か月前
株式会社三共
遊技機
6か月前
株式会社三共
遊技機
6か月前
株式会社三共
遊技機
6か月前
株式会社三共
遊技機
6か月前
株式会社三共
遊技機
6か月前
株式会社三共
遊技機
6か月前
続きを見る
他の特許を見る