TOP
|
特許
|
意匠
|
商標
特許ウォッチ
Twitter
他の特許を見る
10個以上の画像は省略されています。
公開番号
2025080495
公報種別
公開特許公報(A)
公開日
2025-05-26
出願番号
2023193671
出願日
2023-11-14
発明の名称
コネクタの取付構造
出願人
SMK株式会社
代理人
個人
主分類
H01R
13/639 20060101AFI20250519BHJP(基本的電気素子)
要約
【課題】ケース等に対し抜き出し不能に安定して固定するコネクタの取付構造の提供。
【解決手段】このコネクタの取付構造は、外嵌合体4に筒軸方向に連続したキー溝12と、内周部のキー溝12を挟んだ両側に形成された外側リテーナ挿入溝15,15と、外側リテーナ挿入溝15,15と連通したリテーナ挿し込み口16とを備え、内嵌合体5に、外周面に突設された押さえ用凸部13と、外周部の押さえ用凸部13を挟んだ両側に形成された内側リテーナ挿入溝23とを備え、リテーナ17がリテーナ挿し込み口16から挿入され、挿し込み片17b,17bが内側リテーナ挿入溝23と外側リテーナ挿入溝15,15とに跨って挿し込まれるとともに、リテーナ基部17aが押さえ用凸部13とキー溝12の両側端縁部16a,16aとの間に重なって配置されるようにしている。
【選択図】図3
特許請求の範囲
【請求項1】
内嵌合体と外嵌合体とが嵌合され、前記内嵌合体又は前記外嵌合体の何れか一方に配置されたプラグと他方に配置されたソケットとが接続されるようにしてなるコネクタを嵌合方向で抜け出し不能に固定するコネクタの取付構造において、
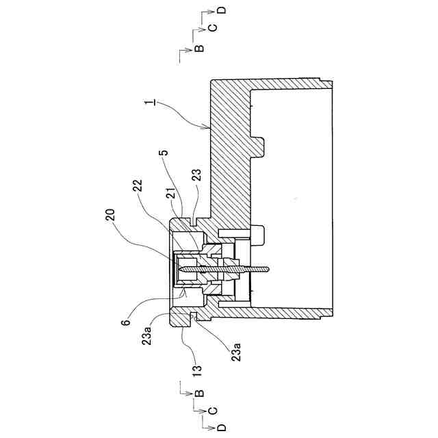
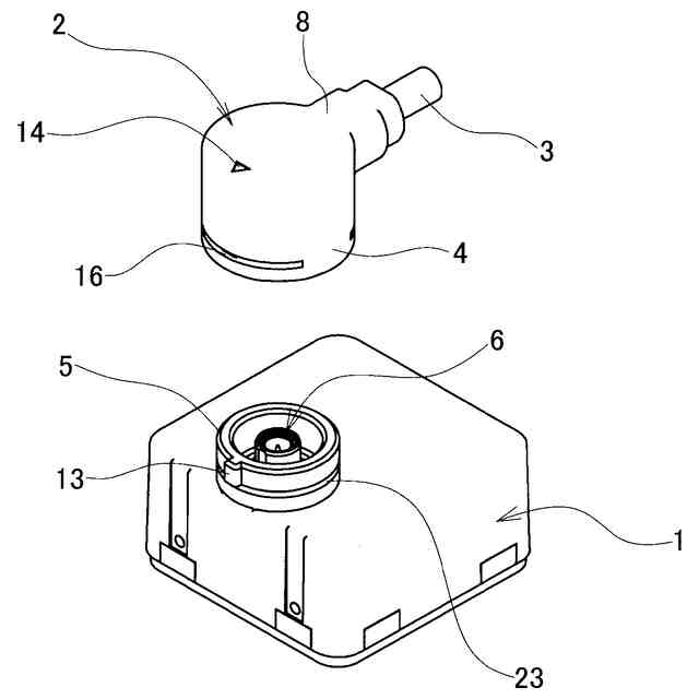
前記外嵌合体に、内周面に筒軸方向に連続したキー溝と、内周部の前記キー溝を挟んだ両側に形成された外側リテーナ挿入溝と、該外側リテーナ挿入溝と連通したリテーナ挿し込み口とを備え、
前記内嵌合体に、外周面に突設された前記キー溝に挿通される押さえ用凸部と、外周部の前記押さえ用凸部を挟んだ両側に形成された内側リテーナ挿入溝とを備え、
リテーナ基部の両端に一対の挿し込み片が支持されてなるリテーナが前記リテーナ挿し込み口から挿入され、前記挿し込み片が前記内側リテーナ挿入溝と前記外側リテーナ挿入溝とに跨って挿し込まれるとともに、前記リテーナ基部が前記押さえ用凸部と前記キー溝の両側端縁部との間に重なって配置されるようにしたことを特徴としてなるコネクタの取付構造。
続きを表示(約 120 文字)
【請求項2】
前記押さえ用凸部は、前記内嵌合体の上端まで連続している請求項1に記載のコネクタの取付構造。
【請求項3】
前記内嵌合体が箱型の躯体に一体に突設されている請求項1又は2に記載のコネクタの取付構造。
発明の詳細な説明
【技術分野】
【0001】
本発明は、撮像素子等のモジュールと同軸ケーブル等とをコネクタを介して強固に固定するコネクタの取付構造に関する。
続きを表示(約 1,600 文字)
【背景技術】
【0002】
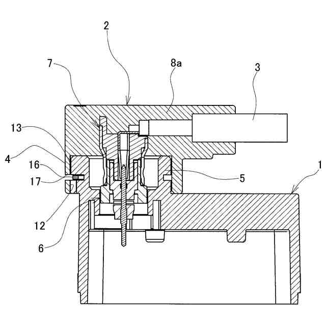
車載カメラ用カメラモジュール等のモジュールは、モジュールを収容するケースの一面に一体に突設された筒状の内嵌合体内に収容されたソケットと、同軸ケーブルの先端部に取り付けられた外嵌合体に収容されたプラグ(以下、ジャックという)からなるモジュール用コネクタを使用し、内外嵌合体を嵌合させプラグとソケットとを接続することにより、モジュールと同軸ケーブルとが接続されるようになっている(例えば、特許文献1を参照)。
【0003】
このようなモジュール用コネクタでは、振動等によってプラグとソケットとが離脱するおそれがあることから、プラグとソケットとが強固に接続した状態が維持されることが望まれている。
【0004】
一方、コネクタを機器躯体(ケース)に強固に固定する構造(以下、コネクタの取付構造という)としては、リテーナと呼ばれる固定具を用いて機器躯体に対しプラグを抜け出し不能に固定するものが知られている(例えば、特許文献2を参照)。
【0005】
このコネクタの取付構造は、プラグが収容される樹脂製のハウジング(以下、内嵌合体という)の中心軸を挟んだ両側にそれぞれ設けられた内リテーナ挿入溝と、機器躯体の内嵌合体が挿入される部分(以下、外嵌合体という)の内側部に設けた外リテーナ挿入溝とを互いに突き合わせ、そこにリテーナの挿し込み片が内外リテーナ挿入溝に跨って配置で挿入され、プラグを機器躯体より抜き出す方向に力が作用した際、リテーナ(挿し込み片)のせん断耐力によって対向し、機器躯体に対しコネクタを抜け出し不能に固定するようになっている。
【先行技術文献】
【特許文献】
【0006】
特開2018-098069号公報
特開2021-019116号公報
【発明の概要】
【発明が解決しようとする課題】
【0007】
しかしながら、上述の如き従来の技術では、リテーナの挿入位置が浅いこと等でリテーナの挿し込み片が内外リテーナ挿入溝の何れかに偏って挿入された場合、或いは内外リテーナ挿入溝間で移動するおそれがある場合、挿し込み片と内外リテーナ挿入溝の何れかと重なる部分の面積が小さくなり、リテーナ(挿し込み片)のせん断耐力が十分に機能せず、安定した固定状態が確保できないおそれがあった。
【0008】
そこで、本発明は、このような従来の問題に鑑み、ケース等に対し抜き出し不能に安定して固定するコネクタの取付構造の提供を目的としてなされたものである。
【課題を解決するための手段】
【0009】
上述の如き従来の問題を解決するための請求項1に記載の発明の特徴は、内嵌合体と外嵌合体とが嵌合され、前記内嵌合体又は前記外嵌合体の何れか一方に配置されたプラグと他方に配置されたソケットとが接続されるようにしてなるコネクタを嵌合方向で抜け出し不能に固定するコネクタの取付構造において、前記外嵌合体に、内周面に筒軸方向に連続したキー溝と、内周部の前記キー溝を挟んだ両側に形成された外側リテーナ挿入溝と、該外側リテーナ挿入溝と連通したリテーナ挿し込み口とを備え、前記内嵌合体に、外周面に突設された前記キー溝に挿通される押さえ用凸部と、外周部の前記押さえ用凸部を挟んだ両側に形成された内側リテーナ挿入溝とを備え、リテーナ基部の両端に一対の挿し込み片が支持されてなるリテーナが前記リテーナ挿し込み口から挿入され、前記挿し込み片が前記内側リテーナ挿入溝と前記外側リテーナ挿入溝とに跨って挿し込まれるとともに、前記リテーナ基部が前記押さえ用凸部と前記キー溝の両側端縁部との間に重なって配置されるようにしたことにある。
【0010】
請求項2に記載の発明の特徴は、請求項1の構成に加え、前記押さえ用凸部は、前記内嵌合体の上端まで連続していることにある。
(【0011】以降は省略されています)
この特許をJ-PlatPat(特許庁公式サイト)で参照する
関連特許
他の特許を見る