TOP
|
特許
|
意匠
|
商標
特許ウォッチ
Twitter
他の特許を見る
10個以上の画像は省略されています。
公開番号
2025044520
公報種別
公開特許公報(A)
公開日
2025-04-02
出願番号
2023152124
出願日
2023-09-20
発明の名称
電気化学反応装置および電気化学反応装置の運転方法
出願人
株式会社東芝
代理人
弁理士法人サクラ国際特許事務所
主分類
C25B
15/02 20210101AFI20250326BHJP(電気分解または電気泳動方法;そのための装置)
要約
【課題】長寿命かつ構造が簡素な電気化学反応装置を提供する。
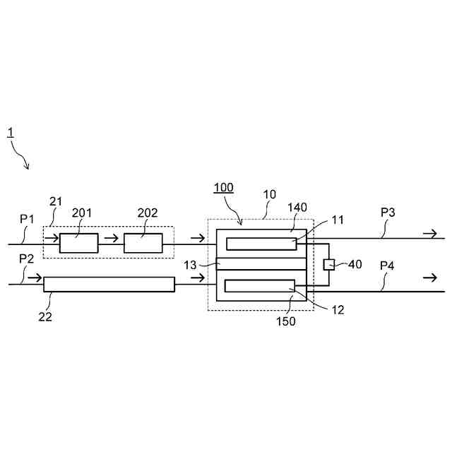
【解決手段】電気化学反応装置は、カソードと、アノードと、隔膜と、カソードに面するカソード室と、アノードに面するアノード室と、を備える電解部と、カソード室の入口に接続され、還元対象物を含む第1の流体が流れる第1の流路と、アノード室の入口に接続され、酸化対象物を含む第2の流体が流れる第2の流路と、カソード室の出口に接続され、還元生成物を含む第3の流体が流れる第3の流路と、アノード室の出口に接続され、酸化生成物を含む第4の流体が流れる第4の流路と、第1の流路の途中に設けられ、第1の流体を加湿する加湿器と、第1の流路の途中であって、加湿器の後段に設けられ、加湿された第1の流体を処理して加湿された第1の流体に含まれる水蒸気の一部を凝縮させることにより凝縮水を生成し、加湿された第1の流体中の凝縮水の比率を調整する凝縮器と、を具備する。
【選択図】図1
特許請求の範囲
【請求項1】
カソードと、アノードと、前記カソードと前記アノードとの間の隔膜と、前記カソードに面するカソード室と、前記アノードに面するアノード室と、を備える電解部と、
前記カソード室の入口に接続され、前記カソード室に供給される還元対象物を含む第1の流体が流れる第1の流路と、
前記アノード室の入口に接続され、前記アノード室に供給される酸化対象物を含む第2の流体が流れる第2の流路と、
前記カソード室の出口に接続され、前記カソード室から排出されるとともに還元生成物を含む第3の流体が流れる第3の流路と、
前記アノード室の出口に接続され、前記アノード室から排出されるとともに酸化生成物を含む第4の流体が流れる第4の流路と、
前記第1の流路の途中に設けられ、前記第1の流体を加湿する加湿器と、
前記第1の流路の途中であって、前記加湿器の後段に設けられ、加湿された前記第1の流体を処理して加湿された前記第1の流体に含まれる水蒸気の一部を凝縮させることにより凝縮水を生成し、加湿された前記第1の流体中の前記凝縮水の比率を調整する凝縮器と、
を具備する、電気化学反応装置。
続きを表示(約 910 文字)
【請求項2】
前記凝縮器は、温度調節器を有する、
請求項1に記載の電気化学反応装置。
【請求項3】
前記凝縮器は、前記凝縮器から排出される処理された前記第1の流体の温度が前記凝縮器に供給される加湿された前記第1の流体の露点よりも低くなるように、前記第1の流体を処理する、
請求項2に記載の電気化学反応装置。
【請求項4】
複数の前記凝縮器を有する、
請求項1に記載の電気化学反応装置。
【請求項5】
前記電解部は、前記凝縮器を有する、
請求項1に記載の電気化学反応装置。
【請求項6】
水を含む液体を前記第1の流路に供給する液体供給部をさらに具備する、
請求項1に記載の電気化学反応装置。
【請求項7】
前記第1の流体に含まれる液体を除去する液体除去部をさらに具備する、
請求項1に記載の電気化学反応装置。
【請求項8】
前記加湿器および前記凝縮器を制御する制御装置をさらに具備する、
請求項1に記載の電気化学反応装置。
【請求項9】
前記加湿器、前記凝縮器、前記電解部、前記第1の流路、前記第2の流路、前記第3の流路、前記第4の流路、前記第1の流体、前記第2の流体、前記第3の流体、および前記第4の流体の少なくとも一つのパラメータを検出する、少なくとも一つの検出器をさらに具備し、
前記制御装置は、
前記少なくとも一つの検出器からの検出信号を受信する受信部と、
前記検出信号に基づいて演算処理を実行する演算部と、
前記演算処理の結果に基づいて前記加湿器および前記凝縮器の少なくとも一つを制御する制御部と、
を含む、
請求項8に記載の電気化学反応装置。
【請求項10】
前記少なくとも一つの検出器は、温度計、圧力計、露点計、電流計、電圧計、ガス流量計、およびガス組成分析計からなる群より選ばれる、
請求項9に記載の電気化学反応装置。
(【請求項11】以降は省略されています)
発明の詳細な説明
【技術分野】
【0001】
本発明の実施形態は、電気化学反応装置に関する。
続きを表示(約 2,800 文字)
【背景技術】
【0002】
近年、石油や石炭といった化石燃料の枯渇が懸念され、持続的に利用できる再生可能エネルギーへの期待が高まっている。再生可能エネルギーとしては、太陽電池や風力発電等が挙げられる。これらは発電量が天候や自然状況に依存するため、電力の安定供給が難しいという課題を有している。そのため、再生可能エネルギーで発生させた電力を蓄電池に貯蔵し、電力を安定化させることが試みられている。しかし、電力を貯蔵する場合、蓄電池にコストを要したり、また蓄電時にロスが発生したりするといった問題がある。
【0003】
このような点に対して、再生可能エネルギーで発生させた電力を用いて水電解を行い、水から水素を製造したり、あるいは二酸化炭素を電気化学的に還元し、一酸化炭素、ギ酸、メタノール、メタン、酢酸、エタノール、エタン、エチレン等の炭素化合物を製造したり、あるいは窒素を電気化学的に還元し、アンモニアを製造したりするような、電気エネルギーを化学物質(化学エネルギー)に変換する技術が注目されている。これらの化学物質をボンベやタンクに貯蔵する場合、電力(電気エネルギー)を蓄電池に貯蔵する場合に比べて、エネルギーの貯蔵コストを低減することができ、また貯蔵ロスも少ないという利点がある。
【0004】
このような電気化学反応は通常、電解セルや、それを積層したセルスタックを備えた装置で実施される。セルスタックにおいては、反応に用いる液体やガスの成分が固体の塩として析出することがある。例えばアノードに電解液、カソードに二酸化炭素ガスを供給した電解セルでは、カソード近傍で炭酸塩が析出し、これがカソード触媒表面の反応場に二酸化炭素が達するのを阻害して電解セル性能の低下やセル内部の圧力異常を引き起こす。そのため、塩析出の抑制手法や、析出してしまった塩の除去手法が求められている。これについてセル外から水等のリンス材をセル流路に供給する方法が知られているが、特に複数の電解セルを積層したセルスタックにおいては適用が難しい。電解セルごとにリンス材供給機構を設けると装置が大型化してしまう一方、セルスタックの入口にまとめてリンス材を供給すると各電解セルへ適切にリンス材を分配供給することが困難である。
【0005】
これに対し、予備流路を設けてリンス材を流通させておき、バルブ操作によって流通方向を切り替えてリンス操作を行うことで、スタックの各セルに適切にリンス材を供給可能な電気化学反応装置が知られている。しかしながら、この方法では切替機構を備えた複雑な配管構造が必要となるため、新たなリンス材の供給方法が求められている。
【先行技術文献】
【特許文献】
【0006】
特開2022-141239号公報
【非特許文献】
【0007】
J. Disch et al., J. Mater. Chem. A, 11, 7344-7357 (2023).
【発明の概要】
【発明が解決しようとする課題】
【0008】
本発明の実施形態が解決しようとする課題は、長寿命かつ構造が簡素な電気化学反応装置を提供することである。
【課題を解決するための手段】
【0009】
実施形態の電気化学反応装置は、カソードと、アノードと、カソードとアノードとの間の隔膜と、カソードに面するカソード室と、アノードに面するアノード室と、を備える電解部と、カソード室の入口に接続され、カソード室に供給される還元対象物を含む第1の流体が流れる第1の流路と、アノード室の入口に接続され、アノード室に供給される酸化対象物を含む第2の流体が流れる第2の流路と、カソード室の出口に接続され、カソード室から排出されるとともに還元生成物を含む第3の流体が流れる第3の流路と、アノード室の出口に接続され、アノード室から排出されるとともに酸化生成物を含む第4の流体が流れる第4の流路と、第1の流路の途中に設けられ、第1の流体を加湿する加湿器と、第1の流路の途中であって、加湿器の後段に設けられ、加湿された第1の流体を処理して加湿された第1の流体に含まれる水蒸気の一部を凝縮させることにより凝縮水を生成し、加湿された第1の流体中の凝縮水の比率を調整する凝縮器と、を具備する。
【図面の簡単な説明】
【0010】
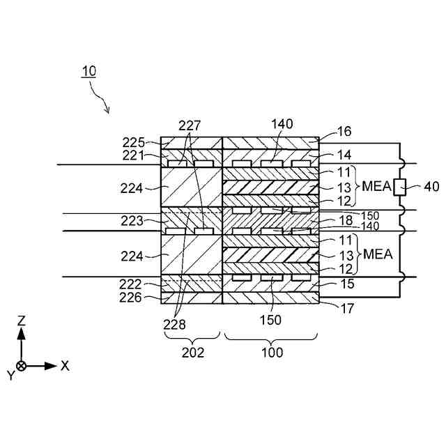
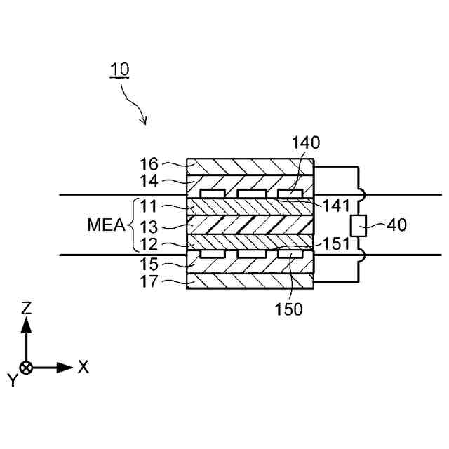
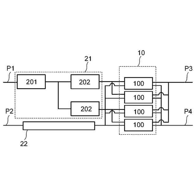
実施形態の電気化学反応装置の構成例を示す模式図である。
電解部10の他の構成例を示す模式図である。
電解部10の他の構成例を示す模式図である。
凝縮器202の構造例を示す断面模式図である。
実施形態の電気化学反応装置の他の構成例を示す模式図である。
実施形態の電気化学反応装置の他の構成例を示す模式図である。
図6に示す電解部10の構成例を示す断面模式図である。
補助流路板221の構造例を示す模式図である。
補助流路板221の構造例を示す模式図である。
補助流路板221の構造例を示す模式図である。
補助流路板222の構造例を示す模式図である。
補助流路板222の構造例を示す模式図である。
補助流路板222の構造例を示す模式図である。
補助流路板223の構造例を示す模式図である。
補助流路板223の構造例を示す模式図である。
補助流路板223の構造例を示す模式図である。
補助流路板222の他の構造例を示す模式図である。
補助流路板223の他の構造例を示す模式図である。
電解部10の他の構成例を示す断面模式図である。
補助流路板211の構造例を示す模式図である。
補助流路板211の構造例を示す模式図である。
補助流路板211の構造例を示す模式図である。
補助流路板212の構造例を示す模式図である。
補助流路板212の構造例を示す模式図である。
補助流路板212の構造例を示す模式図である。
補助流路板213の構造例を示す模式図である。
補助流路板213の構造例を示す模式図である。
補助流路板213の構造例を示す模式図である。
補助流路板212の他の構造例を示す模式図である。
補助流路板213の他の構造例を示す模式図である。
実施形態の電気化学反応装置の他の構成例を示す模式図である。
実施形態の電気化学反応装置の他の構成例を示す模式図である。
【発明を実施するための形態】
(【0011】以降は省略されています)
この特許をJ-PlatPat(特許庁公式サイト)で参照する
関連特許
株式会社東芝
センサ
2か月前
株式会社東芝
センサ
1か月前
株式会社東芝
端子台
8日前
株式会社東芝
モータ
1か月前
株式会社東芝
センサ
1か月前
株式会社東芝
吸音装置
1か月前
株式会社東芝
除去装置
1日前
株式会社東芝
電子回路
17日前
株式会社東芝
金型構造
1か月前
株式会社東芝
電子装置
21日前
株式会社東芝
電子装置
1か月前
株式会社東芝
高周波回路
17日前
株式会社東芝
半導体装置
17日前
株式会社東芝
半導体装置
23日前
株式会社東芝
半導体装置
21日前
株式会社東芝
半導体装置
17日前
株式会社東芝
半導体装置
23日前
株式会社東芝
半導体装置
17日前
株式会社東芝
半導体装置
1か月前
株式会社東芝
半導体装置
17日前
株式会社東芝
半導体装置
1か月前
株式会社東芝
半導体装置
17日前
株式会社東芝
半導体装置
1か月前
株式会社東芝
半導体装置
23日前
株式会社東芝
半導体装置
21日前
株式会社東芝
半導体装置
24日前
株式会社東芝
真空バルブ
22日前
株式会社東芝
半導体装置
21日前
株式会社東芝
電動送風機
2か月前
株式会社東芝
半導体装置
22日前
株式会社東芝
半導体装置
1か月前
株式会社東芝
粒子加速器
1か月前
株式会社東芝
半導体装置
1か月前
株式会社東芝
半導体装置
1か月前
株式会社東芝
半導体装置
1か月前
株式会社東芝
半導体装置
23日前
続きを見る
他の特許を見る