TOP
|
特許
|
意匠
|
商標
特許ウォッチ
Twitter
他の特許を見る
公開番号
2025037120
公報種別
公開特許公報(A)
公開日
2025-03-17
出願番号
2023143895
出願日
2023-09-05
発明の名称
保持部材
出願人
日本特殊陶業株式会社
代理人
個人
主分類
H01L
21/683 20060101AFI20250310BHJP(基本的電気素子)
要約
【課題】保持面において静電引力を均一に発生させることができる保持部材を提供すること。
【解決手段】保持面11と、Z軸方向にて保持面11とは反対側に設けられる下面12と、保持面11と下面12の間に配置されるチャック電極50と、チャック電極50と外部電源に接続された給電端子66とを電気的に接続する導通部材と、を備え、保持面11上に半導体ウエハWを保持する静電チャック1において、導通部材は、チャック電極50に接続する接続電極60を有し、接続電極60は、Z軸方向に延びるとともにチャック電極50の外周に沿う形状をなすものである。
【選択図】図2
特許請求の範囲
【請求項1】
第1の面と、厚み方向にて前記第1の面とは反対側に設けられる第2の面と、前記第1の面と前記第2の面の間に配置されるチャック電極と、前記チャック電極と外部電源に接続された給電端子とを電気的に接続する導通部材と、を備え、前記第1の面上に対象物を保持する保持部材において、
前記導通部材は、前記チャック電極に接続する接続電極を有し、
前記接続電極は、前記厚み方向に延びるとともに前記チャック電極の外周に沿う形状をなすものである
ことを特徴とする保持部材。
続きを表示(約 400 文字)
【請求項2】
請求項1に記載する保持部材において、
前記接続電極は、前記チャック電極の外周側面に接続されている
ことを特徴とする保持部材。
【請求項3】
請求項1に記載する保持部材において、
前記接続電極は、等間隔に分割配置されている
ことを特徴とする保持部材。
【請求項4】
請求項1に記載する保持部材において、
前記接続電極は、前記チャック電極の外周全域に配置されている
ことを特徴とする保持部材。
【請求項5】
請求項1から請求項4に記載するいずれか1つの保持部材において、
前記導通部材は、前記給電端子から前記接続電極までの給電経路に配置されるビアを備えており、
前記接続電極は、前記厚み方向視で、前記ビアと重なり合わない位置に配置されている
ことを特徴とする保持部材。
発明の詳細な説明
【技術分野】
【0001】
本開示は、対象物を保持する保持部材に関する。
続きを表示(約 1,300 文字)
【背景技術】
【0002】
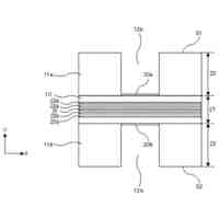
半導体製造工程において、半導体ウエハを保持するために、保持装置(例えば静電チャック等)が使用されている。この種の保持装置では、保持面に半導体ウエハを保持するための静電引力を発生させるチャック電極を備えている(特許文献1参照)。
【0003】
そして、チャック電極がビアを介して給電端子に接続されており、外部電源から給電端子及びビアを介してチャック電極に給電されるようになっている。チャック電極へ給電されると保持面に静電引力が発生して、その静電引力によって半導体ウエハが保持面に保持されるようになっている。
【先行技術文献】
【特許文献】
【0004】
特開2021-167529号公報
【発明の概要】
【発明が解決しようとする課題】
【0005】
しかしながら、上記の保持装置のようにチャック電極にビアを接続する場合、接続箇所において、ビアと接続パッドが複数重なり合っている(積層されている)ため、厚み方向にかさ上げされてしまい、チャック電極がビア(及び接続パッド)によって保持面側へ突き上げられてしまう。そのため、チャック電極が保持面側へ凸となり、局所的に保持面とチャック電極との距離(絶縁距離)が変化してしまう。その結果、保持面において静電引力の大きさがばらついてしまって均一にならないおそれがある。
【0006】
そこで、本開示は上記した問題点を解決するためになされたものであり、保持面において静電引力を均一に発生させることができる保持部材を提供することを目的とする。
【課題を解決するための手段】
【0007】
上記課題を解決するためになされた本開示の一形態は、
第1の面と、厚み方向にて前記第1の面とは反対側に設けられる第2の面と、前記第1の面と前記第2の面の間に配置されるチャック電極と、前記チャック電極と外部電源に接続された給電端子とを電気的に接続する導通部材と、を備え、前記第1の面上に対象物を保持する保持部材において、
前記導通部材は、前記チャック電極に接続する接続電極を有し、
前記接続電極は、前記厚み方向に延びるとともに前記チャック電極の外周に沿う形状をなすものであることを特徴とする。
【0008】
この保持装置では、厚み方向に延びるとともにチャック電極の外周に沿う形状(シート状)の接続電極をチャック電極に接続している。つまり、チャック電極にビアを接続していない。そして、接続電極が厚み方向に延びるとともにチャック電極の外周に沿う形状(シート状)をなしているため、接続電極とチャック電極との接続箇所において、接続電極がチャック電極を保持面側へ突き上げることがない。
【0009】
そのため、保持面とチャック電極との距離(絶縁距離)を一定にすることができる。従って、チャック電極により、保持面において静電引力を均一に発生させることができる。
【0010】
上記した保持部材において、
前記接続電極は、前記チャック電極の外周側面に接続されていることが好ましい。
(【0011】以降は省略されています)
この特許をJ-PlatPat(特許庁公式サイト)で参照する
関連特許
日本特殊陶業株式会社
センサ
7日前
日本特殊陶業株式会社
センサ
1か月前
日本特殊陶業株式会社
賦形体
14日前
日本特殊陶業株式会社
保持装置
1か月前
日本特殊陶業株式会社
圧電素子
1か月前
日本特殊陶業株式会社
反応装置
今日
日本特殊陶業株式会社
保持装置
26日前
日本特殊陶業株式会社
保持装置
19日前
日本特殊陶業株式会社
ガスセンサ
21日前
日本特殊陶業株式会社
ガスセンサ
5日前
日本特殊陶業株式会社
化学センサ
28日前
日本特殊陶業株式会社
電極埋設部材
27日前
日本特殊陶業株式会社
アンテナ装置
今日
日本特殊陶業株式会社
アンテナ装置
今日
日本特殊陶業株式会社
アンテナ装置
今日
日本特殊陶業株式会社
スパークプラグ
26日前
日本特殊陶業株式会社
無鉛圧電磁器組成物
1か月前
日本特殊陶業株式会社
セルスタックシステム
26日前
日本特殊陶業株式会社
アンモニアの合成装置
1か月前
日本特殊陶業株式会社
アンモニアの合成装置
1か月前
日本特殊陶業株式会社
超音波トランスデューサ
5日前
日本特殊陶業株式会社
超音波トランスデューサ
5日前
日本特殊陶業株式会社
電極および蓄電デバイス
27日前
日本特殊陶業株式会社
電極および蓄電デバイス
27日前
日本特殊陶業株式会社
検知装置および検知方法
26日前
日本特殊陶業株式会社
アンモニアの合成システム
1か月前
日本特殊陶業株式会社
磁性コイル、および無線給電用デバイス
26日前
日本特殊陶業株式会社
無線給電用コイル、および無線給電用デバイス
13日前
日本特殊陶業株式会社
多孔性担体、触媒体、および多孔性担体の製造方法
7日前
日本特殊陶業株式会社
屋内緑化システム、制御方法、および制御プログラム
6日前
日本特殊陶業株式会社
酸素発生反応用触媒、電極、および電気化学デバイス
19日前
日本特殊陶業株式会社
センサ素子、ガスセンサ、およびセンサ素子の製造方法
27日前
日本特殊陶業株式会社
インターカレーションのための溶液、インターカレーション方法、電極の製造方法、電極および電気化学素子
1か月前
日本特殊陶業株式会社
電気化学セル、固体酸化物形電解セル、セルスタック、ホットモジュール、およびガス製造装置
1か月前
東ソー株式会社
絶縁電線
1か月前
APB株式会社
蓄電セル
1か月前
続きを見る
他の特許を見る