TOP
|
特許
|
意匠
|
商標
特許ウォッチ
Twitter
他の特許を見る
公開番号
2025029662
公報種別
公開特許公報(A)
公開日
2025-03-07
出願番号
2023134410
出願日
2023-08-22
発明の名称
コネクタ装置
出願人
住友電装株式会社
代理人
弁理士法人グランダム特許事務所
主分類
H01R
13/639 20060101AFI20250228BHJP(基本的電気素子)
要約
【課題】コネクタが半嵌合状態で放置されることを防止し得るコネクタ装置を提供できる。
【解決手段】ロックアーム24は、第1コネクタ20と第2コネクタとの嵌合過程でロック部76に接触可能な位置に第1当接面52を具備している。第1当接面52は、ロック部76との接触を開始する接触開始位置から後方に延びてロック部76が摺動する摺動部位54を含む。摺動部位54は、前後方向に対して傾斜している。第1コネクタ20と第2コネクタ30との嵌合過程において、ロック部76が接触開始位置で第1当接面52に接触するときに、第1端子21と第2端子71とが非接触状態に配される。ロックアーム24は、ロック部76に接触可能な第2当接面57を具備している。第2当接面57は、第1当接面52の後方に形成され、前後方向に対する傾斜角度が第1当接面52よりも大きい。
【選択図】図5
特許請求の範囲
【請求項1】
互いに嵌合可能な第1コネクタ及び第2コネクタを備え、
前記第1コネクタは、第1端子と、前記第1端子を収容する第1ハウジングと、前記第1ハウジングに形成されて弾性変形可能なロックアームと、を有し、
前記第2コネクタは、第2端子と、前記第2端子を収容する第2ハウジングと、前記第2ハウジングに形成されて前記ロックアームが係止するロック部と、を有し、
前記ロックアームは、前記第1コネクタと前記第2コネクタとの嵌合方向である前後方向に延び、前端部に前記第1ハウジングに連結される撓み支点部を具備し、
前記ロックアームが前記ロック部に係止した状態で、前記第1端子と前記第2端子とが接触状態に配され、前記第1コネクタと前記第2コネクタとが嵌合状態に保持され、
前記ロックアームは、前記第1コネクタと前記第2コネクタとの嵌合過程で前記ロック部に接触可能な位置に第1当接面を具備し、
前記第1当接面は、前記ロック部との接触を開始する接触開始位置から後方に延びて前記ロック部が当たって摺動する摺動部位を含み、
前記摺動部位は、前記前後方向に対して傾斜し、
前記第1コネクタと前記第2コネクタとの嵌合過程において、前記ロック部が前記接触開始位置で前記第1当接面に接触するときに、前記第1端子と前記第2端子とが非接触状態に配され、
前記ロックアームは、前記ロック部に接触可能な第2当接面を具備し、
前記第2当接面は、前記第1当接面の後方に形成され、前記前後方向に対する傾斜角度が前記第1当接面よりも大きいコネクタ装置。
続きを表示(約 380 文字)
【請求項2】
前記ロックアームは、前記第1当接面と前記第2当接面との間において、前記前後方向に沿うストレート面を具備している請求項1に記載のコネクタ装置。
【請求項3】
前記第1端子は、雌型端子であり、
前記第2端子は、雄型端子であり、
前記第1ハウジングは、前記第1端子を当て止め可能な前壁を具備し、
前記前壁には、前記第2端子が挿入される貫通孔が設けられ、
前記ロック部が前記接触開始位置で前記第1当接面に接触するときに、前記第1端子と前記第2端子が前記前壁の前記貫通孔を介して離れて配される請求項1に記載のコネクタ装置。
【請求項4】
前記ロック部が前記摺動部位に摺動している間、前記第1端子と前記第2端子とが非接触状態に配される請求項1から請求項3のいずれか一項に記載のコネクタ装置。
発明の詳細な説明
【技術分野】
【0001】
本開示は、コネクタ装置に関する。
続きを表示(約 2,900 文字)
【背景技術】
【0002】
特許文献1に開示されるコネクタは、雌コネクタの可撓性アームの突起が雄コネクタの係止部を乗り越えることで、雄コネクタと雌コネクタとの嵌合が完了する構成である。特許文献2に開示されるコネクタも同様に、雌コネクタのロックアームの係止部がたわんで雄コネクタの被係止部を乗り越えることで、雄コネクタと雌コネクタとの嵌合が完了する構成である。
【先行技術文献】
【特許文献】
【0003】
実開平6-50268号公報
特開2006-147291号公報
【発明の概要】
【発明が解決しようとする課題】
【0004】
特許文献1のコネクタでは、雄コネクタの係止部と雌コネクタの可撓性アームの突起とが接触開始する半嵌合状態において、雄端子と雌端子とが接触可能である。そのため、このコネクタは、半嵌合状態にあるにもかかわらず雄端子と雌端子とを介した導通検査をした場合に、雄端子と雌端子とが導通することで、嵌合状態であると判断される懸念がある。特許文献2のコネクタでは、ロックアームにおいて前端と係止部との間が前後方向に沿う平坦面になっており、ロックアームの係止部を乗り越える際の嵌合力が大きくなる懸念がある。
【0005】
本開示は、コネクタが半嵌合状態で放置されることを防止し得るコネクタ装置を提供する。
【課題を解決するための手段】
【0006】
本開示のコネクタ装置は、
互いに嵌合可能な第1コネクタ及び第2コネクタを備え、
前記第1コネクタは、第1端子と、前記第1端子を収容する第1ハウジングと、前記第1ハウジングに形成されて弾性変形可能なロックアームと、を有し、
前記第2コネクタは、第2端子と、前記第2端子を収容する第2ハウジングと、前記第2ハウジングに形成されて前記ロックアームが係止するロック部と、を有し、
前記ロックアームは、前記第1コネクタと前記第2コネクタとの嵌合方向である前後方向に延び、前端部に前記第1ハウジングに連結される撓み支点部を具備し、
前記ロックアームが前記ロック部に係止した状態で、前記第1端子と前記第2端子とが接触状態に配され、前記第1コネクタと前記第2コネクタとが嵌合状態に保持され、
前記ロックアームは、前記第1コネクタと前記第2コネクタとの嵌合過程で前記ロック部に接触可能な位置に第1当接面を具備し、
前記第1当接面は、前記ロック部との接触を開始する接触開始位置から後方に延びて前記ロック部が当たって摺動する摺動部位を含み、
前記摺動部位は、前記前後方向に対して傾斜し、
前記第1コネクタと前記第2コネクタとの嵌合過程において、前記ロック部が前記接触開始位置で前記第1当接面に接触するときに、前記第1端子と前記第2端子とが非接触状態に配され、
前記ロックアームは、前記ロック部に接触可能な第2当接面を具備し、
前記第2当接面は、前記第1当接面の後方に形成され、前記前後方向に対する傾斜角度が前記第1当接面よりも大きい。
【発明の効果】
【0007】
本開示は、コネクタが半嵌合状態で放置されることを防止し得るコネクタ装置を提供できる。
【図面の簡単な説明】
【0008】
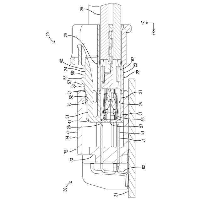
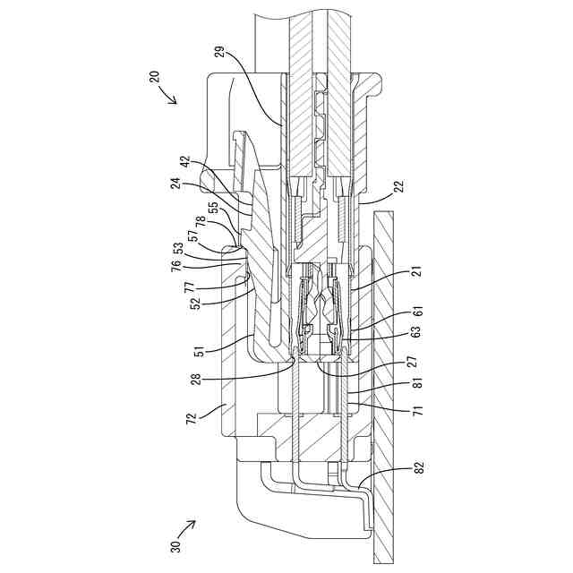
図1は、実施形態1のコネクタ装置の斜視図である。
図2は、実施形態1のコネクタ装置の分解斜視図である。
図3は、実施形態1の第1コネクタの斜視図である。
図4は、実施形態1の第2コネクタの斜視図である。
図5は、実施形態1のコネクタ装置が接触開始位置にあるときの側断面図である。
図6は、実施形態1のロック部が第2当接面に接触開始した位置における コネクタ装置の側断面図である。
図7は、実施形態1の嵌合完了状態のコネクタ装置の側断面図である。
【発明を実施するための形態】
【0009】
[本開示の実施形態の説明]
以下では、本開示の実施形態が列記されて例示される。
〔1〕本開示のコネクタ装置は、互いに嵌合可能な第1コネクタ及び第2コネクタを備え、前記第1コネクタは、第1端子と、前記第1端子を収容する第1ハウジングと、前記第1ハウジングに形成されて弾性変形可能なロックアームと、を有し、前記第2コネクタは、第2端子と、前記第2端子を収容する第2ハウジングと、前記第2ハウジングに形成されて前記ロックアームが係止するロック部と、を有し、前記ロックアームは、前記第1コネクタと前記第2コネクタとの嵌合方向である前後方向に延び、前端部に前記第1ハウジングに連結される撓み支点部を具備し、前記ロックアームが前記ロック部に係止した状態で、前記第1端子と前記第2端子とが接触状態に配され、前記第1コネクタと前記第2コネクタとが嵌合状態に保持され、前記ロックアームは、前記第1コネクタと前記第2コネクタとの嵌合過程で前記ロック部に接触可能な位置に第1当接面を具備し、前記第1当接面は、前記ロック部との接触を開始する接触開始位置から後方に延びて前記ロック部が当たって摺動する摺動部位を含み、前記摺動部位は、前記前後方向に対して傾斜し、前記第1コネクタと前記第2コネクタとの嵌合過程において、前記ロック部が前記接触開始位置で前記第1当接面に接触するときに、前記第1端子と前記第2端子とが非接触状態に配され、前記ロックアームは、前記ロック部に接触可能な第2当接面を具備し、前記第2当接面は、前記第1当接面の後方に形成され、前記前後方向に対する傾斜角度が前記第1当接面よりも大きい。
【0010】
上記〔1〕の構成では、第1コネクタと第2コネクタとの嵌合過程において、ロック部が接触開始位置で第1当接面に接触するときに、第1端子と第2端子とが非接触状態に配される。そのため、ロック部が接触開始位置で第1当接面に接触する状態のときに、第1端子と第2端子とが導通せず、導通検査で第1コネクタと第2コネクタとの半嵌合を把握できる。その上で、第1当接面の摺動部位が前後方向に対して傾斜しているため、嵌合過程における比較的早い段階でロックアームを撓ませて嵌合操作に必要な力を低減できる。また、ロックアームは、前後方向に対する傾斜角度が第1当接面よりも大きい第2当接面を具備している。そのため、ロック部が第2当接面を通過する際に、途中で嵌合を止めることなく一気に嵌合され易く、第1コネクタと第2コネクタとの嵌合が完了し易くなる。特に、第2当接面は、撓み支点部に対して第1当接面よりも離れた位置にあり、第2当接面を通過する際に挿入力を低減させ易くなる。したがって、コネクタ装置は、第1コネクタと第2コネクタとの半嵌合状態で放置されることを防止できる。
(【0011】以降は省略されています)
この特許をJ-PlatPat(特許庁公式サイト)で参照する
関連特許
住友電装株式会社
端子台
18日前
住友電装株式会社
コネクタ
2日前
住友電装株式会社
コネクタ
11日前
住友電装株式会社
コネクタ
10日前
住友電装株式会社
コネクタ
22日前
住友電装株式会社
プロテクタ
23日前
住友電装株式会社
シールドコネクタ
2日前
住友電装株式会社
電気接続箱および制御ユニット
24日前
住友電装株式会社
端子台、及び端子台の製造方法
24日前
住友電装株式会社
外導体端子及びシールドコネクタ
2日前
住友電装株式会社
プロテクタとホルダとの一体化ユニット
8日前
住友電装株式会社
プロテクタ及びプロテクタ付ワイヤハーネス
8日前
株式会社オートネットワーク技術研究所
雌端子
3日前
株式会社オートネットワーク技術研究所
コネクタ
4日前
株式会社オートネットワーク技術研究所
コネクタ
23日前
株式会社オートネットワーク技術研究所
コネクタ
4日前
株式会社オートネットワーク技術研究所
車載装置
23日前
株式会社オートネットワーク技術研究所
接続構造体
23日前
株式会社オートネットワーク技術研究所
コネクタ装置
23日前
株式会社オートネットワーク技術研究所
コネクタ装置
23日前
株式会社オートネットワーク技術研究所
車載用制御装置
16日前
住友電装株式会社
電気接続箱
15日前
株式会社オートネットワーク技術研究所
コネクタのガイド構造
23日前
住友電装株式会社
バスバユニット
2日前
株式会社オートネットワーク技術研究所
端子金具、及びコネクタ
3日前
株式会社オートネットワーク技術研究所
端子金具、及びコネクタ
3日前
住友電装株式会社
配線部材の配索構造
4日前
住友電装株式会社
配線部材の配索構造
2日前
株式会社オートネットワーク技術研究所
端子材料および電気接続端子
18日前
株式会社オートネットワーク技術研究所
端子材料および電気接続端子
18日前
株式会社オートネットワーク技術研究所
端子材料および電気接続端子
22日前
株式会社オートネットワーク技術研究所
筐体、および車両用充電装置
22日前
株式会社オートネットワーク技術研究所
ワイヤハーネス、及び接続構造体
23日前
株式会社オートネットワーク技術研究所
端子金具、実装基板及び基板装置
17日前
株式会社オートネットワーク技術研究所
金属部材および金属部材の製造方法
22日前
株式会社オートネットワーク技術研究所
車載装置、情報処理方法及びプログラム
24日前
続きを見る
他の特許を見る