TOP
|
特許
|
意匠
|
商標
特許ウォッチ
Twitter
他の特許を見る
公開番号
2024179745
公報種別
公開特許公報(A)
公開日
2024-12-26
出願番号
2023098850
出願日
2023-06-16
発明の名称
内燃機関のパージガス濃度推定方法及び内燃機関のパージガス濃度推定装置
出願人
日産自動車株式会社
代理人
個人
,
個人
主分類
F02M
25/08 20060101AFI20241219BHJP(燃焼機関;熱ガスまたは燃焼生成物を利用する機関設備)
要約
【課題】パージガス濃度を精度良く推定する
【解決手段】内燃機関1は、空燃比フィードバック補正係数αを用いて空燃比が理論空燃比となるようにフィードバック制御しているアイドル運転時に、吸気通路4に接続されたパージ通路33を開閉するパージ制御弁34を所定開度以上開弁するとともに、パージポンプ35を駆動して発生させたパージ通路33と吸気通路4との差圧を利用して燃料タンク28からの蒸発燃料を含むパージガスをパージ通路33から吸気通路4に導入し、このパージガスの導入中にパージガスの濃度推定を実施する。
【選択図】図1
特許請求の範囲
【請求項1】
空燃比フィードバック補正係数を用いて空燃比が理論空燃比となるようにフィードバック制御している内燃機関のアイドル運転時に、
吸気通路に接続されたパージ通路を開閉するパージ制御弁を所定開度以上開弁するとともに、パージポンプを駆動して発生させた上記パージ通路と上記吸気通路との差圧を利用して燃料タンクからの蒸発燃料を含むパージガスを上記パージ通路から上記吸気通路に導入し、
上記パージガスの上記吸気通路への導入中に、上記パージガスの濃度推定を実施することを特徴とする内燃機関のパージガス濃度推定方法。
続きを表示(約 1,100 文字)
【請求項2】
上記パージガスの上記吸気通路への導入中に、上記空燃比フィードバック補正係数が所定の基準値に対して所定量以上ずれた際に、上記パージガスの濃度推定を実施することを特徴とする請求項1に記載の内燃機関のパージガス濃度推定方法。
【請求項3】
上記パージガスの上記吸気通路への導入中に、上記空燃比フィードバック補正係数が上記基準値よりも小さい所定の第1閾値以下になった際に、上記パージガスの濃度推定を実施することを特徴とする請求項2に記載の内燃機関のパージガス濃度推定方法。
【請求項4】
上記パージガスの上記吸気通路への導入中に、上記空燃比フィードバック補正係数が上記基準値よりも大きい所定の第2閾値以上になった際に、上記パージガスの濃度推定を実施することを特徴とする請求項2または3に記載の内燃機関のパージガス濃度推定方法。
【請求項5】
上記パージポンプは、使用可能な最高回転数よりも低い所定回転数で運転することを特徴とする請求項1に記載の内燃機関のパージガス濃度推定方法。
【請求項6】
上記所定回転数は、上記パージガスを安定して上記吸気通路に導入することが可能となる差圧が得られる最低限の回転数であることを特徴とする請求項5に記載の内燃機関のパージガス濃度推定方法。
【請求項7】
上記パージガスの上記吸気通路へ導入する際の上記パージ制御弁の開度は、50%以上であることを特徴とする請求項1に記載の内燃機関のパージガス濃度推定方法。
【請求項8】
上記パージガスの上記吸気通路への導入中に、上記空燃比フィードバック補正係数が上記基準値に対して上記所定量以上ずれた状態が予め設定された所定時間継続した際に、上記パージガスの濃度推定を実施することを特徴とする請求項2に記載の内燃機関のパージガス濃度推定方法。
【請求項9】
空燃比フィードバック補正係数を用いて空燃比が理論空燃比となるようにフィードバック制御している内燃機関のアイドル運転時に、吸気通路に接続されたパージ通路を開閉するパージ制御弁を所定開度以上開弁するとともに、パージポンプを駆動して発生させた上記パージ通路と上記吸気通路との差圧を利用して燃料タンクからの蒸発燃料を含むパージガスを上記パージ通路から上記吸気通路に導入する制御部と、
上記パージガスの上記吸気通路への導入中に、上記パージガスの濃度推定を実施するパージガス濃度推定部と、を有することを特徴とする内燃機関のパージガス濃度推定装置。
発明の詳細な説明
【技術分野】
【0001】
本発明は、内燃機関のパージガス濃度推定方法及び内燃機関のパージガス濃度推定装置に関する。
続きを表示(約 1,200 文字)
【背景技術】
【0002】
例えば、特許文献1には、アイドル運転時のパージガスの導入時に排気通路に設けられた酸素濃度センサで検出される酸素濃度と、アイドル運転時のパージガスの非導入時に上記酸素センサで検出される酸素濃度との乖離の大きさに基づいてパージガスの燃料濃度を推定する技術が開示されている。
【0003】
特許文献1においては、パージ調整バルブが開弁されたときに吸気通路の負圧によってスロットル弁よりも下流側の位置でパージ通路からパージガスが吸気通路に導入されている。
【0004】
このような特許文献1においては、内燃機関のアイドル運転中、吸入空気量が少なく、また吸気通路内の負圧が発達することなる。
【先行技術文献】
【特許文献】
【0005】
特開2010-96026号公報
【発明の概要】
【発明が解決しようとする課題】
【0006】
しかしながら特許文献1において、パージガスの燃料濃度を推定する場合、アイドル運転中で吸入空気量が少なく、かつ吸気通路内の負圧が発達していることから、パージ調整バルブの開度が小さくなり、吸気通路に導入されるパージガスの導入量のばらつきが大きくなって、パージガスの濃度推定の精度が悪化する虞がある。つまり、パージガス内の空気/燃料の比であるパージガス濃度を推定するにあたっては、更なる改善の余地がある。
【課題を解決するための手段】
【0007】
本発明の内燃機関は、空燃比フィードバック補正係数を用いて空燃比が理論空燃比となるようにフィードバック制御している内燃機関のアイドル運転時に、吸気通路に接続されたパージ通路を開閉するパージ制御弁を所定開度以上開弁するとともに、パージポンプを駆動して発生させた上記パージ通路と上記吸気通路との差圧を利用して燃料タンクからの蒸発燃料を含むパージガスを上記パージ通路から吸気通路に導入し、このパージガスの導入中に上記パージガスの濃度推定を実施する。
【発明の効果】
【0008】
本発明によれば、上記パージガスの上記吸気通路への導入中であっても、上記吸気通路に導入されるパージガス量が安定しているため、上記パージガスの上記吸気通路への導入中の空燃比フィードバック補正係数の変化から上記パージガス内の空気/燃料の比であるパージガス濃度を精度良く推定することが可能となる。
【図面の簡単な説明】
【0009】
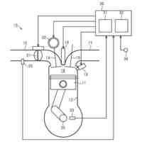
本発明が適用される内燃機関のシステム構成の概略を模式的に示した説明図。
吸気通路にパージガスを導入している際の各種パラメータの挙動の一例を示すタイミングチャート。
本発明が適用された内燃機関の制御の流れを示すフローチャート。
【発明を実施するための形態】
【0010】
以下、本発明の一実施例を図面に基づいて詳細に説明する。
(【0011】以降は省略されています)
この特許をJ-PlatPat(特許庁公式サイト)で参照する
関連特許
日産自動車株式会社
保持機構
13日前
日産自動車株式会社
二次電池
6日前
日産自動車株式会社
二次電池
3日前
日産自動車株式会社
保持機構
7日前
日産自動車株式会社
積層型電池
13日前
日産自動車株式会社
面圧付与機構
13日前
日産自動車株式会社
面圧付与機構
9日前
日産自動車株式会社
電池モジュール
今日
日産自動車株式会社
リチウム二次電池
6日前
日産自動車株式会社
エンジンのアンダカバー
今日
日産自動車株式会社
ギヤ装置のブリーザ構造
9日前
株式会社ニフコ
締結構造
今日
日産自動車株式会社
相乗り可否判定方法及び装置
3日前
日産自動車株式会社
車両用荷室における排熱構造
3日前
日産自動車株式会社
配車管理装置及び配車管理方法
14日前
日産自動車株式会社
車両制御装置及び車両制御方法
14日前
日産自動車株式会社
画像処理方法及び画像処理装置
20日前
日産自動車株式会社
経路案内方法及び経路案内装置
8日前
日産自動車株式会社
画像表示方法及び画像表示装置
20日前
日産自動車株式会社
車載機能制御方法及び車載端末
8日前
日産自動車株式会社
施錠制御方法及び施錠制御装置
2日前
日産自動車株式会社
運転支援方法及び運転支援装置
今日
日産自動車株式会社
運転支援方法及び運転支援装置
1日前
日産自動車株式会社
固体酸化物形燃料電池の製造方法
15日前
日産自動車株式会社
車両制御方法および車両制御装置
1日前
日産自動車株式会社
車両制御方法および車両制御装置
1日前
日産自動車株式会社
車両制御方法および車両制御装置
1日前
日産自動車株式会社
車両管理方法及び車両管理システム
8日前
日産自動車株式会社
内燃機関の油温制御方法および装置
9日前
日産自動車株式会社
充放電制御方法及び充放電制御システム
21日前
日産自動車株式会社
電池劣化診断方法及び電池劣化診断装置
14日前
日産自動車株式会社
電池の仕分け方法及び電池の仕分け装置
14日前
日産自動車株式会社
電池品質診断方法及び電池品質診断装置
14日前
日産自動車株式会社
車体姿勢制御方法及び車体姿勢制御装置
1日前
日産自動車株式会社
車両用内燃機関のトルクダウン制御方法および装置
3日前
日産自動車株式会社
ルート選出装置、ルート選出方法およびプログラム
14日前
続きを見る
他の特許を見る