TOP
|
特許
|
意匠
|
商標
特許ウォッチ
Twitter
他の特許を見る
公開番号
2025172435
公報種別
公開特許公報(A)
公開日
2025-11-26
出願番号
2024077937
出願日
2024-05-13
発明の名称
磁性細線メモリおよびその製造方法
出願人
日本放送協会
代理人
弁理士法人磯野国際特許商標事務所
主分類
H10B
61/00 20230101AFI20251118BHJP()
要約
【課題】本発明は、磁性細線の断線の可能性を低減し、歩留まりを向上できる磁性細線メモリおよびその製造方法を提供することを課題とする。
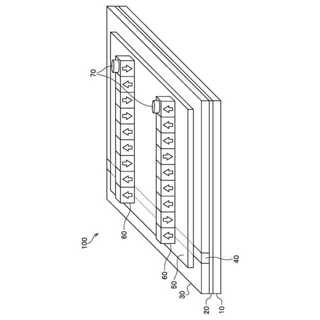
【解決手段】本発明に係る磁性細線メモリ100は、基板10と、前記基板10の上に形成されたエッチングストッパー層20と、前記エッチングストッパー層20の上に形成された直線状の記録素子40と、前記エッチングストッパー層20の上に前記記録素子40に隣接して同じ厚さで形成された素子間絶縁層30と、前記記録素子40および前記素子間絶縁層30の上に形成された層間絶縁層50と、前記層間絶縁層50の上において前記記録素子40に直交するように形成された磁性細線61と、前記磁性細線の上に形成されたトポロジカル絶縁体膜62と、を備え、前記エッチングストッパー層20が、エッチングされない材料からなる。
【選択図】図1
特許請求の範囲
【請求項1】
基板と、
前記基板の上に形成されたエッチングストッパー層と、
前記エッチングストッパー層の上に形成された直線状の記録素子と、
前記エッチングストッパー層の上に前記記録素子に隣接して同じ厚さで形成された素子間絶縁層と、
前記記録素子および前記素子間絶縁層の上に形成された層間絶縁層と、
前記層間絶縁層の上において前記記録素子に直交するように形成された磁性細線と、
前記磁性細線の上に形成されたトポロジカル絶縁体膜と、を備え、
前記エッチングストッパー層が、エッチングされない材料からなる磁性細線メモリ。
続きを表示(約 750 文字)
【請求項2】
前記記録素子の上面と前記素子間絶縁層の上面とが、同一平面である請求項1に記載の磁性細線メモリ。
【請求項3】
エッチングストッパー層が、MgOである請求項1または請求項2に記載の磁性細線メモリ。
【請求項4】
前記素子間絶縁層が、SiO
2
またはSiN
X
である請求項1または請求項2に記載の磁性細線メモリ。
【請求項5】
基板の上にエッチングストッパー層を形成する工程と、
前記エッチングストッパー層の上に素子間絶縁層を形成する工程と、
直線状の記録素子を形成するための領域を、前記素子間絶縁層にエッチングで形成する工程と、
前記領域に記録素子を前記素子間絶縁層と同じ厚さで形成する工程と、
前記記録素子および前記素子間絶縁層の上に層間絶縁層を形成する工程と、
前記層間絶縁層の上において前記記録素子に直交するように磁性細線を形成するとともに前記磁性細線の上にトポロジカル絶縁体膜を形成する工程と、を含み、
前記エッチングストッパー層が、エッチングされない材料からなる磁性細線メモリの製造方法。
【請求項6】
前記素子間絶縁層の上面と前記記録素子の上面とを、同一平面とする請求項5に記載の磁性細線メモリの製造方法。
【請求項7】
前記エッチングストッパー層が、MgOである請求項5または請求項6に記載の磁性細線メモリの製造方法。
【請求項8】
前記素子間絶縁層が、SiO
2
またはSiN
X
である請求項5または請求項6に記載の磁性細線メモリの製造方法。
発明の詳細な説明
【技術分野】
【0001】
本発明は、磁性細線メモリおよびその製造方法に係り、特に、電流磁界により磁化を局所的に反転させることで情報記録を行う磁性細線メモリおよびその製造方法に関する。
続きを表示(約 2,100 文字)
【背景技術】
【0002】
磁性体材料を細線状に加工した媒体において、例えば、上向きや下向きといった磁化の向きに対応した2値情報を記録および再生する磁性細線メモリの研究が進められている。磁性細線メモリは、例えば、磁性細線の上部または下部に、層間絶縁層を介して細線状に形成した導体(以下、記録素子と呼ぶ)を直交配置した構造を備えている(特許文献1)。特許文献1に記載された磁性細線メモリは、記録素子に電流を印加することによって発生する電流磁界を用いて磁性細線中の磁化を局所的に反転して情報の記録を行う。このような磁性細線メモリを並列配置、および積層することで、並列同期制御による超高速動作が可能となる。
【0003】
磁性細線メモリの動作は、記録ビットに相当する磁区を形成する「記録」、形成した磁区を磁性細線中でシフトさせる「駆動」、磁区の磁化方向を検出する「再生」からなる。この3つの動作は電気信号の印加で行われることから、磁性細線メモリは、基本的には機械的な可動部が不要であって電流駆動デバイスとして動作する。したがって、磁性細線メモリの実用化を目指す場合、省電力化は必要不可欠となる。
よって、本出願人は、特許文献2などにおいて、磁性細線メモリの省電力化を目的として、磁性細線の表面にトポロジカル絶縁体膜を接合する技術を提案している。
【先行技術文献】
【特許文献】
【0004】
特開2020-027802号公報
特開2023-151811号公報
【発明の概要】
【発明が解決しようとする課題】
【0005】
従来、磁性細線メモリは、製造プロセスの容易さから、基板の上に、磁性細線、層間絶縁層、記録素子の順に形成するという製造方法が採用されていた。そして、この従来の製造方法において、バリなどが発生しないように磁性細線や記録素子を適切に形成するためには、高温処理(レジストのベイクなど)が必要となる。
ただ、トポロジカル絶縁体膜を備える構成の磁性細線メモリを従来の製造方法で製造する場合、当該絶縁体膜を構成する物質(Bi、Sb原子など)が高温処理で磁性細線に熱拡散してしまい、磁気特性を著しく劣化させてしまう可能性があった。
【0006】
そこで、本発明者らは、従来の磁性細線メモリの構成を天地反転させて、磁性細線およびトポロジカル絶縁体膜の形成を製造プロセスの終盤に行う構成とすることで、高熱処理による悪影響を回避しようと考えた。
しかしながら、従来の磁性細線メモリの構成を単純に天地反転させるだけでは、磁性細線が断線するケース(後に詳述する比較例1、2を参照)が発生することを本発明者らは確認した。
【0007】
このような観点から、本発明は、磁性細線の断線の可能性を低減し、歩留まりを向上できる磁性細線メモリおよびその製造方法を提供することを課題とする。
【課題を解決するための手段】
【0008】
前記課題は、以下の手段により解決することができる。
本発明に係る磁性細線メモリは、基板と、前記基板の上に形成されたエッチングストッパー層と、前記エッチングストッパー層の上に形成された直線状の記録素子と、前記エッチングストッパー層の上に前記記録素子に隣接して同じ厚さで形成された素子間絶縁層と、前記記録素子および前記素子間絶縁層の上に形成された層間絶縁層と、前記層間絶縁層の上において前記記録素子に直交するように形成された磁性細線と、前記磁性細線の上に形成されたトポロジカル絶縁体膜と、を備え、前記エッチングストッパー層が、エッチングされない材料からなる。
【0009】
本発明に係る磁性細線メモリは、エッチングストッパー層を備えることで、記録素子用のエッチング孔を素子間絶縁層に適切に形成でき、エッチング孔に深さのばらつきが生じるといった事態を回避することができる。これにより、本発明に係る磁性細線メモリは、記録素子の上面と素子間絶縁層の上面とを同一平面となるように形成でき、記録素子と素子間絶縁層との境界部分に段差が生じないことから、当該境界部分を跨ぐ磁性細線を平坦な面に形成することができる。
【0010】
また、本発明に係る磁性細線メモリの製造方法は、基板の上にエッチングストッパー層を形成する工程と、前記エッチングストッパー層の上に素子間絶縁層を形成する工程と、直線状の記録素子を形成するための領域を、前記素子間絶縁層にエッチングで形成する工程と、前記領域に記録素子を前記素子間絶縁層と同じ厚さで形成する工程と、前記記録素子および前記素子間絶縁層の上に層間絶縁層を形成する工程と、前記層間絶縁層の上において前記記録素子に直交するように磁性細線を形成するとともに前記磁性細線の上にトポロジカル絶縁体膜を形成する工程と、を含み、前記エッチングストッパー層が、エッチングされない材料からなる。
(【0011】以降は省略されています)
この特許をJ-PlatPat(特許庁公式サイト)で参照する
関連特許
日本放送協会
撮像装置
3か月前
日本放送協会
撮像装置
10か月前
日本放送協会
収音装置
3か月前
日本放送協会
配線構造
6か月前
日本放送協会
無線通信装置
7か月前
日本放送協会
アンテナ装置
3か月前
日本放送協会
光学計測装置
8か月前
日本放送協会
表示システム
1か月前
日本放送協会
マイクロホン
8か月前
日本放送協会
撮像システム
21日前
日本放送協会
基板固定装置
2か月前
日本放送協会
光分布生成装置
3か月前
日本放送協会
磁性細線メモリ
7か月前
日本放送協会
接続用配線基板
1か月前
日本放送協会
磁性細線デバイス
10か月前
日本放送協会
広視野角撮像装置
2か月前
日本放送協会
広視野角撮像装置
2か月前
日本放送協会
映像伝送システム
6か月前
日本放送協会
無線伝送システム
10か月前
日本放送協会
3次元映像表示装置
7か月前
日本放送協会
良撮影位置推定装置
5か月前
日本放送協会
3次元映像表示装置
3か月前
日本放送協会
データ管理システム
10か月前
日本放送協会
角度選択フィルター
5か月前
日本放送協会
受信装置及び送出装置
11か月前
日本放送協会
送信装置及び受信装置
9か月前
日本放送協会
送信装置及び受信装置
2か月前
日本放送協会
送信装置及び受信装置
9か月前
日本放送協会
送信装置及び受信装置
8日前
日本放送協会
送信装置及び受信装置
10か月前
日本放送協会
受信装置及びプログラム
3か月前
日本放送協会
磁壁移動型空間光変調器
11か月前
日本放送協会
縮小装置及びプログラム
4か月前
日本放送協会
受信装置及びプログラム
3か月前
日本放送協会
受信装置及びプログラム
5か月前
日本放送協会
端末装置及びプログラム
11か月前
続きを見る
他の特許を見る