TOP
|
特許
|
意匠
|
商標
特許ウォッチ
Twitter
他の特許を見る
公開番号
2025144489
公報種別
公開特許公報(A)
公開日
2025-10-02
出願番号
2024126119,2024043720
出願日
2024-08-01,2024-03-19
発明の名称
模型玩具用部品、および模型玩具
出願人
株式会社バンダイ
代理人
弁理士法人大塚国際特許事務所
主分類
A63H
3/16 20060101AFI20250925BHJP(スポーツ;ゲーム;娯楽)
要約
【課題】人形体に取り付けられる部品において新規な仕組みを提供する。
【解決手段】人形体に取り付けられる模型玩具用部品は、前記人形体の背部に連結される第1パーツと、前記人形体の一部を覆う第2パーツと、を備え、前記第2パーツは、前記第1パーツに回転可能に連結される。
【選択図】図7
特許請求の範囲
【請求項1】
人形体に取り付けられる模型玩具用部品であって、
前記人形体の背部に連結される第1パーツと、
前記人形体の一部を覆う第2パーツと、
を備え、
前記第2パーツは、前記第1パーツに回転可能に連結される、ことを特徴とする模型玩具用部品。
続きを表示(約 1,000 文字)
【請求項2】
前記第2パーツは、複数の軸の各々を中心として回転可能に前記第1パーツに連結される、ことを特徴とする請求項1に記載の模型玩具用部品。
【請求項3】
第1軸を中心として回転可能に前記第1パーツに連結される第1連結部材と、前記第1軸と軸方向が異なる第2軸を中心として回転可能に前記第1連結部材に連結される第2連結部材と、を更に備え、
前記第2パーツは、前記第1連結部材および前記第2連結部材を介して前記第1パーツに連結される、ことを特徴とする請求項1に記載の模型玩具用部品。
【請求項4】
前記第1パーツおよび前記第1連結部材は、それらの一方に設けられた第1凸部と他方に設けられた第2凹部とが係合することで、前記第1凸部の延伸軸を前記第1軸として互いに回転可能に連結され、
前記第1連結部材および前記第2連結部材は、それらの一方に設けられた第2凸部と他方に設けられた第2凹部とが係合することで、前記第2凸部の延伸軸を前記第2軸として互いに回転可能に連結される、ことを特徴とする請求項3に記載の模型玩具用部品。
【請求項5】
前記第2パーツは、前記第1軸および前記第2軸と軸方向が異なる第3軸を中心として回転可能に前記第2連結部材に連結される、ことを特徴とする請求項3に記載の模型玩具用部品。
【請求項6】
前記第2連結部材および前記第2パーツは、それらの一方に設けられた第3凸部と他方に設けられた第3凹部とが係合することで、前記第3凸部の延伸軸を前記第3軸として互いに回転可能に連結される、ことを特徴とする請求項5に記載の模型玩具用部品。
【請求項7】
前記第2パーツは、前記第1パーツを介して前記人形体に取り付けられ、前記人形体に直接的に連結されていない、ことを特徴とする請求項1に記載の模型玩具用部品。
【請求項8】
前記第2パーツは、前記人形体の前記一部に直接的に連結されていない、ことを特徴とする請求項7に記載の模型玩具用部品。
【請求項9】
前記第2パーツは、前記一部として前記人形体の肩部を覆うパーツである、ことを特徴とする請求項1に記載の模型玩具用部品。
【請求項10】
人形体と、前記人形体に取り付けられる請求項1乃至9のいずれか1項に記載の模型玩具用部品と、を備える模型玩具。
発明の詳細な説明
【技術分野】
【0001】
本発明は、模型玩具用部品、および模型玩具に関する。
続きを表示(約 1,400 文字)
【背景技術】
【0002】
人形型の模型玩具には様々な関節や可動部が含まれ、それにより、様々な動作やポージングを実現することができる。特許文献1には、可動の頭部、胸部、腕部、腰部および脚部を有する人形型の模型玩具(可動フィギア)が提案されている。
【先行技術文献】
【特許文献】
【0003】
特開2024-28120号公報
【発明の概要】
【発明が解決しようとする課題】
【0004】
人形型の模型玩具には、例えば肩アーマーなど人形体の肩部を覆う部品が設けられることがある。このような部品を、人形体の肩部や腕部に直接的に取り付ける構成では、腕部の可動域を制限してしまうことがあり、人形体への部品の取り付けにおける新規な仕組みの提案が求められていた。
【0005】
そこで、人形体に取り付けられる部品において新規な仕組みを提供することを目的とする。
【課題を解決するための手段】
【0006】
本発明の一側面としての模型玩具用部品は、人形体に取り付けられる模型玩具用部品であって、前記人形体の背部に連結される第1パーツと、前記人形体の一部を覆う第2パーツと、を備え、前記第2パーツは、前記第1パーツに回転可能に連結される、ことを特徴とする。
【発明の効果】
【0007】
本発明によれば、人形体に取り付けられる部品において新規な仕組みを提供することができる。
【図面の簡単な説明】
【0008】
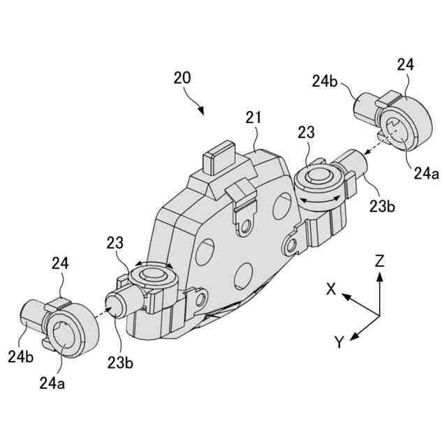
一実施形態の模型玩具の模式図
一実施形態の人形体を背面側から見た図
一実施形態における背アーマーと第1連結部材との連結を説明するための図
一実施形態における第1連結部材と第2連結部材との連結を説明するための図
一実施形態における第2連結部材と肩アーマーとの連結を説明するための図
一実施形態において肩アーマーが背アーマーに連結された状態を示す図
一実施形態において背アーマーおよび肩アーマーを人形体10に取り付けた状態を示す図
【発明を実施するための形態】
【0009】
以下、添付図面を参照して実施形態を詳しく説明する。尚、以下の実施形態は特許請求の範囲に係る発明を限定するものではなく、また実施形態で説明されている特徴の組み合わせの全てが発明に必須のものとは限らない。実施形態で説明されている複数の特徴うち二つ以上の特徴が任意に組み合わされてもよい。また、同一若しくは同様の構成には同一の参照番号を付し、重複した説明は省略する。
【0010】
本発明に係る一実施形態の模型玩具100の構成例について説明する。図1は、一実施形態の模型玩具100の模式図である。本明細書では、説明を分かりやすくするため、人形体10の前後方向をX方向とし、人形体10の左右方向をY方向とし、人形体10の上下方向をZ方向とするXYZ座標系で模型玩具100の方向を示す。+X方向は人形体10の前面側を示しており、-X方向は人形体10の背面側を示している。+Y方向は人形体10の左側を示しており、-Y方向は人形体10の右側を示している。+Z方向は人形体10の上側を示しており、-Z方向は人形体10の下側を示している。
(【0011】以降は省略されています)
この特許をJ-PlatPat(特許庁公式サイト)で参照する
関連特許
株式会社バンダイ
玩具
3日前
株式会社バンダイ
玩具
1か月前
株式会社バンダイ
玩具
5日前
株式会社バンダイ
玩具
1か月前
株式会社バンダイ
玩具
1か月前
株式会社バンダイ
玩具
10日前
株式会社バンダイ
発光玩具
17日前
株式会社バンダイ
模型部品
11日前
株式会社バンダイナムコエンターテインメント
コンピュータシステム
1か月前
株式会社バンダイナムコエンターテインメント
コンピュータシステム
7日前
株式会社バンダイナムコエンターテインメント
コンピュータシステム
1か月前
株式会社バンダイ
模型部品及び模型玩具
4日前
株式会社バンダイ
模型部品及び模型玩具
3日前
株式会社バンダイナムコエンターテインメント
コンピュータシステム
3日前
株式会社バンダイナムコエンターテインメント
コンピュータシステム
7日前
株式会社バンダイ
模型玩具、及び模型部品
7日前
株式会社バンダイ
模型玩具、及び模型部品
4日前
株式会社バンダイ
プログラム及び通信端末
27日前
株式会社バンダイ
模型玩具、及び模型部品
3日前
株式会社バンダイ
プログラム及びゲーム装置
27日前
株式会社バンダイ
プログラム及びゲーム装置
27日前
株式会社バンダイ
模型素体及びその製造方法
11日前
株式会社バンダイ
プログラム及びゲーム装置
27日前
株式会社バンダイ
プログラム及びゲーム装置
27日前
株式会社バンダイ
模型部品、および模型玩具
3日前
株式会社バンダイ
プログラム、及びゲーム装置
28日前
株式会社バンダイ
プログラム、及びゲーム装置
28日前
株式会社バンダイ
プログラム、及びゲーム装置
12日前
株式会社バンダイ
プログラム、及びゲーム装置
17日前
株式会社バンダイ
プログラム、及びゲーム装置
17日前
株式会社バンダイ
プログラム、及びゲーム装置
17日前
株式会社バンダイ
プログラム、及びゲーム装置
3日前
株式会社バンダイ
プログラム、及びゲーム装置
3日前
株式会社バンダイ
プログラム、及びゲーム装置
3日前
株式会社バンダイ
プログラム、及びゲーム装置
3日前
株式会社バンダイ
プログラム、及びゲーム装置
3日前
続きを見る
他の特許を見る