TOP
|
特許
|
意匠
|
商標
特許ウォッチ
Twitter
他の特許を見る
10個以上の画像は省略されています。
公開番号
2025144181
公報種別
公開特許公報(A)
公開日
2025-10-02
出願番号
2024043837
出願日
2024-03-19
発明の名称
通信システム、水中光通信体、及び制御方法
出願人
ソフトバンク株式会社
,
国立大学法人東京海洋大学
代理人
弁理士法人RYUKA国際特許事務所
主分類
H04B
10/80 20130101AFI20250925BHJP(電気通信技術)
要約
【課題】水中光無線通信を行う通信システム、水中光通信体及び制御方法を提供する。
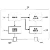
【解決手段】通信システム10は、第2光アンテナ212を含む第2光通信部210、複数の第2レーザ照射部230を含む第2レーザユニット220及び複数の第2レーザ照射部に順番でレーザ光を照射させる第2制御部270を含む第2水中光通信体200と、第1光アンテナ112を含む第1光通信部110、複数の第1レーザ受光部150を含む第1レーザユニット120及び複数の第1レーザ受光部の少なくとも何れかが受光したレーザ光に基づいて第2レーザユニットを検出し、複数の第1レーザ受光部による時系列のレーザ光の受光状況に基づいて第2レーザユニットの相対方向を推定し、相対方向に基づいて2のレーザユニットとの位置合わせをすべく移動機構182を制御して、第1光通信部の光通信の方向を調整する第1制御部170を含む第1水中光通信体100と、を備える。
【選択図】図1
特許請求の範囲
【請求項1】
水中光無線通信を行う通信システムであって、
水中を移動可能な第1水中光通信体と、
第2水中光通信体と
を備え、
前記第2水中光通信体は、
第2光アンテナを含む第2光通信部と、
前記第2光通信部の光通信の向きの方にレーザ光を照射する、複数の第2レーザ照射部を含む第2レーザユニットと、
前記複数の第2レーザ照射部から順番にレーザ光を照射させるよう制御する第2制御部と
を有し、
前記第1水中光通信体は、
第1光アンテナを含む第1光通信部と、
前記第1光通信部の光通信の向きの方からのレーザ光を受光する、前記複数の第2レーザ照射部の配置と同様に配置された複数の第1レーザ受光部を含む第1レーザユニットと、
前記複数の第1レーザ受光部の少なくともいずれかが受光したレーザ光に基づいて前記第2レーザユニットを検出し、前記複数の第1レーザ受光部による時系列のレーザ光の受光状況に基づいて前記第1レーザユニットの位置を基準とした前記第2レーザユニットの相対方向を推定し、前記相対方向に基づいて前記第1レーザユニットと前記第2レーザユニットとの位置合わせをすべく前記第1水中光通信体の移動機構を制御するとともに、前記第1光アンテナが受光する前記第2光アンテナからの光に基づいて、前記第1光通信部の光通信の方向を調整するよう制御する第1制御部と
を有する、
通信システム。
続きを表示(約 2,600 文字)
【請求項2】
前記第2レーザユニットに含まれる前記複数の第2レーザ照射部と、前記第1レーザユニットに含まれる前記複数の第1レーザ受光部は、それぞれ円形配置され、
前記第2制御部は、前記円形配置の順番で、前記複数の第2レーザ照射部の1つずつにレーザ光を照射させるよう制御する、請求項1に記載の通信システム。
【請求項3】
前記第1水中光通信体は、
OCC(Optical Camera Communication)を実行する第1OCC部と、
音響通信を実行する第1音響通信部と、
を有し、
前記第2水中光通信体は、
OCCを実行する第2OCC部と、
音響通信を実行する第2音響通信部と
を有する、請求項1に記載の通信システム。
【請求項4】
前記第1制御部は、前記第1水中光通信体が前記第2水中光通信体とOCC可能な範囲内に位置する場合に、前記第1OCC部と前記第2OCC部とのOCCによって前記第2水中光通信体を検出して、前記第1光通信部と前記第2光通信部との光通信を確立し、前記第1水中光通信体と前記第2水中光通信体との距離が離れるように前記第1水中光通信体の移動機構を制御し、前記第1OCC部と前記第2OCC部とのOCCが切断された場合に、前記複数の第1レーザ受光部による時系列のレーザ光の受光状況に基づいて前記第1レーザユニットの位置を基準とした前記第2レーザユニットの相対方向を推定し、前記相対方向に基づいて前記第1レーザユニットと前記第2レーザユニットとの位置合わせをすべく前記第1水中光通信体の移動機構を制御する、請求項3に記載の通信システム。
【請求項5】
前記第1制御部は、前記第1水中光通信体が前記第2水中光通信体とOCC可能な範囲内に位置する場合に、前記第1OCC部と前記第2OCC部とのOCCによって前記第2水中光通信体を検出して、前記第1光通信部と前記第2光通信部との光通信を確立し、前記第1水中光通信体と前記第2水中光通信体との距離が離れるように前記第1水中光通信体の移動機構を制御し、前記第1OCC部と前記第2OCC部とのOCCが切断された場合に、前記複数の第1レーザ受光部による時系列のレーザ光の受光状況に基づいて前記第1レーザユニットの位置を基準とした前記第2レーザユニットの相対方向を推定し、前記相対方向に基づいて前記第1レーザユニットと前記第2レーザユニットとの位置合わせをすべく前記第1水中光通信体の移動機構を制御し、前記第1水中光通信体と前記第2水中光通信体との距離が離れるように前記第1水中光通信体の移動機構を制御しつつ、前記第1音響通信部と前記第2音響通信部との音響通信によって前記第2水中光通信体の音響追尾を開始する、請求項3に記載の通信システム。
【請求項6】
前記第1制御部は、前記第1水中光通信体が前記第2水中光通信体とOCC可能な範囲内に位置しない場合に、前記第1音響通信部と前記第2音響通信部との音響通信によって前記第2水中光通信体を検出し、検出結果に基づいて、前記第1水中光通信体と前記第2水中光通信体との距離が近づくように前記第1水中光通信体の移動機構を制御しつつ、前記複数の第1レーザ受光部を用いた前記第2レーザユニットの探索を実行する、請求項3に記載の通信システム。
【請求項7】
前記第1制御部は、前記複数の第1レーザ受光部を用いた前記第2レーザユニットの探索によって前記第2レーザユニットを検出した場合に、前記複数の第1レーザ受光部による時系列のレーザ光の受光状況に基づいて前記第1レーザユニットの位置を基準とした前記第2レーザユニットの相対方向を推定し、前記相対方向に基づいて前記第1レーザユニットと前記第2レーザユニットとの位置合わせしつつ前記第1水中光通信体と前記第2水中光通信体との距離が短くなるように前記第1水中光通信体の移動機構を制御し、前記第1光アンテナが受光する前記第2光アンテナからの光に基づいて、前記第1光通信部の光通信の方向を調整するよう制御する、請求項6に記載の通信システム。
【請求項8】
前記第1レーザユニットは、前記第1光通信部の光通信の向きの方にレーザ光を照射する、複数の第1レーザ照射部を含み、
前記第2レーザユニットは、前記第2光通信部の光通信の向きの方からのレーザ光を受光する、前記複数の第1レーザ照射部の配置と同様に配置された複数の第2レーザ受光部を含み、
前記第2制御部は、前記複数の第2レーザ受光部の少なくともいずれかが受光したレーザ光に基づいて前記第1レーザユニットを検出し、前記複数の第2レーザ受光部による時系列のレーザ光の受光状況に基づいて前記第2レーザユニットの位置を基準とした前記第1レーザユニットの相対方向を推定し、前記相対方向に基づいて前記第1レーザユニットと前記第2レーザユニットとの位置合わせをすべく前記第2水中光通信体の移動機構を制御するとともに、前記第2光アンテナが受光する前記第1光アンテナからの光に基づいて、前記第2光通信部の光通信の方向を調整するよう制御する、請求項1から7のいずれか一項に記載の通信システム。
【請求項9】
前記複数の第1レーザ受光部と、前記複数の第1レーザ照射部とは、交互に円形に並べて配置されており、
前記複数の第2レーザ受光部と、前記複数の第2レーザ照射部とは、交互に円形に並べて配置されている、請求項8に記載の通信システム。
【請求項10】
前記複数の第1レーザ受光部は、第1の半径の第1の円に沿って円形配置されており、
前記複数の第1レーザ照射部は、前記第1の円と中心が一致する、前記第1の半径とは異なる第2の半径の第2の円に沿って円形配置されており、
前記複数の第2レーザ受光部は、前記第2の半径の第3の円に沿って円形配置されており、
前記複数の第2レーザ照射部は、前記第3の円と中心が一致する、前記第1の半径の第4の円に沿って円形配置されている、請求項8に記載の通信システム。
(【請求項11】以降は省略されています)
発明の詳細な説明
【技術分野】
【0001】
本発明は、通信システム、水中光通信体、及び制御方法に関する。
続きを表示(約 4,500 文字)
【背景技術】
【0002】
光無線通信装置を備え、光無線通信によって、他の潜水艇との間で光無線通信を実行可能な潜水艇が知られていた(例えば、特許文献1参照)。
[先行技術文献]
[特許文献]
[特許文献1]特許第6792686号
【発明の概要】
【課題を解決するための手段】
【0003】
本発明の一実施態様によれば、水中光無線通信を行う通信システムが提供される。前記通信システムは、水中を移動可能な第1水中光通信体を備えてよい。前記通信システムは、第2水中光通信体を備えてよい。前記第2水中光通信体は、第2光アンテナを含む第2光通信部を有してよい。前記第2水中光通信体は、前記第2光通信部の光通信の向きの方にレーザ光を照射する、複数の第2レーザ照射部を含む第2レーザユニットを有してよい。前記第2水中光通信体は、前記複数の第2レーザ照射部から順番にレーザ光を照射させるよう制御する第2制御部を有してよい。前記第1水中光通信体は、第1光アンテナを含む第1光通信部を有してよい。前記第1水中光通信体は、前記第1光通信部の光通信の向きの方からのレーザ光を受光する、前記複数の第2レーザ照射部の配置と同様に配置された複数の第1レーザ受光部を含む第1レーザユニットを有してよい。前記第1水中光通信体は、前記複数の第1レーザ受光部の少なくともいずれかが受光したレーザ光に基づいて前記第2レーザユニットを検出し、前記複数の第1レーザ受光部による時系列のレーザ光の受光状況に基づいて前記第1レーザユニットの位置を基準とした前記第2レーザユニットの相対方向を推定し、前記相対方向に基づいて前記第1レーザユニットと前記第2レーザユニットとの位置合わせをすべく前記第1水中光通信体の移動機構を制御するとともに、前記第1光アンテナが受光する前記第2光アンテナからの光に基づいて、前記第1光通信部の光通信の方向を調整するよう制御する第1制御部を有してよい。
【0004】
前記通信システムにおいて、前記第2レーザユニットに含まれる前記複数の第2レーザ照射部と、前記第1レーザユニットに含まれる前記複数の第1レーザ受光部は、それぞれ円形配置されてよい。前記通信システムにおいて、前記第2制御部は、前記円形配置の順番で、前記複数の第2レーザ照射部の1つずつにレーザ光を照射させるよう制御してよい。
【0005】
前記いずれかの通信システムにおいて、前記第1水中光通信体は、OCC(Optical Camera Communication)を実行する第1OCC部と、音響通信を実行する第1音響通信部とを有してよく、前記第2水中光通信体は、OCCを実行する第2OCC部と、音響通信を実行する第2音響通信部とを有してよい。前記第1制御部は、前記第1水中光通信体が前記第2水中光通信体とOCC可能な範囲内に位置する場合に、前記第1OCC部と前記第2OCCとのOCCによって前記第2水中光通信体を検出して、前記第1光通信部と前記第2光通信部との光通信を確立し、前記第1水中光通信体と前記第2水中光通信体との距離が離れるように前記第1水中光通信体の移動機構を制御し、前記第1OCC部と前記第2OCC部とのOCCが切断された場合に、前記複数の第1レーザ受光部による時系列のレーザ光の受光状況に基づいて前記第1レーザユニットの位置を基準とした前記第2レーザユニットの相対方向を推定し、前記相対方向に基づいて前記第1レーザユニットと前記第2レーザユニットとの位置合わせをすべく前記第1水中光通信体の移動機構を制御してよい。
【0006】
前記いずれかの通信システムにおいて、前記第1制御部は、前記第1水中光通信体が前記第2水中光通信体とOCC可能な範囲内に位置する場合に、前記第1OCC部と前記第2OCC部とのOCCによって前記第2水中光通信体を検出して、前記第1光通信部と前記第2光通信部との光通信を確立し、前記第1水中光通信体と前記第2水中光通信体との距離が離れるように前記第1水中光通信体の移動機構を制御し、前記第1OCC部と前記第2OCC部とのOCCが切断された場合に、前記複数の第1レーザ受光部による時系列のレーザ光の受光状況に基づいて前記第1レーザユニットの位置を基準とした前記第2レーザユニットの相対方向を推定し、前記相対方向に基づいて前記第1レーザユニットと前記第2レーザユニットとの位置合わせをすべく前記第1水中光通信体の移動機構を制御し、前記第1水中光通信体と前記第2水中光通信体との距離が離れるように前記第1水中光通信体の移動機構を制御しつつ、前記第1音響通信部と前記第2音響通信部との音響通信によって前記第2水中光通信体の音響追尾を開始してよい。
【0007】
前記いずれかの通信システムにおいて、前記第1制御部は、前記第1水中光通信体が前記第2水中光通信体とOCC可能な範囲内に位置しない場合に、前記第1音響通信部と前記第2音響通信部との音響通信によって前記第2水中光通信体を検出し、検出結果に基づいて、前記第1水中光通信体と前記第2水中光通信体との距離が近づくように前記第1水中光通信体の移動機構を制御しつつ、前記複数の第1レーザ受光部を用いた前記第2レーザユニットの探索を実行してよい。前記第1制御部は、前記複数の第1レーザ受光部を用いた前記第2レーザユニットの探索によって前記第2レーザユニットを検出した場合に、前記複数の第1レーザ受光部による時系列のレーザ光の受光状況に基づいて前記第1レーザユニットの位置を基準とした前記第2レーザユニットの相対方向を推定し、前記相対方向に基づいて前記第1レーザユニットと前記第2レーザユニットとの位置合わせしつつ前記第1水中光通信体と前記第2水中光通信体との距離が短くなるように前記第1水中光通信体の移動機構を制御し、前記第1光アンテナが受光する前記第2光アンテナからの光に基づいて、前記第1光通信部の光通信の方向を調整するよう制御してよい。
【0008】
前記いずれかの通信システムにおいて、前記第1レーザユニットは、前記第1光通信部の光通信の向きの方にレーザ光を照射する、複数の第1レーザ照射部を含んでよく、前記第2レーザユニットは、前記第2光通信部の光通信の向きの方からのレーザ光を受光する、前記複数の第1レーザ照射部の配置と同様に配置された複数の第2レーザ受光部を含んでよく、前記第2制御部は、前記複数の第2レーザ受光部の少なくともいずれかが受光したレーザ光に基づいて前記第1レーザユニットを検出し、前記複数の第2レーザ受光部による時系列のレーザ光の受光状況に基づいて前記第2レーザユニットの位置を基準とした前記第1レーザユニットの相対方向を推定し、前記相対方向に基づいて前記第1レーザユニットと前記第2レーザユニットとの位置合わせをすべく前記第2水中光通信体の移動機構を制御するとともに、前記第2光アンテナが受光する前記第1光アンテナからの光に基づいて、前記第2光通信部の光通信の方向を調整するよう制御してよい。前記複数の第1レーザ受光部と、前記複数の第1レーザ照射部とは、交互に円形に並べて配置されていてよく、前記複数の第2レーザ受光部と、前記複数の第2レーザ照射部とは、交互に円形に並べて配置されていてよい。前記複数の第1レーザ受光部は、第1の半径の第1の円に沿って円形配置されており、 前記複数の第1レーザ照射部は、前記第1の円と中心が一致する、前記第1の半径とは異なる第2の半径の第2の円に沿って円形配置されていてよく、前記複数の第2レーザ受光部は、前記第2の半径の第3の円に沿って円形配置されていてよく、前記複数の第2レーザ照射部は、前記第3の円と中心が一致する、前記第1の半径の第4の円に沿って円形配置されていてよい。
【0009】
本発明の一実施態様によれば、水中を移動可能な水中光通信体が提供される。前記水中光通信体は、第1光アンテナを含む第1光通信部を備えてよい。前記水中光通信体は、前記第1光通信部の光通信の向きの方からのレーザ光を受光する、複数の第1レーザ受光部を含む第1レーザユニットを備えてよい。前記水中光通信体は、前記複数の第1レーザ受光部の少なくともいずれかが受光したレーザ光に基づいて、第2光アンテナを含む第2光通信部と、前記第2光通信部の光通信の向きの方にレーザ光を照射する、前記複数の第1レーザ受光部の配置と同様に配置された複数の第2レーザ照射部を含む第2レーザユニットと、前記複数の第2レーザ照射部から順番にレーザ光を照射させるよう制御する第2制御部とを有する他の水中光通信体の前記第2レーザユニットを検出し、前記複数の第1レーザ受光部による時系列のレーザ光の受光状況に基づいて前記第1レーザユニットの位置を基準とした前記第2レーザユニットの相対方向を推定し、前記相対方向に基づいて前記第1レーザユニットと前記第2レーザユニットとの位置合わせをすべく前記水中光通信体の移動機構を制御するとともに、前記第1光アンテナが受光する前記第2光アンテナからの光に基づいて、前記第1光通信部の光通信の方向を調整するよう制御する第1制御部を備えてよい。
【0010】
本発明の一実施態様によれば、制御方法が提供される。前記制御方法は、水中を移動可能であって、第1光アンテナを含む第1光通信部と、前記第1光通信部の光通信の向きの方からのレーザ光を受光する、複数の第1レーザ受光部を含む第1レーザユニットと、第1制御部とを有する水中光通信体の前記第1制御部によって実行されてよい。前記制御方法は、前記複数の第1レーザ受光部の少なくともいずれかが受光したレーザ光に基づいて、第2光アンテナを含む第2光通信部と、前記第2光通信部の光通信の向きの方にレーザ光を照射する、前記複数の第1レーザ受光部の配置と同様に配置された複数の第2レーザ照射部を含む第2レーザユニットと、前記複数の第2レーザ照射部から順番にレーザ光を照射させるよう制御する第2制御部とを有する他の水中光通信体の前記第2レーザユニットを検出し、前記複数の第1レーザ受光部による時系列のレーザ光の受光状況に基づいて前記第1レーザユニットの位置を基準とした前記第2レーザユニットの相対方向を推定し、前記相対方向に基づいて前記第1レーザユニットと前記第2レーザユニットとの位置合わせをすべく前記水中光通信体の移動機構を制御するとともに、前記第1光アンテナが受光する前記第2光アンテナからの光に基づいて、前記第1光通信部の光通信の方向を調整するよう制御する段階を備えてよい。
(【0011】以降は省略されています)
この特許をJ-PlatPat(特許庁公式サイト)で参照する
関連特許
ソフトバンク株式会社
通信システム
4日前
ソフトバンク株式会社
測定装置、測定方法及びプログラム
3日前
ソフトバンク株式会社
生成装置、生成方法および生成プログラム
2日前
ソフトバンク株式会社
無線中継装置、ゲートウェイ装置及び通信システム
4日前
ソフトバンク株式会社
情報処理装置、情報処理方法及び情報処理プログラム
3日前
ソフトバンク株式会社
情報処理装置、情報処理方法及び情報処理プログラム
5日前
ソフトバンク株式会社
情報処理装置、情報処理方法および情報処理プログラム
2日前
ソフトバンク株式会社
情報処理装置、プログラム、情報処理システム及び情報処理方法
3日前
ソフトバンク株式会社
情報処理装置、プログラム、情報処理システム及び情報処理方法
3日前
ソフトバンク株式会社
情報処理装置、情報処理方法、情報処理プログラムおよび情報処理システム
3日前
ソフトバンク株式会社
学習データ生成システム、学習データ生成プログラム、および学習データ生成方法
3日前
ソフトバンク株式会社
情報処理端末、情報処理端末の制御方法、情報処理端末の制御プログラム、及び情報処理システム
5日前
国立研究開発法人物質・材料研究機構
リチウム(Li)とマンガン(Mn)とルテニウム(Ru)と硫黄(S)とを含有する複合酸化物からなる正極活物質、その製法及びその用途
4日前
個人
店内配信予約システム
2か月前
WHISMR合同会社
収音装置
1か月前
サクサ株式会社
中継装置
3か月前
サクサ株式会社
中継装置
3日前
サクサ株式会社
中継装置
4日前
アイホン株式会社
電気機器
25日前
キヤノン株式会社
電子機器
2か月前
キヤノン株式会社
撮像装置
1か月前
キヤノン電子株式会社
モバイル装置
3か月前
株式会社リコー
画像形成装置
1か月前
株式会社リコー
画像形成装置
2か月前
キヤノン電子株式会社
画像読取装置
1か月前
サクサ株式会社
無線通信装置
3日前
株式会社リコー
画像形成装置
1か月前
サクサ株式会社
無線システム
2日前
日本精機株式会社
画像投映システム
3か月前
サクサ株式会社
無線通信装置
3日前
個人
ワイヤレスイヤホン対応耳掛け
23日前
株式会社ニコン
撮像装置
2か月前
ブラザー工業株式会社
読取装置
2か月前
キヤノン株式会社
撮像システム
25日前
個人
発信機及び発信方法
2日前
DXO株式会社
情報処理システム
2か月前
続きを見る
他の特許を見る