TOP
|
特許
|
意匠
|
商標
特許ウォッチ
Twitter
他の特許を見る
10個以上の画像は省略されています。
公開番号
2025138062
公報種別
公開特許公報(A)
公開日
2025-09-25
出願番号
2024036811
出願日
2024-03-11
発明の名称
車両用サンシェード装置
出願人
マツダ株式会社
代理人
個人
,
個人
,
個人
,
個人
主分類
B60J
7/00 20060101AFI20250917BHJP(車両一般)
要約
【課題】空調仕事によるエネルギー損失を低減し、車両の航続距離を延ばすことができる車両用サンシェード装置を提供する。
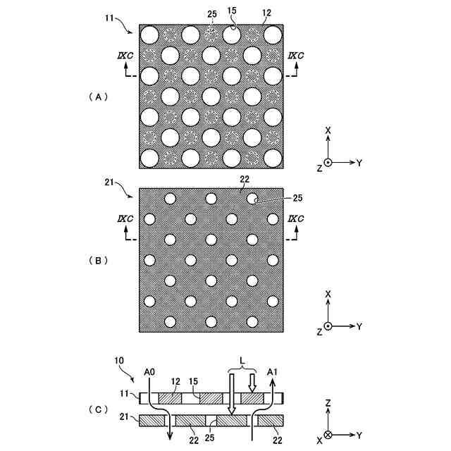
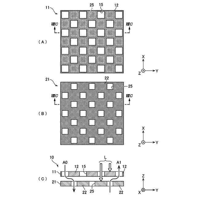
【解決手段】車両用サンシェード100は、開閉式のウインドウガラス4と、シェード部10とを備え、シェード部10は、ウインドウ枠3側から第1シェード11と第2シェード21が順に所定の隙間TGを介して積層された状態で構成されており、第1シェード11は、所定の厚みT1を有する第1母材12と、第1母材12を貫通する複数の第1換気孔15とを有し、第2シェード21は、所定の厚みT2を有する第2母材22と、第2母材22を貫通する複数の第2換気孔25とを有し、平面視において、複数の第1換気孔15は第2母材22によって塞がれるように配置され、複数の第2換気孔25は第1母材12によって塞がれるように配置されている。
【選択図】図5
特許請求の範囲
【請求項1】
車両用サンシェード装置であって、
車両のウインドウ枠の開口部を閉じる閉位置と前記ウインドウ枠の開口部を開放する開位置との間で移動可能な開閉式のウインドウガラスと、
前記ウインドウ枠の開口部を覆うように車両内に配置されるシェード部と、を備え、
前記シェード部は、前記ウインドウ枠側から順に第1シェードと第2シェードが所定の隙間を介して積層された状態で構成され、
前記第1シェードは、所定の厚みを有するシート状の第1母材と、前記第1母材を貫通する複数の第1換気孔と、を有し、
前記第2シェードは、所定の厚みを有するシート状の第2母材と、前記第2母材を貫通する複数の第2換気孔と、を有し、
前記シェード部を積層方向から見た平面視において、前記複数の第1換気孔は前記第2母材によって塞がれるように配置され、前記複数の第2換気孔は前記第1母材によって塞がれるように配置されている、車両用サンシェード装置。
続きを表示(約 1,200 文字)
【請求項2】
前記シェード部は、前記複数の第1換気孔と前記複数の第2換気孔が平面視で重ならないように配置されている、請求項1に記載の車両用サンシェード装置。
【請求項3】
前記複数の第1換気孔は、前記第1母材の両面において、略同じ開口面積を有し、前記複数の第2換気孔は、前記第2母材の両面において、略同じ開口面積を有する、請求項1に記載の車両用サンシェード装置。
【請求項4】
前記複数の第1換気孔と前記複数の第2換気孔は、前記シェード部の単位面積あたりで略同じ合計容積を有するように形成されている、請求項1に記載の車両用サンシェード装置。
【請求項5】
前記車両は、車内前方の運転席及び助手席と、前記運転席と前記助手席の各々に対して車内後方に位置する後部座席と、を有し、
前記シェード部は、平面視において、前記運転席,前記助手席,及び前記後部座席の上方に位置する乗員領域部と、前記乗員領域部以外の非乗員領域部と、を有し、
前記第1換気孔及び前記第2換気孔は、前記乗員領域部の方が前記非乗員領域部よりも開口面積が小さく形成され且つ単位面積あたりの個数が多く設定されている、請求項1に記載の車両用サンシェード装置。
【請求項6】
前記シェード部は、平面視において、車両前方領域部と、車両後方領域部と、を有し、
前記第1換気孔及び前記第2換気孔は、それぞれ前記第1母材及び前記第2母材の前記ウインドウ枠側の第1面の開口面積と、前記第1面とは反対の第2面の開口面積とが異なっており、
前記第1換気孔及び前記第2換気孔は、前記車両前方領域部において、前記第2面の開口面積よりも前記第1面の開口面積が大きく形成され、前記車両後方領域部において、前記第1面の開口面積よりも前記第2面の開口面積が大きく形成されている、請求項1に記載の車両用サンシェード装置。
【請求項7】
前記複数の第1換気孔及び前記複数の第2換気孔は、それぞれ前記車両前方領域部と前記車両後方領域部において、単位面積あたりで略同じ個数だけ形成されている、請求項6に記載の車両用サンシェード装置。
【請求項8】
前記シェード部は、前記第1換気孔の開口寸法が前記第1母材の厚みと略同じに設定されており、前記第2換気孔の開口寸法が前記第2母材の厚みと略同じに設定されている、請求項1に記載の車両用サンシェード装置。
【請求項9】
前記所定の隙間は、前記第1換気孔の開口寸法よりも小さい、請求項1に記載の車両用サンシェード装置。
【請求項10】
前記開口寸法は、前記第1換気孔又は前記第2換気孔が平面視で正方形のときは前記正方形の一辺の長さであり、前記第1換気孔又は前記第2換気孔が平面視で円のときは前記円の直径である、請求項8又は9に記載の車両用サンシェード装置。
発明の詳細な説明
【技術分野】
【0001】
本発明は、車両用サンシェード装置に係り、特に、開閉可能なウインドウガラスを有する車両に設けられる車両用サンシェード装置に関する。
続きを表示(約 1,700 文字)
【背景技術】
【0002】
近年、内燃機関の代わりに電気モータを駆動源とする電気自動車の開発が進められている。近年の電気自動車の開発課題の1つは、航続距離を延ばすことである。これを解決するには、例えば、消費可能なエネルギーを大量に搭載するように、大容量の蓄電池を車両に搭載することが考えられる。しかしながら、例えば、多数の蓄電池を搭載すると、車重が増加すると共に、製造コストも増大するという問題が生じる。
【0003】
これに対して、本発明者は、車両のエネルギー損失を低減する観点で開発を進め、種々のエネルギー損失のうち、特に、空調仕事によるエネルギー損失に着目した。すなわち、空調仕事を低減するためには、車室内温度を下げる場合、外気と内気との間の換気や車室内に差し込む日射量の抑制により、空調装置の作動を抑制することが望ましい。
【0004】
一方、ウインドウガラスを通して車室内に差し込む日射量を低減するため、車両にサンシェードを設ける技術が知られている。例えば、特許文献1では、リアウインドウに2層のシェードが設けられている。
【先行技術文献】
【特許文献】
【0005】
特開2002-206385号公報
【発明の概要】
【発明が解決しようとする課題】
【0006】
しかしながら、特許文献1のシェードでは、日射量を低減することはできるが、車室内を換気することができない。したがって、車両において、単にウインドウガラスにシェードを設けても、空調仕事によるエネルギー損失を低減し、航続距離を延ばすことは困難であった。
【0007】
そこで、本発明は、上述した問題を解決するためになされたものであり、空調仕事によるエネルギー損失を低減し、車両の航続距離を延ばすことが可能な車両用のサンシェード装置を提供することを目的とする。
【課題を解決するための手段】
【0008】
上述した課題を解決するために、本発明は、車両用サンシェード装置であって、車両のウインドウ枠の開口部を閉じる閉位置とウインドウ枠の開口部を開放する開位置との間で移動可能な開閉式のウインドウガラスと、ウインドウ枠の開口部を覆うように車両内に配置されるシェード部と、を備え、シェード部は、ウインドウ枠側から順に第1シェードと第2シェードが所定の隙間を介して積層された状態で構成され、第1シェードは、所定の厚みを有するシート状の第1母材と、第1母材を貫通する複数の第1換気孔と、を有し、第2シェードは、所定の厚みを有するシート状の第2母材と、第2母材を貫通する複数の第2換気孔と、を有し、シェード部を積層方向から見た平面視において、複数の第1換気孔は第2母材によって塞がれるように配置され、複数の第2換気孔は前記第1母材によって塞がれるように配置されていることを特徴としている。
【0009】
このように構成された本発明によれば、平面視で第2シェードの第2母材が第1シェードの複数の第1換気孔を塞ぐ構成により、複数の第1換気孔を通過した入射光が第2母材によって遮蔽され、車室内への入射光の入射が効果的に抑制される。また、本発明によれば、第2シェードが複数の第2換気孔を有することにより、車室内の内気を第2換気孔から第1換気孔を抜けて車外へ排出させ、また、車外の外気を第1換気孔から第2換気孔を抜けて車室内へ取り込むことができる。これにより、乗員は、本発明の車両用サンシェード装置を利用することにより、空調装置の作動を抑制することが可能となり、空調仕事によるエネルギー損失を低減し、車両の航続距離を延ばすことができる。
【0010】
本発明において、好ましくは、シェード部は、複数の第1換気孔と複数の第2換気孔が平面視で重ならないように配置されている。このように構成された本発明によれば、車外の入射光が直接、第1換気孔及び第2換気孔を通して、車室内に到達することを防止することができる。
(【0011】以降は省略されています)
この特許をJ-PlatPat(特許庁公式サイト)で参照する
関連特許
マツダ株式会社
二次電池
12日前
マツダ株式会社
排気浄化装置
28日前
マツダ株式会社
排気浄化装置
28日前
マツダ株式会社
車両用駆動装置
20日前
マツダ株式会社
車両用駆動装置
20日前
マツダ株式会社
車両用駆動装置
20日前
マツダ株式会社
車両用駆動装置
20日前
マツダ株式会社
車両用駆動装置
20日前
マツダ株式会社
冷媒循環システム
14日前
マツダ株式会社
冷媒循環システム
14日前
マツダ株式会社
冷媒循環システム
14日前
マツダ株式会社
冷媒循環システム
14日前
マツダ株式会社
冷媒循環システム
14日前
マツダ株式会社
冷媒循環システム
14日前
マツダ株式会社
冷媒循環システム
14日前
マツダ株式会社
エンジンシステム
29日前
マツダ株式会社
エンジンシステム
29日前
マツダ株式会社
燃料改質システム
1か月前
マツダ株式会社
冷媒循環システム
14日前
マツダ株式会社
車両の下部車体構造
2日前
マツダ株式会社
車両の下部車体構造
2日前
マツダ株式会社
モータ軸受システム
2日前
マツダ株式会社
モータ軸受システム
2日前
マツダ株式会社
車両の下部車体構造
2日前
マツダ株式会社
車両運転支援システム
12日前
マツダ株式会社
車両運転支援システム
2日前
マツダ株式会社
車両運転支援システム
2日前
マツダ株式会社
車両運転支援システム
12日前
マツダ株式会社
ドライバ状態推定装置
1か月前
マツダ株式会社
ドライバ状態推定装置
1か月前
マツダ株式会社
樹脂発泡体及びシート
13日前
マツダ株式会社
車両用サンシェード装置
6日前
マツダ株式会社
車両用サンシェード装置
6日前
マツダ株式会社
車両の燃料改質システム
1か月前
マツダ株式会社
車両用サンシェード装置
6日前
マツダ株式会社
車両の燃料改質システム
1か月前
続きを見る
他の特許を見る