TOP
|
特許
|
意匠
|
商標
特許ウォッチ
Twitter
他の特許を見る
10個以上の画像は省略されています。
公開番号
2025134614
公報種別
公開特許公報(A)
公開日
2025-09-17
出願番号
2024176672
出願日
2024-10-08
発明の名称
遊技機
出願人
株式会社ニューギン
代理人
弁理士法人後藤特許事務所
主分類
A63F
7/02 20060101AFI20250909BHJP(スポーツ;ゲーム;娯楽)
要約
【課題】遊技の進行に影響を与える事象の発生をより好適に報知し得る遊技機を提供する。
【解決手段】
遊技機の状態を、基本モードから準備モードを介して特殊モードに遷移させることが可能であり、準備モードでは、背景オブジェクトを動的に表示し、特殊モード関連表示を静的に表示し、装飾発光部の発光態様を特殊モード関連表示の表示色とは異なる色の動的な態様とすることが可能であり、特殊モードでは、背景オブジェクトを静的に表示し、特殊モード関連表示を静的に表示し、装飾発光部の発光態様を、特殊モード関連表示の表示色とは異なる色の静的な態様とすることが可能である。また、所定条件を満たすと遊技機の状態を第1準備モードに遷移させることが可能であり、第2遊技モード中に特定条件を満たすと、遊技機の状態を第2準備モードを介して特殊モードに遷移させることが可能である。
【選択図】図6
特許請求の範囲
【請求項1】
装飾発光部と、所定の表示を行う表示部と、前記表示部の前面に設けられ前記表示部の遊技機前方からの視認を許容する前面構成部と、を備えた遊技機であって、
前記装飾発光部の発光の前記前面構成部への映り込みが可能であり、
遊技機の状態を、基本モードから準備モードを介して特殊モードに遷移させることが可能であり、
前記基本モードは、遊技の進行を可能とするモードであり、
前記準備モードは、前記特殊モードに遷移する可能性を示唆するモードであり、
前記特殊モードは、前記遊技の進行を不能とするモードであり、
前記準備モード及び前記特殊モードでは、
前記表示部に、所定の背景オブジェクトと共に、少なくとも前記特殊モードに関連する文字を含む特殊モード関連表示を表示し、
前記準備モードでは、
前記背景オブジェクトを動的に表示し、
前記特殊モード関連表示を静的に表示し、
前記装飾発光部の発光態様を、前記特殊モード関連表示の表示色とは異なる色の動的な態様とすることが可能であり、
前記特殊モードでは、
前記背景オブジェクトを静的に表示し、
前記特殊モード関連表示を静的に表示し、
前記装飾発光部の発光態様を、前記特殊モード関連表示の表示色とは異なる色の静的な態様とすることが可能であり、
前記基本モードは、第1遊技モードと、第2遊技モードと、を含み、
前記準備モードは、第1準備モードと、第2準備モードと、を含み、
所定条件を満たすと、遊技機の状態を前記第1準備モードに遷移させることが可能であり、
前記第2遊技モード中に特定条件を満たすと、遊技機の状態を前記第2準備モードを介して前記特殊モードに遷移させることが可能であることを特徴とする遊技機。
続きを表示(約 880 文字)
【請求項2】
装飾発光部と、所定の表示を行う表示部と、前記表示部の前面に設けられ前記表示部の遊技機前方からの視認を許容する前面構成部と、を備えた遊技機であって、
前記装飾発光部の発光の前記前面構成部への映り込みが可能であり、
遊技機の状態を、基本モードから準備モードを介して特殊モードに遷移させることが可能であり、
前記基本モードは、遊技の進行を可能とするモードであり、
前記準備モードは、前記特殊モードに遷移する可能性を示唆するモードであり、
前記特殊モードは、前記遊技の進行を不能とするモードであり、
前記準備モード及び前記特殊モードでは、
前記表示部に、所定の背景オブジェクトと共に、少なくとも前記特殊モードに関連する文字を含む特殊モード関連表示を表示し、
前記準備モードでは、
前記背景オブジェクトを動的に表示し、
前記特殊モード関連表示を静的に表示し、
前記装飾発光部の発光態様を、前記特殊モード関連表示の表示色とは異なる色の動的な態様とすることが可能であり、
前記特殊モードでは、
前記背景オブジェクトを静的に表示し、
前記特殊モード関連表示を静的に表示し、
前記装飾発光部の発光態様を、前記特殊モード関連表示の表示色とは異なる色の静的な態様とすることが可能であり、
前記基本モードは、第1遊技モードと、第2遊技モードと、を含み、
所定条件を満たすと、遊技機の状態を前記準備モードに遷移させることが可能であり、
前記準備モード中に前記第2遊技モードとなり、該第2遊技モード中に特定条件を満たすと、遊技機の状態を前記特殊モードに遷移させることが可能であることを特徴とする遊技機。
【請求項3】
前記特殊モード関連表示は、
前記準備モード中に実行される第1特殊モード関連表示と、前記特殊モード中に実行される第2特殊モード関連表示と、を含む請求項1又は2に記載の遊技機。
発明の詳細な説明
【技術分野】
【0001】
本発明は、遊技機に関する。
続きを表示(約 2,500 文字)
【背景技術】
【0002】
従来、不正入賞等の遊技の進行に影響を与える事象が発生した場合に、その旨を報知する遊技機が知られている(例えば、特許文献1)。
【先行技術文献】
【特許文献】
【0003】
特開2013-223570号公報
【発明の概要】
【発明が解決しようとする課題】
【0004】
しかしながら、遊技の進行に影響を与える事象が発生した際の報知態様についてさらなる改良が望まれる。
【0005】
そこで、本発明は、遊技の進行に影響を与える事象の発生をより好適に報知し得る遊技機の提供を目的とする。
【課題を解決するための手段】
【0006】
本発明の代表的な一態様では、装飾発光部と、所定の表示を行う表示部と、前記表示部の前面に設けられ前記表示部の遊技機前方からの視認を許容する前面構成部と、を備えた遊技機であって、前記装飾発光部の発光の前記前面構成部への映り込みが可能であり、遊技機の状態を、基本モードから準備モードを介して特殊モードに遷移させることが可能であり、前記基本モードは、遊技の進行を可能とするモードであり、前記準備モードは、前記特殊モードに遷移する可能性を示唆するモードであり、前記特殊モードは、前記遊技の進行を不能とするモードであり、前記準備モード及び前記特殊モードでは、前記表示部に、所定の背景オブジェクトと共に、少なくとも前記特殊モードに関連する文字を含む特殊モード関連表示を表示し、前記準備モードでは、前記背景オブジェクトを動的に表示し、前記特殊モード関連表示を静的に表示し、前記装飾発光部の発光態様を、前記特殊モード関連表示の表示色とは異なる色の動的な態様とすることが可能であり、前記特殊モードでは、前記背景オブジェクトを静的に表示し、前記特殊モード関連表示を静的に表示し、前記装飾発光部の発光態様を、前記特殊モード関連表示の表示色とは異なる色の静的な態様とすることが可能であり、前記基本モードは、第1遊技モードと、第2遊技モードと、を含み、前記準備モードは、第1準備モードと、第2準備モードと、を含み、所定条件を満たすと、遊技機の状態を前記第1準備モードに遷移させることが可能であり、前記第2遊技モード中に特定条件を満たすと、遊技機の状態を前記第2準備モードを介して前記特殊モードに遷移させることが可能である遊技機が提供される。
【0007】
また、本発明の他の態様によれば、装飾発光部と、所定の表示を行う表示部と、前記表示部の前面に設けられ前記表示部の遊技機前方からの視認を許容する前面構成部と、を備えた遊技機であって、前記装飾発光部の発光の前記前面構成部への映り込みが可能であり、遊技機の状態を、基本モードから準備モードを介して特殊モードに遷移させることが可能であり、前記基本モードは、遊技の進行を可能とするモードであり、前記準備モードは、前記特殊モードに遷移する可能性を示唆するモードであり、前記特殊モードは、前記遊技の進行を不能とするモードであり、前記準備モード及び前記特殊モードでは、前記表示部に、所定の背景オブジェクトと共に、少なくとも前記特殊モードに関連する文字を含む特殊モード関連表示を表示し、前記準備モードでは、前記背景オブジェクトを動的に表示し、前記特殊モード関連表示を静的に表示し、前記装飾発光部の発光態様を、前記特殊モード関連表示の表示色とは異なる色の動的な態様とすることが可能であり、前記特殊モードでは、前記背景オブジェクトを静的に表示し、前記特殊モード関連表示を静的に表示し、前記装飾発光部の発光態様を、前記特殊モード関連表示の表示色とは異なる色の静的な態様とすることが可能であり、前記基本モードは、第1遊技モードと、第2遊技モードと、を含み、所定条件を満たすと、遊技機の状態を前記準備モードに遷移させることが可能であり、前記準備モード中に前記第2遊技モードとなり、該第2遊技モード中に特定条件を満たすと、遊技機の状態を前記特殊モードに遷移させることが可能である遊技機が提供される。
【発明の効果】
【0008】
本発明の上記態様によれば、遊技の進行に影響を与える事象の発生をより好適に報知することができる。
【図面の簡単な説明】
【0009】
遊技機を前面側から見た図である。
遊技盤の正面図である。
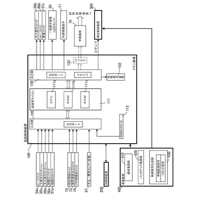
遊技機の遊技制御系の構成例を示すブロック図である。
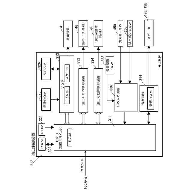
遊技機の演出制御系の構成例を示すブロック図である。
基板ケースに取り付けられる性能表示モニタの構成、及び性能表示モニタの発光の基板ケースへの映り込む態様を説明する図である。
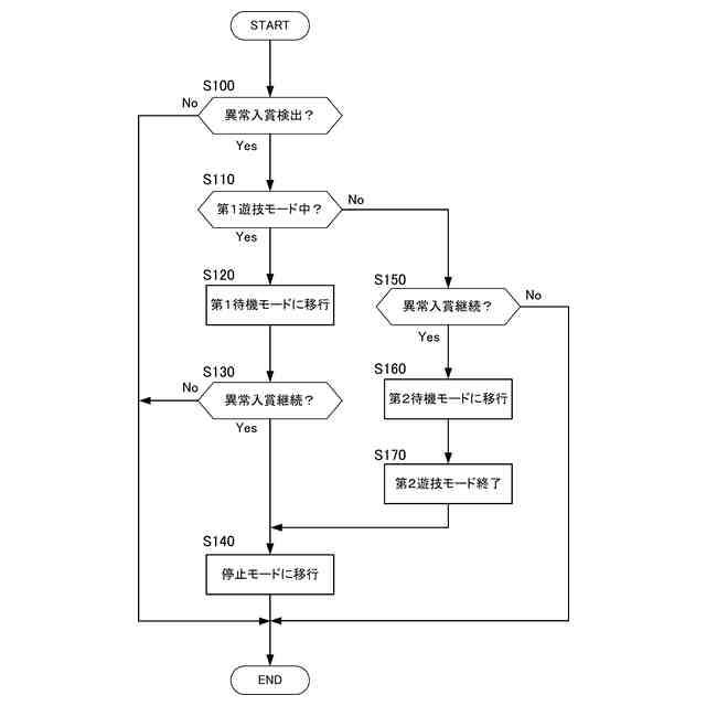
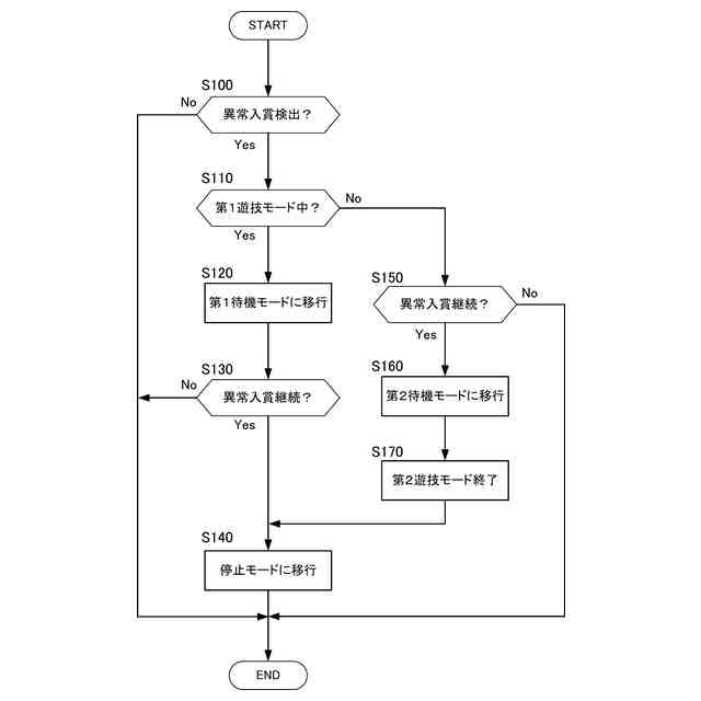
第1実施形態による停止モード関連処理の概要を示すフローチャートである。
第1遊技モードにおける遊技機の挙動を説明する図である。
第1待機モードにおける遊技機の挙動を説明する図である。
停止モードにおける遊技機の挙動を説明する図である。
第2遊技モードにおける遊技機の挙動を説明する図である。
第2待機モードにおける遊技機の挙動の一例を示す図である。
第1実施形態による停止モード関連処理を実行する際の遊技機の具体的な挙動の一例を示す図である。
第2実施形態による各モードによる停止モード関連処理を実行する際の遊技機の具体的な挙動の一例を示す図である。
第3実施形態による停止モード関連処理の概要を示すフローチャートである。
【発明を実施するための形態】
【0010】
[第1実施形態]
以下、本発明の好適な実施の形態を図面に基づいて説明する。なお、遊技機の説明における前(表)、後(裏)、左、右とは、遊技中の遊技者から見た方向を基準とする。
(【0011】以降は省略されています)
この特許をJ-PlatPat(特許庁公式サイト)で参照する
関連特許
株式会社ニューギン
遊技機
1か月前
株式会社ニューギン
遊技機
1か月前
株式会社ニューギン
遊技機
1か月前
株式会社ニューギン
遊技機
1か月前
株式会社ニューギン
遊技機
1か月前
株式会社ニューギン
遊技機
1か月前
株式会社ニューギン
遊技機
1か月前
株式会社ニューギン
遊技機
1か月前
株式会社ニューギン
遊技機
1か月前
株式会社ニューギン
遊技機
1か月前
株式会社ニューギン
遊技機
1か月前
株式会社ニューギン
遊技機
1か月前
株式会社ニューギン
遊技機
1か月前
株式会社ニューギン
遊技機
1か月前
株式会社ニューギン
遊技機
1か月前
株式会社ニューギン
遊技機
1か月前
株式会社ニューギン
遊技機
1か月前
株式会社ニューギン
遊技機
1か月前
株式会社ニューギン
遊技機
1か月前
株式会社ニューギン
遊技機
1か月前
株式会社ニューギン
遊技機
1か月前
株式会社ニューギン
遊技機
1か月前
株式会社ニューギン
遊技機
1か月前
株式会社ニューギン
遊技機
1か月前
株式会社ニューギン
遊技機
1か月前
株式会社ニューギン
遊技機
1か月前
株式会社ニューギン
遊技機
1か月前
株式会社ニューギン
遊技機
1か月前
株式会社ニューギン
島設備
1か月前
株式会社ニューギン
遊技機
1か月前
株式会社ニューギン
遊技機
1か月前
株式会社ニューギン
遊技機
1か月前
株式会社ニューギン
遊技機
1か月前
株式会社ニューギン
遊技機
1か月前
株式会社ニューギン
遊技機
10日前
株式会社ニューギン
遊技機
17日前
続きを見る
他の特許を見る