TOP
|
特許
|
意匠
|
商標
特許ウォッチ
Twitter
他の特許を見る
公開番号
2025129311
公報種別
公開特許公報(A)
公開日
2025-09-04
出願番号
2025112550,2021182544
出願日
2025-07-02,2021-11-09
発明の名称
駐車場管理装置、駐車場管理方法、およびこれを利用した駐車場制御装置
出願人
IHI運搬機械株式会社
代理人
個人
,
個人
,
個人
主分類
G06Q
50/10 20120101AFI20250828BHJP(計算;計数)
要約
【課題】 駐車場内に設置された充電設備をなるべく多くの電動車両が効率良く利用可能となるように、駐車場の充電設備の利用スケジュール情報を生成することが可能な駐車場管理装置および駐車場管理方法を提供する。
【解決手段】 充電設備の利用対象の車両が駐車場に入庫すると当該車両の出庫予測時刻を特定し、現時点で最も早く充電設備の利用を開始可能な利用開始可能時刻を特定し、特定した利用開始可能時刻から予め設定された充電時間分経過した時刻が入庫した車両の出庫予測時刻以前であれば、利用開始可能時刻を入庫した車両の設備利用開始時刻として特定し、特定した設備利用開始時刻から充電時間分経過した時刻を入庫した車両の設備利用終了時刻として特定し、特定した情報に基づいて利用スケジュール情報を更新する利用スケジュール情報更新部423を備える。
【選択図】図1
特許請求の範囲
【請求項1】
充電設備が設置された駐車場を管理する駐車場管理装置であって、
車両ごとの前記駐車場の利用履歴情報を記憶する利用履歴情報記憶部と、
前記充電設備の利用が予約された予約済み車両ごとの前記充電設備の設備利用開始時刻および設備利用終了時刻が設定された前記充電設備の利用スケジュール情報を記憶する利用スケジュール情報記憶部と、
前記充電設備の利用対象の車両が前記駐車場に入庫すると、前記利用履歴情報記憶部に記憶された利用履歴情報に基づいて前記入庫した車両の出庫予測時刻を特定し、前記利用スケジュール情報記憶部に記憶された利用スケジュール情報に基づいて現時点で最も早く前記充電設備の利用を開始可能な利用開始可能時刻を特定し、特定した利用開始可能時刻から予め設定された充電時間分経過した時刻が前記入庫した車両の出庫予測時刻以前であれば、前記利用開始可能時刻を前記入庫した車両の設備利用開始時刻として特定し、特定した設備利用開始時刻から前記充電時間分経過した時刻を前記入庫した車両の設備利用終了時刻として特定し、特定した情報に基づいて前記利用スケジュール情報を更新する利用スケジュール情報更新部とを備えることを特徴とする駐車場管理装置。
続きを表示(約 2,000 文字)
【請求項2】
前記利用スケジュール情報更新部は、前記充電設備の利用対象の車両が前記駐車場に入庫したときに、前記利用開始可能時刻から前記充電時間分経過した時刻が、前記入庫した車両の出庫予測時刻を過ぎる場合には、前記利用開始可能時刻を前記入庫した車両の仮の設備利用開始時刻として保持するとともに、前記仮の設備利用開始時刻から前記充電時間が経過した時刻を仮の設備利用終了時刻として保持し、前記予約済み車両のうち、前記利用開始可能時刻から利用を開始しても該当する出庫予測時刻までに充電時間が経過する車両を選択し、選択した予約済み車両の設備利用開始時刻および設備利用終了時刻と、入庫した車両の仮の設備利用開始時刻および仮の設備利用終了時刻とを入れ替えて、前記利用スケジュール情報を更新することを特徴とする請求項1に記載の駐車場管理装置。
【請求項3】
前記利用スケジュール情報更新部は、車両ごとに設定された充電時間の情報を用いて、前記利用スケジュール情報を生成することを特徴とする請求項1または2に記載の駐車場管理装置。
【請求項4】
前記利用スケジュール情報更新部は、前記利用履歴情報記憶部に記憶された、前記入庫した車両の所定期間以上の利用履歴情報に基づいて、前記入庫した車両の出庫予測時刻を特定することを特徴とする請求項1~3いずれか1項に記載の駐車場管理装置。
【請求項5】
前記利用スケジュール情報更新部は、前記利用履歴情報記憶部に記憶された利用履歴情報に基づいて前記入庫した車両の現在の曜日に該当する出庫予測時刻を特定し、特定した出庫予測時刻の情報に基づいて前記利用スケジュール情報を更新することを特徴とする請求項1~4いずれか1項に記載の駐車場管理装置。
【請求項6】
前記利用履歴情報記憶部は、前回の充電設備利用時に、設定された充電時間分、充電処理が実行されなかった車両の情報をさらに記憶し、
前記利用スケジュール情報更新部は、前記利用履歴情報記憶部に記憶された情報に基づいて、前回の充電設備利用時に、設定された時間分、充電できなかった車両が前記駐車場に入庫したと判断すると、当該車両が前記充電設備を優先的に利用可能になるように前記利用スケジュール情報を生成することを特徴とする請求項1~5いずれか1項に記載の駐車場管理装置。
【請求項7】
日種別ごとに予め設定された、車両ごとの充電処理の要否、必要度合い、および充電時間の少なくともいずれか含む設定情報を記憶する設定情報記憶部をさらに備え、
前記利用スケジュール情報更新部は、前記設定情報記憶部に記憶された設定情報に基づいて、前記利用スケジュール情報を更新することを特徴とする請求項1~6いずれか1項に記載の駐車場管理装置。
【請求項8】
前記利用スケジュール情報更新部は、前記入庫した車両の出庫予測時刻を、人工知能を用いた学習機能により特定することを特徴とする請求項1~7いずれか1項に記載の駐車場管理装置。
【請求項9】
前記利用スケジュール情報更新部は、前記充電設備の利用対象の車両が前記駐車場に入庫したときに、前記利用開始可能時刻から前記充電時間分経過した時刻が、前記入庫した車両の出庫予測時刻を過ぎる場合には、前記充電設備を利用可能な、前記充電時間未満の時間での利用を承認するか否かを問い合わせる情報を出力し、これに応答して利用を承認することを示す情報を取得すると、前記充電時間未満の時間を利用対象として前記利用スケジュール情報を更新する請求項1~8いずれか1項に記載の駐車場管理装置。
【請求項10】
充電設備が設置された駐車場を管理する駐車場管理装置が、
車両ごとの前記駐車場の利用履歴情報と、前記充電設備の利用が予約された予約済み車両ごとの前記充電設備の設備利用開始時刻および設備利用終了時刻が設定された前記充電設備の利用スケジュール情報とを記憶し、
前記充電設備の利用対象の車両が前記駐車場に入庫すると、記憶した利用履歴情報に基づいて前記入庫した車両の出庫予測時刻を特定し、記憶した利用スケジュール情報に基づいて現時点で最も早く前記充電設備の利用を開始可能な利用開始可能時刻を特定し、特定した利用開始可能時刻から予め設定された充電時間分経過した時刻が前記入庫した車両の出庫予測時刻以前であれば、前記利用開始可能時刻を前記入庫した車両の設備利用開始時刻として特定し、特定した設備利用開始時刻から前記充電時間分経過した時刻を前記入庫した車両の設備利用終了時刻として特定し、特定した情報に基づいて前記利用スケジュール情報を更新することを特徴とする駐車場管理方法。
(【請求項11】以降は省略されています)
発明の詳細な説明
【技術分野】
【0001】
本発明は、駐車場管理装置、駐車場管理方法、およびこれを利用した駐車場制御装置に関する。
続きを表示(約 2,500 文字)
【背景技術】
【0002】
近年、バッテリの電力を動力源とする電動車両が普及してきており、これに伴って電動車両のバッテリを充電するための充電設備の整備が必要とされている。
【0003】
これに鑑み、マンションや大型設備内の駐車場に充電設備を設置することで、電動車両を当該駐車場に駐車している間に充電を行うことができる。
【先行技術文献】
【特許文献】
【0004】
国際公開第2013/035481号
【発明の概要】
【発明が解決しようとする課題】
【0005】
上述したように駐車場内に充電設備を設置する場合、その設置数には制限があるため、複数の電動車両に対して入庫順に輪番充電が行われる。しかし輪番充電を行うようにすると、駐車時間が短い電動車両は出庫時までに充電できない場合があるという問題があった。
【0006】
本発明は上記事情に鑑みてなされたものであり、駐車場内に設置された充電設備をなるべく多くの電動車両が効率良く利用可能となるように、駐車場の充電設備の利用スケジュール情報を生成することが可能な、駐車場管理装置、駐車場管理方法、およびこれを利用した駐車場制御装置を提供することを目的とする。
【課題を解決するための手段】
【0007】
上記目的を達成するための本発明の駐車場管理装置は、充電設備が設置された駐車場を管理する駐車場管理装置であって、車両ごとの前記駐車場の利用履歴情報を記憶する利用履歴情報記憶部と、前記充電設備の利用が予約された予約済み車両ごとの前記充電設備の設備利用開始時刻および設備利用終了時刻が設定された前記充電設備の利用スケジュール情報を記憶する利用スケジュール情報記憶部と、前記充電設備の利用対象の車両が前記駐車場に入庫すると、前記利用履歴情報記憶部に記憶された利用履歴情報に基づいて前記入庫した車両の出庫予測時刻を特定し、前記利用スケジュール情報記憶部に記憶された利用スケジュール情報に基づいて現時点で最も早く前記充電設備の利用を開始可能な利用開始可能時刻を特定し、特定した利用開始可能時刻から予め設定された充電時間分経過した時刻が前記入庫した車両の出庫予測時刻以前であれば、前記利用開始可能時刻を前記入庫した車両の設備利用開始時刻として特定し、特定した設備利用開始時刻から前記充電時間分経過した時刻を前記入庫した車両の設備利用終了時刻として特定し、特定した情報に基づいて前記利用スケジュール情報を更新する利用スケジュール情報更新部とを備えることを特徴とする。
【0008】
また、本発明の駐車場管理方法は、充電設備が設置された駐車場を管理する駐車場管理装置が、車両ごとの前記駐車場の利用履歴情報と、前記充電設備の利用が予約された予約済み車両ごとの前記充電設備の設備利用開始時刻および設備利用終了時刻が設定された前記充電設備の利用スケジュール情報とを記憶し、前記充電設備の利用対象の車両が前記駐車場に入庫すると、記憶した利用履歴情報に基づいて前記入庫した車両の出庫予測時刻を特定し、記憶した利用スケジュール情報に基づいて現時点で最も早く前記充電設備の利用を開始可能な利用開始可能時刻を特定し、特定した利用開始可能時刻から予め設定された充電時間分経過した時刻が前記入庫した車両の出庫予測時刻以前であれば、前記利用開始可能時刻を前記入庫した車両の設備利用開始時刻として特定し、特定した設備利用開始時刻から前記充電時間分経過した時刻を前記入庫した車両の設備利用終了時刻として特定し、特定した情報に基づいて前記利用スケジュール情報を更新することを特徴とする。
【発明の効果】
【0009】
本発明によれば、駐車場内に設置された充電設備をなるべく多くの電動車両が効率良く利用可能となるように、駐車場の充電設備の利用スケジュール情報を生成することが可能な、駐車場管理装置、駐車場管理方法、およびこれを利用した駐車場制御装置を提供することができる。
【図面の簡単な説明】
【0010】
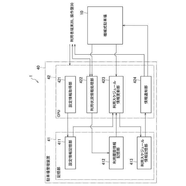
一実施形態による駐車場管理装置を用いた駐車場管理システムの構成を示すブロック図である。
一実施形態による駐車場管理システムが管理する機械式駐車場の構成図である。
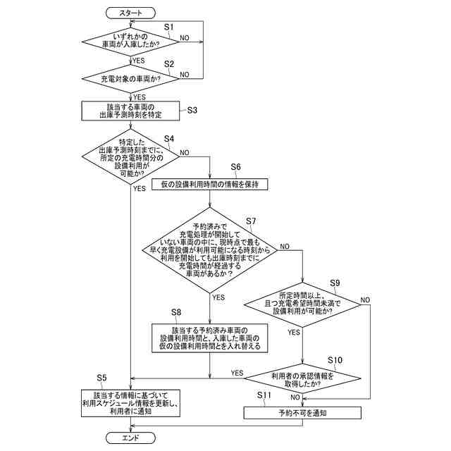
一実施形態による駐車場管理システムの動作中に駐車場管理装置が実行する利用スケジュール情報の更新処理の流れを示すフローチャートである。
(a)は、一実施形態による駐車場管理装置の設定情報記憶部が記憶した情報の一例であり、(b)は、駐車場管理装置が管理する機械式駐車場に入庫した各車両a~車両fの入庫時刻から出庫予測時刻までの時間および充電設備の利用時間を示した説明図であり、(c)は、機械式駐車場に設置された充電設備ごとの各車両a~車両fの設備利用時間を示した説明図である。
(a)は、一実施形態による駐車場管理装置が管理する機械式駐車場に入庫した各車両a~車両gの入庫時刻から出庫予測時刻までの時間および充電設備の利用時間を示した説明図であり、(b)は、機械式駐車場に設置された充電設備ごとの各車両a~車両gの設備利用時間を示した説明図である。
(a)は、一実施形態による駐車場管理装置が管理する機械式駐車場に入庫した各車両a~車両hの入庫時刻から出庫予測時刻までの時間および充電設備の利用時間を示した説明図であり、(b)は、機械式駐車場に設置された充電設備ごとの各車両a~車両hの設備利用時間を示した説明図である。
(a)は、一実施形態による駐車場管理装置が管理する機械式駐車場に入庫した各車両a~車両iの入庫時刻から出庫予測時刻までの時間および充電設備の利用時間を示した説明図であり、(b)は、機械式駐車場に設置された充電設備ごとの各車両a~車両iの設備利用時間を示した説明図である。
【発明を実施するための形態】
(【0011】以降は省略されています)
この特許をJ-PlatPat(特許庁公式サイト)で参照する
関連特許
個人
残土処理システム
2日前
個人
知的財産出願支援システム
3日前
個人
音声・通知・再配達UX制御構造
3日前
個人
帳票自動生成型SaaSシステム
3日前
株式会社カネカ
製造工場の管理システム
3日前
大同特殊鋼株式会社
棒材計数方法
1日前
TOTO株式会社
衛生評価システム
1日前
TOTO株式会社
姿勢評価システム
1日前
株式会社栗本鐵工所
触覚提示システム
1日前
株式会社栗本鐵工所
触覚提示システム
1日前
株式会社栗本鐵工所
触覚提示システム
1日前
株式会社栗本鐵工所
触覚提示システム
1日前
グローリー株式会社
キオスク端末
2日前
株式会社JVCケンウッド
画像表示方法
1日前
株式会社JVCケンウッド
画像表示方法
1日前
株式会社JVCケンウッド
画像表示方法
1日前
株式会社ライト
情報処理システム
2日前
個人
自動配車・地域拠点連携型配送支援システム
3日前
個人
アンケート入力型汎用帳票自動生成システム
3日前
TOTO株式会社
支援装置及び支援プログラム
1日前
アスエネ株式会社
温室効果ガス排出量管理方法
1日前
アスエネ株式会社
温室効果ガス排出量管理方法
1日前
アスエネ株式会社
温室効果ガス排出量管理方法
1日前
アスエネ株式会社
温室効果ガス排出量管理方法
1日前
アスエネ株式会社
温室効果ガス排出量管理方法
1日前
アスエネ株式会社
温室効果ガス排出量管理方法
1日前
アスエネ株式会社
温室効果ガス排出量管理方法
1日前
アスエネ株式会社
温室効果ガス排出量管理方法
1日前
アスエネ株式会社
温室効果ガス排出量管理方法
1日前
トヨタ自動車株式会社
木材マッチングシステム
3日前
アスエネ株式会社
温室効果ガス排出量管理方法
1日前
本田技研工業株式会社
作業システム
1日前
個人
冷凍食品・パック野菜向け自動流通分配システム
3日前
日立建機株式会社
物体検知システム
3日前
富士通株式会社
メッシュ微細化
2日前
アイホン株式会社
仕様情報管理システム
3日前
続きを見る
他の特許を見る