TOP
|
特許
|
意匠
|
商標
特許ウォッチ
Twitter
他の特許を見る
公開番号
2025078276
公報種別
公開特許公報(A)
公開日
2025-05-20
出願番号
2023190727
出願日
2023-11-08
発明の名称
スプレー容器保持用治具及びそれを備えた杖
出願人
中国電力株式会社
代理人
弁理士法人維新国際特許事務所
,
個人
主分類
A01M
29/12 20110101AFI20250513BHJP(農業;林業;畜産;狩猟;捕獲;漁業)
要約
【課題】人の歩行を補助する杖(ステッキ)に、害虫や害獣の忌避剤が充填されたスプレー容器を後付けして携行可能にするスプレー容器保持用治具を提供する。
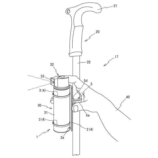
【解決手段】人の歩行を補助する杖20に、害虫や害獣の忌避剤が充填されたスプレー容器30を後付けして携行するための治具であって、スプレー容器30を着脱可能に保持するスプレー容器保持構造4と、このスプレー容器保持構造4を上記杖20の軸22に着脱可能に固定する固定具5を備えるスプレー容器保持用治具1による。
【選択図】図1
特許請求の範囲
【請求項1】
人の歩行を補助する杖に、害虫や害獣の忌避剤が充填されたスプレー容器を後付けして携行するための治具であって、
前記スプレー容器を着脱可能に保持するスプレー容器保持構造と、
前記スプレー容器保持構造を前記杖の軸に着脱可能に固定する固定具を備えることを特徴とするスプレー容器保持用治具。
続きを表示(約 510 文字)
【請求項2】
前記スプレー容器保持構造は、
板状のベースと、
前記ベースに設けられ、前記スプレー容器の容器体を締め付けて前記ベースの保持面上に固定する緊縛具、を備え、
前記固定具はクランプである、ことを特徴とする請求項1に記載のスプレー容器保持用治具。
【請求項3】
前記スプレー容器保持構造と前記固定具の連結部は、
前記スプレー容器保持構造側に設けられるオス又はメス構造と、前記固定具側に設けられるメス又はオス構造からなる嵌合構造と、
前記嵌合構造の固定状態と解除を切り替える固定解除切替構造、を備えるクイックリリース機構を備えていることを特徴とする請求項1又は請求項2に記載のスプレー容器保持用治具。
【請求項4】
前記スプレー容器保持構造と前記固定具の連結部は、前記杖の軸心に対する前記スプレー容器の軸心のなす角度を変更可能にする角度変更機構を備えていることを特徴とする請求項1又は請求項2に記載のスプレー容器保持用治具。
【請求項5】
請求項1又は請求項2に記載のスプレー容器保持用治具を備えることを特徴とする杖。
発明の詳細な説明
【技術分野】
【0001】
本発明は、人の歩行を補助する杖(ステッキ)に、害虫や害獣の忌避剤が充填されたスプレー容器を後付けして携行可能にするスプレー容器保持用治具及びそれを備えた杖に関する。
続きを表示(約 2,700 文字)
【背景技術】
【0002】
一般に、特別高圧架空送電線は山間部に設置されている。このため、特別高圧架空送電線の巡視や作業を行う際、作業者は必要な装備を身体に装着した上で山間部の山道を歩いて鉄塔に行っている。
図6は特別高圧架空送電線の巡視や作業行う場合の装備を装着した作業者を後ろ側から撮影した画像である。
図6の画像から明らかなように、作業者は特別高圧架空送電線の巡視や作業を行う際に様々な装備を携行する必要があり、これらの装備に加えて移動中に必要な携行品は別途リュックサックに入れるなどして携行している。
また、作業者が山間部を歩いて移動する際、蜂等の害虫に遭遇することが多く、場合によっては熊等の害獣に遭遇する場合もある。
【0003】
このような事態の予防処置として作業者は、害虫や害獣の忌避剤が充填されたスプレー容器を携行しているが、このようなスプレー容器は通常、図6に示すような装備とは別にリュックサック等に入れて携行している場合が多い。
このため、特に作業者が山間部の斜面の移動している最中に突如害虫や害獣に遭遇した際、リュックサック等からスプレー容器を取り出すのに手間取ってしまい、スムーズに害虫等を忌避できないといった課題があった。
上述のような課題に対処すべく、本願の出願人は過去に「撃退装置」(特許文献1)を発明し出願している。
【0004】
特許文献1には「撃退装置」という名称で蜂などの人間に害を及ぼす生物を撃退する撃退装置に関する発明が開示されている。
特許文献1に開示される撃退装置は、歩行の際に、当該歩行を補助する杖部と、この杖部の長手方向の一端に設けられた把持部と、この把持部の近傍に設けられた、スプレー容器を収納する容器収納部と、上記把持部の所定の箇所に設けられ、スプレー容器内の薬剤を噴射させる操作部と、上記把持部または容器収納部に設けられる操作部による操作により、スプレー容器内の薬剤が噴射される噴射孔と、を備えたことを特徴とする。
上記構成の特許文献1に開示される発明によれば、杖の把持部の近くにスプレー容器を内蔵し携行することができる。
よって、特許文献1に開示される発明によれば、杖の携行時に突如、蜂等の害虫等に遭遇した際に、作業者は杖の把持部近くに設けられる操作部を操作するだけで、スプレー容器内の薬剤を目的とする方向に向かってに噴射することができる。
この結果、特許文献1に開示される発明によれば、作業者は速やかに害虫や害獣を忌避することができ、自らの身を守ることができる。
【先行技術文献】
【特許文献】
【0005】
特開2020-145966号公報
【発明の概要】
【発明が解決しようとする課題】
【0006】
先の特許文献1に開示される発明は、杖の把持部近くに害虫等の忌避剤が充填されたスプレー容器が内蔵される構造になっている。
このため、特許文献1に開示される発明を用いる場合は、杖の把持部近くに設けられる容器収納部に収納可能な形状及びサイズを有するスプレー容器しか携行することができない。
つまり、特許文献1に開示される発明の場合は、スプレー容器の形状及びサイズに対する汎用性が極めて低いという課題があった。
【0007】
本発明はかかる従来の事情に対処してなされたものでありその目的は、害虫や害獣等の忌避剤が充填されたスプレー容器の形状及びサイズに対する汎用性が高く、人の歩行を補助する杖(ステッキ)に装着してスプレー容器を携行できるスプレー容器保持用治具及びそれを備えた杖を提供することにある。
【課題を解決するための手段】
【0008】
上記課題を解決するための第1の発明であるスプレー容器保持用治具は、人の歩行を補助する杖に、害虫や害獣の忌避剤が充填されたスプレー容器を後付けして携行するための治具であって、スプレー容器を着脱可能に保持するスプレー容器保持構造と、このスプレー容器保持構造を上記杖の軸に着脱可能に固定する固定具を備えることを特徴とする。
上記構成の第1の発明においてスプレー容器保持構造は、所望のサイズ及び形状を有するスプレー容器の容器体を着脱可能に保持するという作用を有する。
また、固定具はスプレー容器を備えたスプレー容器保持構造を、着脱可能に杖の軸の周側面上に固定するという作用を有する。
つまり、第1の発明は、所望の形状及びサイズを有する害虫や害獣の忌避剤が充填されたスプレー容器を、杖の軸に後付けするという作用を有する。
【0009】
第2の発明は、上述の第1の発明であって、スプレー容器保持構造は、板状(例えば平板状又は曲板状又は折曲板状等)のベースと、このベースに設けられ、スプレー容器の容器を締め付けてベースの保持面上に固定する緊縛具、を備え、固定具はクランプである、ことを特徴とする。
上記構成の第2の発明によれば、ベースの保持面上に緊縛具を用いてスプレー容器の容器体を動かないように固定することができる。この場合、ベースに保持されるスプレー容器の操作部又は噴射口の向きを所望の方向に保持しておくことができる。
この場合、杖とともにスプレー容器を携行している時に害虫や害獣に遭遇した際に、作業者は意図する方向に速やかに忌避剤を噴射することができる。
さらに、第2の発明では、固定具として特にクランプを用いることで、スプレー容器を備えたスプレー容器保持構造を杖の軸に取設した際に、スプレー容器保持構造が軸の周方向に意図せず移動してしまう防ぐことができる。
つまり、第2の発明によれば、杖の使用時に作業者の歩行の妨げにならない位置(方向)にスプレー容器を備えたスプレー容器保持構造を配置しておくことができる。
【0010】
第3の発明は、上述の第1又は第2の発明であって、スプレー容器保持構造と固定具の連結部は、スプレー容器保持構造側に設けられるオス又はメス構造と、固定具側に設けられるメス又はオス構造からなる嵌合構造と、この嵌合構造の固定状態と解除を切り替える固定解除切替構造、を備えるクイックリリース機構を備えていることを特徴とする。
上記構成の第3の発明によれば、必要時に杖の軸からスプレー容器を備えたスプレー容器保持構造を、固定具を操作することなく速やかに取り外す(分離する)ことができる。
(【0011】以降は省略されています)
特許ウォッチbot のツイートを見る
この特許をJ-PlatPat(特許庁公式サイト)で参照する
関連特許
他の特許を見る