TOP
|
特許
|
意匠
|
商標
特許ウォッチ
Twitter
他の特許を見る
10個以上の画像は省略されています。
公開番号
2025068385
公報種別
公開特許公報(A)
公開日
2025-04-28
出願番号
2023178246
出願日
2023-10-16
発明の名称
情報処理装置、情報処理システム、および、情報処理方法
出願人
トヨタ自動車株式会社
代理人
弁理士法人明成国際特許事務所
主分類
G06V
10/774 20220101AFI20250421BHJP(計算;計数)
要約
【課題】カメラの撮像領域における外観状態が機械学習モデルを学習したときから変化した場合に、機械学習モデルの精度が低下することを抑制できる技術を提供する。
【解決手段】無人運転により移動可能な移動体を移動させるために用いられる情報処理装置は、機械学習モデルの精度を取得する精度取得部と、精度が予め定められた閾値未満となる場合に、機械学習モデルを学習させるために用いられる学習用データ群を取得する学習データ取得部と、学習用データ群を用いて機械学習モデルを学習させる学習処理を実行する学習部と、を備える。
【選択図】図4
特許請求の範囲
【請求項1】
無人運転により移動可能な移動体を移動させるために用いられる情報処理装置であって、
前記移動体とは異なる場所に設置された外部カメラによって前記移動体を撮像することで取得される撮像画像が入力された場合に、前記無人運転により前記移動体を移動させるために前記移動体の動作を規定する制御信号と、前記制御信号を生成するときに用いられるパラメータと、の少なくとも一方を出力する機械学習モデルの精度を取得する精度取得部と、
前記精度が予め定められた閾値未満となる場合に、前記機械学習モデルを学習させるために用いられる学習用データ群を取得する学習データ取得部と、
取得した前記学習用データ群を用いて前記機械学習モデルを学習させる学習処理を実行する学習部と、を備え、
前記学習用データ群は、前記移動体が移動する通路と前記通路の周辺領域とを含む対象領域を表す背景画像と、前記移動体を表す移動体画像と、を含む訓練画像と、正解ラベルと、を対応付けた1以上の学習用データセットを含む、情報処理装置。
続きを表示(約 2,700 文字)
【請求項2】
請求項1に記載の情報処理装置であって、
前記機械学習モデルは、初期学習用データ群を用いて予め学習されており、
前記学習データ取得部は、複数の前記外部カメラのうち、一部の前記外部カメラによって取得された前記撮像画像が前記機械学習モデルに入力されたときに、前記精度が前記閾値未満となる場合に、前記機械学習モデルを追加学習させるために用いられる前記学習用データ群としての追加学習用データ群を取得し、
前記学習部は、取得した前記追加学習用データ群を用いて、前記機械学習モデルを追加学習させる追加学習処理を実行し、
前記初期学習用データ群は、前記複数の外部カメラの各撮像領域に応じた複数の初期学習用データセットであって、前記撮像領域に応じた前記背景画像と、前記移動体画像と、を含む訓練画像と、正解ラベルと、を対応付けた複数の初期学習用データセットを含み、
前記追加学習用データ群は、前記精度が前記閾値未満となった前記撮像画像を取得した前記外部カメラの前記撮像領域に応じた前記背景画像と、前記移動体画像と、を含む前記訓練画像と、前記正解ラベルと、を対応付けた1以上の追加学習用データセットを含む、情報処理装置。
【請求項3】
請求項1に記載の情報処理装置であって、
前記機械学習モデルは、初期学習用データ群を用いて予め学習されており、
前記学習データ取得部は、複数の前記外部カメラのうち、一部の前記外部カメラによって取得された前記撮像画像が前記機械学習モデルに入力されたときに、前記精度が前記閾値未満となる場合に、前記機械学習モデルとは異なる機械学習モデルを新たに学習させるために用いられる前記学習用データ群としての新規学習用データ群を取得し、
前記学習部は、取得した前記新規学習用データ群を用いて新たな前記機械学習モデルを学習させる新規学習処理を実行し、
前記初期学習用データ群は、前記複数の外部カメラの各撮像領域に応じた複数の初期学習用データセットであって、前記撮像領域に応じた前記背景画像と、前記移動体画像と、を含む訓練画像と、正解ラベルと、を対応付けた複数の初期学習用データセットを含み、
前記新規学習用データ群は、前記精度が前記閾値未満となった前記撮像画像を取得した前記外部カメラの前記撮像領域に応じた前記背景画像と、前記移動体画像と、を含む前記訓練画像と、前記正解ラベルと、を対応付けた1以上の新規学習用データセットを含む、情報処理装置。
【請求項4】
請求項1に記載の情報処理装置であって、
前記訓練画像は、前記撮像画像と、合成画像と、の少なくとも一方であり、
前記合成画像は、前記対象領域を前記外部カメラによって撮像することで取得される実背景画像と、前記対象領域を仮想的に再現した仮想背景画像と、のいずれか一方の前記背景画像に、前記移動体を仮想的に再現した仮想移動体画像を合成することで生成される、情報処理装置。
【請求項5】
請求項4に記載の情報処理装置であって、さらに、
前記移動体の外観状態を示す外観情報を取得する外観取得部を備え、
前記学習部は、前記外観情報によって特定される前記外観状態の前記移動体を仮想的に再現した前記仮想移動体画像を用いて前記学習処理を実行する、情報処理装置。
【請求項6】
請求項1に記載の情報処理装置であって、
前記学習部は、前記無人運転の制御を実行している期間に前記学習処理を実行する、情報処理装置。
【請求項7】
請求項1に記載の情報処理装置であって、さらに、
前記機械学習モデルに前記撮像画像を入力することで、前記制御信号と前記パラメータとの少なくとも一方の制御情報を取得する制御情報取得部を備え、
前記学習処理が完了した場合に、前記制御情報取得部は、前記学習処理後の前記機械学習モデルに前記撮像画像を入力することで、前記制御情報を取得する、情報処理装置。
【請求項8】
請求項1に記載の情報処理装置であって、さらに、
前記機械学習モデルに前記撮像画像を入力することで、前記制御信号と前記パラメータとの少なくとも一方の制御情報を取得する制御情報取得部を備え、
前記精度取得部は、さらに、前記学習処理後の前記機械学習モデルの精度を取得し、
前記学習処理が完了した場合であって、前記学習処理後の前記機械学習モデルの前記精度が前記閾値以上となる場合に、前記制御情報取得部は、前記学習処理後の前記機械学習モデルに前記撮像画像を入力することで、前記制御情報を取得する、情報処理装置。
【請求項9】
請求項8に記載の情報処理装置であって、
前記精度取得部は、前記訓練画像に含まれる前記移動体よりも後方を移動する前記移動体を前記外部カメラによって撮像することで取得された複数の前記撮像画像を用いて、前記学習処理後の前記機械学習モデルの前記精度を取得し、
前記学習処理後の前記機械学習モデルについての前記精度を算出するために用いられた前記複数の撮像画像の総数に対する、前記学習処理後の前記機械学習モデルについての前記精度が前記閾値以上となった前記撮像画像の個数の割合が、基準値以上である場合に、前記制御情報取得部は、前記学習処理後の前記機械学習モデルに前記撮像画像を入力することで、前記制御情報を取得する、情報処理装置。
【請求項10】
請求項1に記載の情報処理装置であって、さらに、
前記機械学習モデルに前記撮像画像を入力することで、前記制御信号と前記パラメータとの少なくとも一方の制御情報を取得する制御情報取得部と、
前記制御信号を前記移動体に送信する送信部と、を備え、
前記訓練画像は、前記無人運転の制御を実行している前記移動体を前記外部カメラによって撮像することで取得された前記撮像画像であり、
前記学習処理において前記訓練画像として用いる前記撮像画像を取得する場合に、前記送信部は、前記制御情報取得部によって取得される前記制御信号および前記制御情報取得部によって取得される前記パラメータから生成される前記制御信号とは異なる前記制御信号を前記移動体に送信する、情報処理装置。
(【請求項11】以降は省略されています)
発明の詳細な説明
【技術分野】
【0001】
本開示は、情報処理装置、情報処理システム、および、情報処理方法に関する。
続きを表示(約 8,600 文字)
【背景技術】
【0002】
従来、車両外部のカメラを用いて車両の走行を監視することで、遠隔制御によって車両を自動走行させる技術が知られている(特許文献1)。
【先行技術文献】
【特許文献】
【0003】
特表2017-538619号公報
【発明の概要】
【発明が解決しようとする課題】
【0004】
車両等の移動体を無人運転により移動させるために、カメラによって撮像された移動体を含む画像を機械学習モデルに入力することで、移動体の動作を規定する制御信号と、制御信号を生成するためのパラメータと、の少なくとも一方を取得する場合がある。しかし、カメラの撮像領域の外観状態が機械学習モデルを学習したときから変化した場合、機械学習モデルの精度が低下する場合がある。
【課題を解決するための手段】
【0005】
本開示は、以下の形態として実現することが可能である。
【0006】
(1)本開示の第1形態によれば、情報処理装置が提供される。無人運転により移動可能な移動体を移動させるために用いられる情報処理装置は、前記移動体とは異なる場所に設置された外部カメラによって前記移動体を撮像することで取得される撮像画像が入力された場合に、前記無人運転により前記移動体を移動させるために前記移動体の動作を規定する制御信号と、前記制御信号を生成するときに用いられるパラメータと、の少なくとも一方を出力する機械学習モデルの精度を取得する精度取得部と、前記精度が予め定められた閾値未満となる場合に、前記機械学習モデルを学習させるために用いられる学習用データ群を取得する学習データ取得部と、取得した前記学習用データ群を用いて前記機械学習モデルを学習させる学習処理を実行する学習部と、を備え、前記学習用データ群は、前記移動体が移動する通路と前記通路の周辺領域とを含む対象領域を表す背景画像と、前記移動体を表す移動体画像と、を含む訓練画像と、正解ラベルと、を対応付けた1以上の学習用データセットを含む。この形態によれば、情報処理装置は、機械学習モデルの精度が閾値未満となる場合に、取得した学習用データセットを用いて、機械学習モデルを学習させることができる。このようにすると、外部カメラの撮像領域の外観状態が機械学習モデルを学習したときから変化した場合に、機械学習モデルの精度が低下することを抑制できる。
(2)上記形態であって、前記機械学習モデルは、初期学習用データ群を用いて予め学習されており、前記学習データ取得部は、複数の前記外部カメラのうち、一部の前記外部カメラによって取得された前記撮像画像が前記機械学習モデルに入力されたときに、前記精度が前記閾値未満となる場合に、前記機械学習モデルを追加学習させるために用いられる前記学習用データ群としての追加学習用データ群を取得し、前記学習部は、取得した前記追加学習用データ群を用いて、前記機械学習モデルを追加学習させる追加学習処理を実行し、前記初期学習用データ群は、前記複数の外部カメラの各撮像領域に応じた複数の初期学習用データセットであって、前記撮像領域に応じた前記背景画像と、前記移動体画像と、を含む訓練画像と、正解ラベルと、を対応付けた複数の初期学習用データセットを含み、前記追加学習用データ群は、前記精度が前記閾値未満となった前記撮像画像を取得した前記外部カメラの前記撮像領域に応じた前記背景画像と、前記移動体画像と、を含む前記訓練画像と、前記正解ラベルと、を対応付けた1以上の追加学習用データセットを含んでもよい。この形態によれば、複数の外部カメラの各撮像領域に応じた複数の初期学習用データセットであって、撮像領域に応じた背景画像と、移動体画像と、を含む訓練画像と、正解ラベルと、を対応付けた複数の初期学習データセットを用いて予め学習された機械学習モデルが準備されている。情報処理装置は、複数の外部カメラのうち、一部の外部カメラによって取得された撮像画像が学習済みの機械学習モデルに入力されたときに、精度が閾値未満となる場合に、以下の処理を実行できる。この場合に、情報処理装置は、精度が閾値未満となった撮像画像を取得した外部カメラの撮像領域に応じた背景画像と、移動体画像と、を含む訓練画像と、正解ラベルと、を対応付けた追加学習用データセットを用いて、機械学習モデルを追加学習させることができる。このようにすると、複数の外部カメラのうち、一部の外部カメラの撮像領域における外観状態が機械学習モデルを学習したときから変化した場合に、機械学習モデルの精度が低下することを抑制できる。
(3)上記形態であって、前記機械学習モデルは、初期学習用データ群を用いて予め学習されており、前記学習データ取得部は、複数の前記外部カメラのうち、一部の前記外部カメラによって取得された前記撮像画像が前記機械学習モデルに入力されたときに、前記精度が前記閾値未満となる場合に、前記機械学習モデルとは異なる機械学習モデルを新たに学習させるために用いられる前記学習用データ群としての新規学習用データ群を取得し、前記学習部は、取得した前記新規学習用データ群を用いて新たな前記機械学習モデルを学習させる新規学習処理を実行し、前記初期学習用データ群は、前記複数の外部カメラの各撮像領域に応じた複数の初期学習用データセットであって、前記撮像領域に応じた前記背景画像と、前記移動体画像と、を含む訓練画像と、正解ラベルと、を対応付けた複数の初期学習用データセットを含み、前記新規学習用データ群は、前記精度が前記閾値未満となった前記撮像画像を取得した前記外部カメラの前記撮像領域に応じた前記背景画像と、前記移動体画像と、を含む前記訓練画像と、前記正解ラベルと、を対応付けた1以上の新規学習用データセットを含んでもよい。この形態によれば、複数の外部カメラの各撮像領域に応じた複数の初期学習用データセットであって、撮像領域に応じた背景画像と、移動体画像と、を含む訓練画像と、正解ラベルと、を対応付けた複数の初期学習データセットを用いて予め学習された機械学習モデルが準備されている。情報処理装置は、複数の外部カメラのうち、一部の外部カメラによって取得された撮像画像が学習済みの機械学習モデルに入力されたときに、精度が閾値未満となる場合に、以下の処理を実行できる。この場合に、情報処理装置は、精度が閾値未満となった撮像画像を取得した外部カメラの撮像領域に応じた背景画像と、移動体画像と、を含む訓練画像と、正解ラベルと、を対応付けた新規学習用データセットを用いて、機械学習モデルを新たに学習させることができる。このようにすると、複数の外部カメラのうち、一部の外部カメラの撮像領域における外観状態が機械学習モデルを学習したときから変化した場合に、機械学習モデルの精度が低下することを抑制できる。
(4)上記形態であって、前記訓練画像は、前記撮像画像と、合成画像と、の少なくとも一方であり、前記合成画像は、前記対象領域を前記外部カメラによって撮像することで取得される実背景画像と、前記対象領域を仮想的に再現した仮想背景画像と、のいずれか一方の前記背景画像に、前記移動体を仮想的に再現した仮想移動体画像を合成することで生成されてもよい。この形態によれば、情報処理装置は、機械学習モデルの学習に用いられる訓練画像として、実背景画像と仮想背景画像とのいずれか一方の背景画像に、仮想移動体画像を合成することで生成される合成画像を用いることができる。
(5)上記形態であって、さらに、前記移動体の外観状態を示す外観情報を取得する外観取得部を備え、前記学習部は、前記外観情報によって特定される前記外観状態の前記移動体を仮想的に再現した前記仮想移動体画像を用いて前記学習処理を実行させてもよい。この形態によれば、情報処理装置は、外観情報によって特定される外観状態の移動体を仮想的に再現した仮想移動体画像を含む訓練画像を用いて、機械学習モデルを学習させることができる。このようにすると、機械学習モデルを学習させるときに、対象の移動体の外観状態に応じた特徴量を学習させることができる。これにより、機械学習モデルの精度を向上させることができる。
(6)上記形態であって、前記学習部は、前記無人運転の制御を実行している期間に前記学習処理を実行してもよい。この形態によれば、情報処理装置は、移動体が無人運転の制御を実行している期間に機械学習モデルを学習させる学習処理を実行することができる。
(7)上記形態であって、さらに、前記機械学習モデルに前記撮像画像を入力することで、前記制御信号と前記パラメータとの少なくとも一方の制御情報を取得する制御情報取得部を備え、前記学習処理が完了した場合に、前記制御情報取得部は、前記学習処理後の前記機械学習モデルに前記撮像画像を入力することで、前記制御情報を取得してもよい。この形態によれば、情報処理装置は、学習処理が完了した場合に、学習処理後の機械学習モデルに撮像画像を入力することで、制御情報を取得することができる。これにより、複数の外部カメラのうち、一部の外部カメラによって取得された撮像画像を用いて取得された制御情報の精度が低下することを抑制できる。
(8)上記形態であって、さらに、前記機械学習モデルに前記撮像画像を入力することで、前記制御信号と前記パラメータとの少なくとも一方の制御情報を取得する制御情報取得部を備え、前記精度取得部は、さらに、前記学習処理後の前記機械学習モデルの精度を取得し、前記学習処理が完了した場合であって、前記学習処理後の前記機械学習モデルの前記精度が前記閾値以上となる場合に、前記制御情報取得部は、前記学習処理後の前記機械学習モデルに前記撮像画像を入力することで、前記制御情報を取得してもよい。この形態によれば、情報処理装置は、学習処理が完了した場合であって、学習処理後の機械学習モデルの精度が閾値以上となる場合に、学習処理後の機械学習モデルに撮像画像を入力して、制御情報を取得することができる。これにより、複数の外部カメラのうち、一部の外部カメラによって取得された撮像画像を用いて取得された制御情報の精度が低下することをより抑制できる。
(9)上記形態であって、前記精度取得部は、前記訓練画像に含まれる前記移動体よりも後方を移動する前記移動体を前記外部カメラによって撮像することで取得された複数の前記撮像画像を用いて、前記学習処理後の機械学習モデルの前記精度を取得し、前記学習処理後の機械学習モデルについての前記精度を算出するために用いられた前記複数の撮像画像の総数に対する、前記学習処理後の機械学習モデルについての前記精度が前記閾値以上となった前記撮像画像の個数の割合が、基準値以上である場合に、前記制御情報取得部は、前記学習処理後の機械学習モデルに前記撮像画像を入力することで、前記制御情報を取得してもよい。この形態によれば、情報処理装置は、学習処理後の機械学習モデルについての精度を算出するために用いられた複数の撮像画像の総数に対する、学習処理後の機械学習モデルの精度が閾値以上となった撮像画像の個数の割合が、基準値以上である場合に、学習処理後の機械学習モデルに撮像画像を入力して、制御情報を取得することができる。これにより、複数の外部カメラのうち、一部の外部カメラによって取得された撮像画像を用いて取得された制御情報の精度が低下することをより一層抑制できる。
(10)上記形態であって、さらに、前記機械学習モデルに前記撮像画像を入力することで、前記制御信号と前記パラメータとの少なくとも一方の制御情報を取得する制御情報取得部と、前記制御信号を前記移動体に送信する送信部と、を備え、前記訓練画像は、前記無人運転の制御を実行している前記移動体を前記外部カメラによって撮像することで取得された前記撮像画像であり、前記学習処理において前記訓練画像として用いる前記撮像画像を取得する場合に、前記送信部は、前記制御情報取得部によって取得される前記制御信号および前記制御情報取得部によって取得される前記パラメータから生成される前記制御信号とは異なる前記制御信号を前記移動体に送信してもよい。この形態によれば、情報処理装置は、機械学習モデルを用いて取得された制御信号、および、機械学習モデルを用いて取得されたパラメータから生成された制御信号とは異なる制御信号を移動体に送信することができる。これにより、訓練画像の準備に要する負荷を低減したり、所望の訓練画像を生成しやすくしたりすることができる。
(11)本開示の第2形態によれば、情報処理システムが提供される。無人運転により移動可能な移動体を移動させるために用いられる情報処理システムは、移動体と、前記移動体とは異なる場所に設置された複数の外部カメラと、上記形態に記載の情報処理装置と、を備える。この形態によれば、情報処理システムは、機械学習モデルの精度が閾値未満となる場合に、取得した学習用データセットを用いて、機械学習モデルを学習させることができる。このようにすると、外部カメラの撮像領域の外観状態が機械学習モデルを学習したときから変化した場合に、機械学習モデルの精度が低下することを抑制できる。
(12)本開示の第3形態によれば、情報処理方法が提供される。無人運転により移動可能な移動体を移動させるために用いられる情報処理方法は、前記移動体とは異なる場所に設置された外部カメラによって前記移動体を撮像することで取得される撮像画像が入力された場合に、前記無人運転により前記移動体を移動させるために前記移動体の動作を規定する制御信号と、前記制御信号を生成するときに用いられるパラメータと、の少なくとも一方を出力する機械学習モデルの精度を取得する精度取得工程と、前記精度が予め定められた閾値未満となる場合に、前記機械学習モデルを学習させるために用いられる学習用データ群を取得する学習データ取得工程と、取得した前記学習用データ群を用いて前記機械学習モデルを学習させる学習処理を実行する学習工程と、を備え、前記学習用データ群は、前記移動体が移動する通路と前記通路の周辺領域とを含む対象領域を表す背景画像と、前記移動体を表す移動体画像と、を含む訓練画像と、正解ラベルと、を対応付けた1以上の学習用データセットを含む。この形態によれば、機械学習モデルの精度が閾値未満となる場合に、取得した学習用データセットを用いて、機械学習モデルを学習させることができる。このようにすると、外部カメラの撮像領域の外観状態が機械学習モデルを学習したときから変化した場合に、機械学習モデルの精度が低下することを抑制できる。
本開示は、上記の情報処理装置、情報処理システム、および、情報処理方法以外の種々の形態で実現することが可能である。例えば、情報処理装置、情報処理システム、および、移動体の製造方法、情報処理装置、情報処理システム、および、移動体の制御方法、その制御方法を実現するコンピュータプログラム、そのコンピュータプログラムを記録した一時的でない記録媒体等の形態で実現することができる。
【図面の簡単な説明】
【0007】
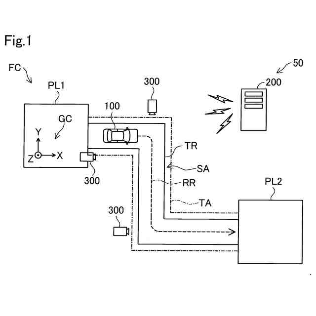
第1実施形態における情報処理システムの構成を示す概念図。
第1実施形態における情報処理システムの構成を示すブロック図。
第1実施形態における車両の走行制御の処理手順を示すフローチャート。
第1実施形態における学習処理方法を示すフローチャート。
第1実施形態における形状データの取得方法を示すフローチャート。
形状データを用いた車両の位置取得方法の一例を示すフローチャート。
図6に示す方法を実行したときの各種画像の例を示す模式図。
座標点算出工程の詳細を説明するための図。
ベース座標点の算出方法を説明するための図。
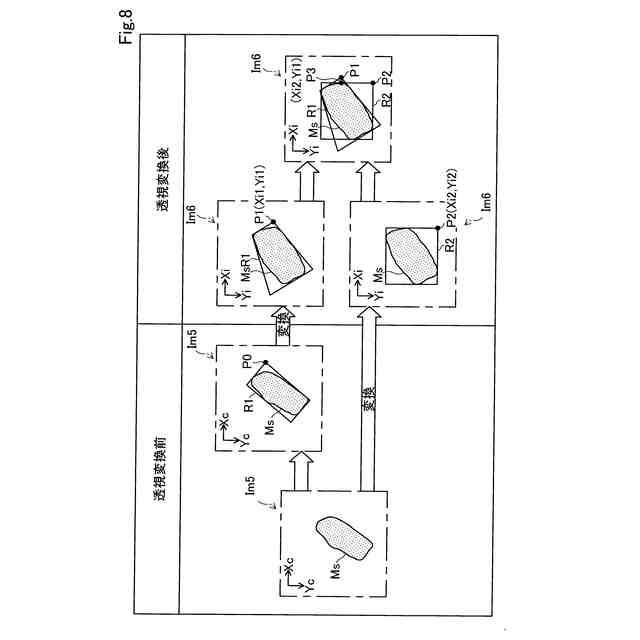
位置変換工程の詳細を説明するための第1図。
位置変換工程の詳細を説明するための第2図。
第2実施形態における情報処理システムの構成を示すブロック図。
第2実施形態における学習処理方法を示すフローチャート。
第2実施形態における形状データの取得方法を示すフローチャート。
第3実施形態における情報処理システムの構成を示すブロック図。
第3実施形態における学習処理方法を示すフローチャート。
第3実施形態における形状データの取得方法を示すフローチャート。
第4実施形態における情報処理システムの構成を示すブロック図。
矩形座標値を説明するための図。
第4実施形態における学習処理方法を示すフローチャート。
矩形座標値の取得方法を示すフローチャート。
第5実施形態における情報処理システムの構成を示すブロック図。
立体座標値を説明するための図。
第5実施形態における学習処理方法を示すフローチャート。
立体座標値の取得方法を示すフローチャート。
第6実施形態における情報処理システムの構成を示すブロック図。
第6実施形態における学習処理方法を示すフローチャート。
第4学習モデルを用いた車両位置情報の取得方法を示すフローチャート。
第7実施形態における情報処理システムの構成を示すブロック図。
第7実施形態における学習処理方法を示すフローチャート。
第5学習モデルを用いた走行制御信号の取得方法を示すフローチャート。
第8実施形態における情報処理システムの構成を示すブロック図。
第6学習モデルの学習に用いられる訓練画像の生成方法の一例を示す図。
第8実施形態における学習処理方法を示すフローチャート。
第8実施形態における形状データの取得方法を示すフローチャート。
第9実施形態における情報処理システムの構成を示すブロック図。
第9実施形態における学習処理方法を示すフローチャート。
第9実施形態における形状データの取得方法を示すフローチャート。
第10実施形態における情報処理システムの構成を示すブロック図。
第10実施形態における車両の走行制御の処理手順を示すフローチャート。
【発明を実施するための形態】
【0008】
A.第1実施形態:
A-1.情報処理システムの構成:
図1は、第1実施形態における情報処理システム50の構成を示す概念図である。情報処理システム50は、移動体に搭乗した搭乗者の走行操作によることなく、移動体を移動させるためのシステムである。情報処理システム50は、1以上の移動体と、移動体とは異なる場所に設置された複数の外部カメラ300と、情報処理装置200と、を備える。
【0009】
本開示において、「移動体」は、移動し得る物体を意味し、例えば、車両100や電動垂直離着陸機(いわゆる空飛ぶ自動車)である。本実施形態では、移動体は、車両100である。車両100は、車輪によって走行する車両100であっても無限軌道によって走行する車両100であってもよく、例えば、乗用車、トラック、バス、二輪車、四輪車、戦車、工事用車両などである。車両100は、電気自動車(BEV:Battery Electric Vehicle)、ガソリン自動車、ハイブリッド自動車、ならびに燃料電池自動車を含む。移動体が車両100以外である場合には、本開示における「車両」「車」との表現を、適宜に「移動体」に置き換えることができ、「走行」との表現を、適宜に「移動」に置き換えることができる。
【0010】
車両100は、無人運転により走行可能に構成されている。「無人運転」とは、搭乗者の走行操作によらない運転を意味する。走行操作とは、車両100の「走る」、「曲がる」、「止まる」の少なくともいずれかに関する操作を意味する。無人運転は、車両100の外部に位置する装置を用いた自動または手動の遠隔制御によって、あるいは、車両100の自律制御によって実現される。無人運転によって走行している車両100には、走行操作を行わない搭乗者が搭乗していてもよい。走行操作を行わない搭乗者には、例えば、単に車両100の座席に着座している人や、組み付け、検査、スイッチ類の操作といった走行操作とは異なる作業を車両100に乗りながら行っている人が含まれる。なお、搭乗者の走行操作による運転は、「有人運転」と呼ばれることがある。
(【0011】以降は省略されています)
この特許をJ-PlatPat(特許庁公式サイト)で参照する
関連特許
トヨタ自動車株式会社
電池
21日前
トヨタ自動車株式会社
車両
6日前
トヨタ自動車株式会社
電池
6日前
トヨタ自動車株式会社
車両
7日前
トヨタ自動車株式会社
配管
7日前
トヨタ自動車株式会社
車両
20日前
トヨタ自動車株式会社
電池
12日前
トヨタ自動車株式会社
車体
20日前
トヨタ自動車株式会社
車両
20日前
トヨタ自動車株式会社
方法
20日前
トヨタ自動車株式会社
モータ
19日前
トヨタ自動車株式会社
電動車
7日前
トヨタ自動車株式会社
電動車
6日前
トヨタ自動車株式会社
蓄電池
20日前
トヨタ自動車株式会社
ロータ
7日前
トヨタ自動車株式会社
制御装置
6日前
トヨタ自動車株式会社
コネクタ
6日前
トヨタ自動車株式会社
学習装置
6日前
トヨタ自動車株式会社
制御装置
7日前
トヨタ自動車株式会社
制御装置
7日前
トヨタ自動車株式会社
電動車両
20日前
トヨタ自動車株式会社
制御装置
7日前
トヨタ自動車株式会社
鋳造装置
19日前
トヨタ自動車株式会社
推定装置
19日前
トヨタ自動車株式会社
路側装置
19日前
トヨタ自動車株式会社
監視装置
12日前
トヨタ自動車株式会社
電動車両
19日前
トヨタ自動車株式会社
蓄電セル
14日前
トヨタ自動車株式会社
エンジン
6日前
トヨタ自動車株式会社
樹脂外板
20日前
トヨタ自動車株式会社
制御装置
19日前
トヨタ自動車株式会社
蓄電装置
19日前
トヨタ自動車株式会社
制御装置
19日前
トヨタ自動車株式会社
路側装置
19日前
トヨタ自動車株式会社
電動車両
19日前
トヨタ自動車株式会社
路側装置
19日前
続きを見る
他の特許を見る