TOP
|
特許
|
意匠
|
商標
特許ウォッチ
Twitter
他の特許を見る
10個以上の画像は省略されています。
公開番号
2025059354
公報種別
公開特許公報(A)
公開日
2025-04-10
出願番号
2023169400
出願日
2023-09-29
発明の名称
半導体装置
出願人
株式会社FLOSFIA
代理人
主分類
H01L
25/07 20060101AFI20250403BHJP(基本的電気素子)
要約
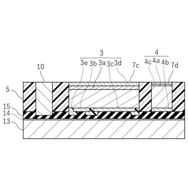
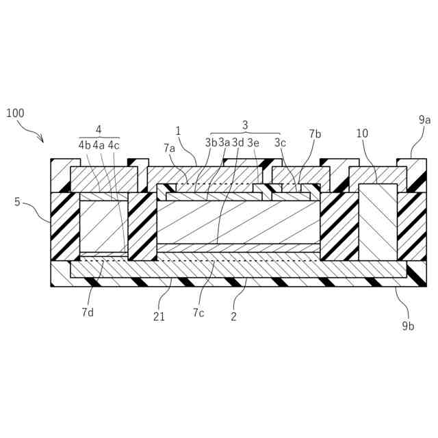
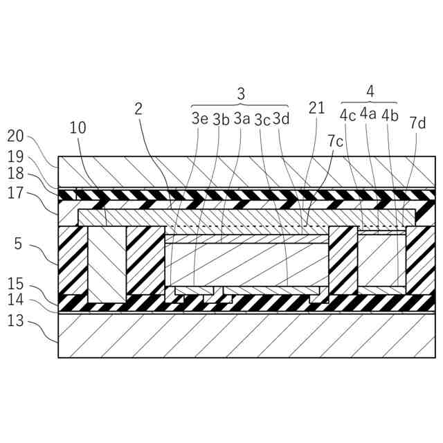
【課題】半導体素子の高さを調整することができ、電気的特性の優れた半導体装置の提供を目的とする。
【解決手段】支持層と、前記支持層の上方に設けられた第1の半導体素子と、前記支持層の上方に設けられた第2の半導体素子と、前記支持層の上方に設けられ、前記第1の半導体素子の少なくとも一部と前記第2の半導体素子の少なくとも一部とが埋め込まれた絶縁体とを備え、前記支持層は、前記第1の半導体素子の下方において少なくとも一部が前記絶縁体に埋め込まれた第1の凸部を有する、半導体装置。
【選択図】図1
特許請求の範囲
【請求項1】
支持層と、
前記支持層の上方に設けられた第1の半導体素子と、
前記支持層の上方に設けられた第2の半導体素子と、
前記支持層の上方に設けられ、前記第1の半導体素子の少なくとも一部と前記第2の半導体素子の少なくとも一部とが埋め込まれた絶縁体とを備え、
前記支持層は、前記第1の半導体素子の下方において少なくとも一部が前記絶縁体に埋め込まれた第1の凸部を有する、半導体装置。
続きを表示(約 580 文字)
【請求項2】
前記第2の半導体素子は、前記第1の半導体素子の厚みとは異なる厚みを有する、請求項1に記載の半導体装置。
【請求項3】
前記支持層は、前記第2の半導体素子の下方において少なくとも一部が前記絶縁体内に埋め込まれた第2の凸部を有する、請求項1に記載の半導体装置。
【請求項4】
前記第2の半導体素子の一部は、前記絶縁体の下面よりも下方に位置する、請求項1に記載の半導体装置。
【請求項5】
前記第2の半導体素子の下面と、前記絶縁体の下面とが、上下方向において同じ位置に配置されている、請求項1に記載の半導体装置。
【請求項6】
前記第1の半導体素子は、半導体層と、前記半導体層の下面に配置された電極とを有し、
前記支持層は、配線層と、前記配線層と前記電極とを接続する接続部とを有し、
前記第1の凸部は、前記接続部である、請求項1に記載の半導体装置。
【請求項7】
前記配線層と前記接続部とが一体的に形成されている、請求項6に記載の半導体装置。
【請求項8】
請求項1~7のいずれか1つに記載の半導体装置を用いた電力変換装置。
【請求項9】
請求項1~7のいずれか1つに記載の半導体装置を用いた制御システム。
発明の詳細な説明
【技術分野】
【0001】
本開示は、半導体素子の少なくとも一部が絶縁体に埋め込まれた半導体装置に関する。
続きを表示(約 1,300 文字)
【背景技術】
【0002】
近年、プリント回路基板をコアとして、絶縁層内に半導体素子が埋め込まれたモジュールが検討されている。
【0003】
特許文献1には、配線層と絶縁層が積層された配線基板と、所定のピッチで配列された複数の電極及び複数の電極の上に形成されたバンプを有する電子部品と、バンプと上層回路の配線とを接続するためのランドを有する配線基板であって、複数のバンプがそれぞれ上部に平坦面を有し、それぞれの平坦面が複数のランドと直接接続されている多層配線基板が記載されている。
【0004】
特許文献2には、樹脂基板と、裏面を前記樹脂基板に向けて樹脂基板の表面に載置された半導体装置と、前記半導体装置を覆う絶縁層と、前記絶縁層の内部に埋め込まれた少なくとも1つのビア導体と、ビア導体のいずれかと電気的に接続する配線パターンとを備え、半導体装置は、電気回路と、主面に露出し、電気回路と電気的に接続された少なくとも1つの端子とを有し、前記主面のうち前記少なくとも1つの第1の端子が露出していない非端子領域と裏面とがともに粗化されている電子部品内蔵基板が記載されている。
【0005】
なお、背景技術のセクションは、当業者が本開示の範囲及び有用性を理解することを支援するために、本開示の実施態様を技術的又は動作的な文脈で提供されるものである。明示的に特定されたものでない限り、単に背景技術のセクションに含まれていることによって本明細書の記述が先行技術であると認められるものではない。
【先行技術文献】
【特許文献】
【0006】
特開2008-124260号公報
特許第5903973号公報
【発明の概要】
【0007】
以下は、当業者に基本的理解を提供するために本開示の簡略化された概要を提示する。この概要は、本開示の実施形態の重要な要素を特定すること又は本開示の範囲を定めることを意図していない。この発明の概要の目的は、後に提示されるより詳細な説明の前置きとして、簡略化された形態で、本明細書で開示されるいくつかの概念を提示することである。
【発明が解決しようとする課題】
【0008】
本開示は、半導体素子の高さを調整することができ、電気的特性の優れた半導体装置を提供することを課題の一つとする。
【課題を解決するための手段】
【0009】
上記課題を解決するために、本開示の一態様の半導体装置は、支持層と、前記支持層の上方に設けられた第1の半導体素子と、前記支持層の上方に設けられた第2の半導体素子と、前記支持層の上方に設けられ、前記第1の半導体素子の少なくとも一部と前記第2の半導体素子の少なくとも一部とが埋め込まれた絶縁体とを備え、前記支持層は、前記第1の半導体素子の下方において少なくとも一部が前記絶縁体に埋め込まれた第1の凸部を有する、半導体装置。
【発明の効果】
【0010】
本開示の実施形態にかかる半導体装置は、半導体素子の高さを調整することができ、電気的特性を向上できる。
【図面の簡単な説明】
(【0011】以降は省略されています)
この特許をJ-PlatPat(特許庁公式サイト)で参照する
関連特許
APB株式会社
蓄電セル
28日前
東ソー株式会社
絶縁電線
1か月前
マクセル株式会社
電源装置
22日前
ローム株式会社
半導体装置
29日前
株式会社東芝
端子台
22日前
株式会社GSユアサ
蓄電装置
23日前
株式会社GSユアサ
蓄電装置
23日前
富士電機株式会社
電磁接触器
1日前
株式会社GSユアサ
蓄電装置
15日前
株式会社GSユアサ
蓄電装置
1日前
三菱電機株式会社
回路遮断器
9日前
株式会社ホロン
冷陰極電子源
1か月前
日本特殊陶業株式会社
保持装置
1か月前
日本特殊陶業株式会社
保持装置
14日前
日新イオン機器株式会社
基板処理装置
25日前
トヨタ自動車株式会社
冷却構造
1か月前
トヨタ自動車株式会社
蓄電装置
23日前
トヨタ自動車株式会社
バッテリ
28日前
北道電設株式会社
配電具カバー
28日前
株式会社トクヤマ
シリコンエッチング液
1か月前
ローム株式会社
半導体モジュール
2日前
トヨタ自動車株式会社
電池パック
1か月前
ローム株式会社
半導体装置
1か月前
日本無線株式会社
レーダアンテナ
16日前
甲神電機株式会社
変流器及び零相変流器
16日前
住友電装株式会社
コネクタ
1日前
ヒロセ電機株式会社
電気コネクタ
1日前
トヨタ自動車株式会社
密閉型電池
24日前
日亜化学工業株式会社
半導体レーザ素子
25日前
株式会社トクヤマ
シリコンエッチング液
1か月前
株式会社デンソー
電子装置
25日前
矢崎総業株式会社
コネクタ
1日前
株式会社レゾナック
冷却器
9日前
住友電装株式会社
コネクタ
1か月前
トヨタ自動車株式会社
電池パック
1か月前
日本航空電子工業株式会社
コネクタ
14日前
続きを見る
他の特許を見る