TOP
|
特許
|
意匠
|
商標
特許ウォッチ
Twitter
他の特許を見る
10個以上の画像は省略されています。
公開番号
2025171158
公報種別
公開特許公報(A)
公開日
2025-11-20
出願番号
2024076202
出願日
2024-05-09
発明の名称
遊技機
出願人
ネット株式会社
代理人
主分類
A63F
5/04 20060101AFI20251113BHJP(スポーツ;ゲーム;娯楽)
要約
【課題】遊技上の特典の与え方を工夫することで、遊技性を向上させた遊技機を提供することにある。
【解決手段】外周面に複数種類の図柄が配置された複数の回胴と、遊技毎に役の抽選を行って、役の当否を決定する役抽選手段と、遊技毎に複数の回胴を回転させ、各々の回胴に対応して設けられた停止スイッチの操作を受け付けたことを契機にして、対応する回胴を個々に停止させ、決定された役に応じて図柄を表示する図柄表示制御手段と、停止スイッチの有利な操作態様が報知されるアシストボーナスを決定するボーナス決定手段と、遊技を実行する遊技実行手段と、を具備し、前記遊技実行手段は、通常時に特定役を引くと所定ゲームの間は、遊技上の特典を貯める区間を開始し、該特典を貯めるごとに報酬の抽選が行われ、所定ゲーム消化後に、最終的な当選内容を決定するとともに、該特典を全て貯めるとチャンスゾーン以上が当選する。
【選択図】図154
特許請求の範囲
【請求項1】
外周面に複数種類の図柄が配置された複数の回胴と、
遊技毎に役の抽選を行って、役の当否を決定する役抽選手段と、
遊技毎に複数の回胴を回転させ、各々の回胴に対応して設けられた停止スイッチの操作を受け付けたことを契機にして、対応する回胴を個々に停止させ、決定された役に応じて図柄を表示する図柄表示制御手段と、
停止スイッチの有利な操作態様が報知されるアシストボーナスを決定するボーナス決定手段と、
遊技を実行する遊技実行手段と、
を具備し、
前記遊技実行手段は、通常及びボーナス中のチャンスゾーンは複数種類あり、何れの種別に当選しているか疑似遊技の図柄停止位置により告知すること、
を特徴とする遊技機。
発明の詳細な説明
【技術分野】
【0001】
本発明は、メダルやコインを遊技媒体に使用するパチスロや、遊技媒体としてパチンコ球を使用するパチロット及び実体としての遊技媒体を使用せずに電子データやトークンと称される代用硬貨(遊技価値、又は遊技用価値)によって遊技を行うスロットマシン(回胴式遊技機)などの遊技機等に関する。
続きを表示(約 2,900 文字)
【0002】
また、本発明はその遊技方法を実現する為の制御ステップ又は制御手順を半導体メモリーやメモリースティック、HD(ハード・ディスク)、ブルー・レイ・ディスクなどの情報記憶媒体に記録したプログラム(例えば、ゲームソフトウェア)そのものにも関係している。
【背景技術】
【0003】
近年、パチスロ機と称される回胴式遊技機を用いた遊技が、従来のパチンコホールやパチスロ専用ホールで盛んに行なわれている。また、パチンコ機(弾球式遊技機)で使用されるパチンコ球を遊技媒体として、上述した回胴式遊技を行うパチロット(又は、パロット)と呼ばれる回胴式遊技機も存在する。遊戯施設などのテレビゲーム機、及びインターネットを経由した一般家庭のパソコンやゲーム機においては、トークン(Token coin)と称される代用硬貨(即ち、「遊技媒体」、「クレジット」)を用いて、回胴式遊技を模擬したシミュレーションゲームが行われている。そして、回胴式遊技機も近い将来においては、メダルやコインを使用せずに、それらと等価な電子データやトークン、クレジットなどの遊技価値をICカードに記録して、遊技に使用することが計画され、実現予定である(所謂、メダルレス遊技機)。
【0004】
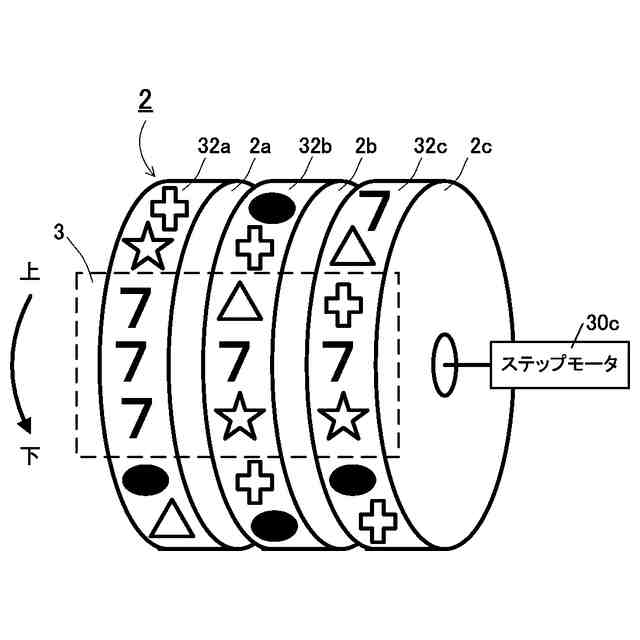
例えば、上述した回胴式遊技機の通常遊技では、遊技者が遊技メダル(遊技媒体、媒体数データ又はトークン、クレジット)を所定枚数投入した後、スタートレバーを操作すると、そのタイミングでボーナス、複数の小役、又はリプレイ役(再遊技)の内部抽選(又は「内部抽せん」とも記載する。)を実行して、複数の回胴(殆どの場合、3つ又は4つのリールドラム)を上から下へ回転させて、回胴上に表示された(描かれた)複数の図柄(通常、この複数の図柄はリールテープに描かれ、各ドラム上に貼り付けられている。)を変動させる変動表示ゲームを開始すると共に、遊技者が各ドラムに対応する停止ボタンを操作して、内部当選した小役のベル、スイカやチェリーなどの図柄が所定の組み合わせが、有効ライン上に停止し、及び表示されると入賞となり、1枚~15枚程度の遊技メダルを払い出す。それに対して、リプレイ図柄が有効ライン上に表示されてリプレイ(再遊技)が作動すると、遊技メダルを投入することなく(又は、前回遊技での投入枚数をそのまま投入して)、次回の通常遊技を行うことができる再遊技状態になる。ただし、リールの図柄が有効ラインに表示されるが、実際には有効ラインに停止した図柄がメモリー上に記憶されて入賞判断されるので、リール表示と実際の表示は異なっている。つまり、リールを停止後に動かしても入賞とはならない。
【0005】
特に、通常遊技の内部抽選の結果により、ボーナス役(一種又は二種特別役物連続作動装置)が内部当選し、リールドラムの停止操作により特定図柄(例えば、赤7図柄や青7図柄)が有効ライン上(有効ラインは、一直線や、変則ラインが存在する)に揃って停止及び表示された場合に、遊技者にとって最も有利な遊技モードであるビッグボーナスゲームモード(BBゲームモード:役物連続作動装置)に突入し、大量の遊技メダルが一気に獲得できる。また、レギュラーボーナス(一種特別役物)が当選し、特定図柄としてバー図柄が有効ライン上に揃った場合には、レギュラーボーナスゲーム(RBゲーム)が実行され、BBゲームには遠く及ばないものの、相応の遊技メダルを獲得できるようになっている。何れにせよ遊技者にとっては、これらのボーナスゲームを成立させることが回胴式遊技における最大の関心事である。なお、内部抽選を実行した結果、ボーナスゲームが当選した場合や放出する場合には、RAM又はRWMなどのデータ記憶領域にボーナスフラグを立てて記憶することにより、所定の特定図柄(7図柄やバー図柄)が揃うまで、当該フラグは以降の変動表示ゲームに持ち越されるようになっている。
【0006】
ところで、従来の回胴式遊技機(4号機)は射幸性が比較的高く、それを抑える為に、風俗営業等の規制及び業務の適正化等に関する法律(最終改正:平成一五年五月三〇日法律第五五号)が施行され、5号機と称される最新の回胴式遊技機に適用された。
【0007】
例えば、5号機又は6号機の回胴式遊技機は、規則により出玉率(短期、中期、長期)が非常に細かく規定され、ビッグボーナスゲーム(BBゲーム)においては、獲得された遊技メダル等の数量が、所定枚数(例えば、360枚又は480枚)を超えた時点で終了し、レギュラーボーナスゲームでは、BBゲームには及ばないものの、100数十枚程度を獲得した時点で終了するようになっている。つまり、規則改正により、一度のボーナスゲームでの払い出し枚数の上限や、1ゲーム当りのメダルの増加速度(純増枚数)が低く制限されることになった。
【0008】
また、従来の回胴式遊技機(4号機)の最大の特徴とも言うべき、連続してボーナスを放出(連チャン)させる為のボーナス・ストック機能も同規則で禁止された結果、従来のスロットマシン自身に付与されていた工夫や性能が失われ、当然ながら遊技性や射幸性が極端に低下することになり、優良顧客であった遊技者(スロッター)の客離れが進んでいる。
【0009】
しかし、この様な厳格な規制状況においても多少の規制緩和がなされており、それに伴って新たな工夫がなされた結果、第3のボーナスと称されるART機能(アシスト・リプレイ・タイム機能)又はAT機能(アシスト・タイム機能)を搭載するスロットマシンが開発された。このART機能等は、リプレイが当選しやすい高確率再遊技状態(つまり、ハズレ難い状態)において、抽選により内部当選した小役を入賞させる為の図柄停止操作手順(停止スイッチの操作順序や操作態様、狙わせるボーナス図柄等の色を報知する操作タイミング)を液晶表示や音声で告知し、ボタン操作を手助け(アシスト)する機能であり、現時点においてART機やAT機が5号機又は6号機のスロットマシンの主流となっている。
【0010】
そして、特に最近では、上述したメイン制御によるビッグボーナスやレギュラーボーナスで獲得枚数を増やすのではなく、サブ制御により所望のタイミング(レア小役によるAT抽選で当選したタイミング、消化ゲーム数が天井ゲーム数に到達により放出)でART(疑似ボーナス、第3のボーナス)を発動させて、押し順を報知することにより高確率で押し順小役を入賞させ、出玉の波を作るようになっている。更に進んで、入賞してもメダルの増減が無い2種ビッグボーナス(2種BB)を内部当選させることにより高確率再遊技状態を維持し、この状態で常にゲームを行い、ART機能だけで出玉をコントロールする機種も多数ヒットしており、多様なゲーム性を有する回胴式遊技機が続々と登場している。
(【0011】以降は省略されています)
この特許をJ-PlatPat(特許庁公式サイト)で参照する
関連特許
ネット株式会社
遊技機
1日前
ネット株式会社
遊技機
1日前
ネット株式会社
遊技機
4か月前
ネット株式会社
遊技機
1か月前
ネット株式会社
遊技機
1か月前
ネット株式会社
遊技機
1か月前
ネット株式会社
遊技機
1か月前
ネット株式会社
遊技機
1か月前
ネット株式会社
遊技機
4か月前
ネット株式会社
遊技機
1日前
ネット株式会社
遊技機
1日前
ネット株式会社
遊技機
1日前
ネット株式会社
遊技機
1日前
ネット株式会社
遊技機
1日前
ネット株式会社
遊技機
1日前
ネット株式会社
遊技機
1日前
ニチレイマグネット株式会社
サイン器具
28日前
サンネット株式会社
ベリファイシステム
2か月前
ティーワイネット株式会社
振動減衰装置
1か月前
ニチレイマグネット株式会社
磁着式電飾装置
2か月前
ニチレイマグネット株式会社
磁着式電飾装置
2か月前
個人
玩具
2か月前
個人
玩具
4か月前
個人
自走玩具
2か月前
個人
ゲーム玩具
6か月前
個人
小型卓球台
24日前
個人
運動補助具
4か月前
個人
打撃練習用具
1か月前
個人
パズル
25日前
株式会社三共
遊技機
4か月前
株式会社三共
遊技機
1か月前
株式会社三共
遊技機
1か月前
株式会社三共
遊技機
1か月前
株式会社三共
遊技機
1か月前
株式会社三共
遊技機
1か月前
株式会社三共
遊技機
1か月前
続きを見る
他の特許を見る