TOP
|
特許
|
意匠
|
商標
特許ウォッチ
Twitter
他の特許を見る
公開番号
2025137317
公報種別
公開特許公報(A)
公開日
2025-09-19
出願番号
2024062789
出願日
2024-04-09
発明の名称
セルスタック、セルスタックシステムの製造方法、ホットモジュール、及び、ガス製造装置
出願人
日本特殊陶業株式会社
代理人
弁理士法人プロスペック特許事務所
主分類
C25B
15/08 20060101AFI20250911BHJP(電気分解または電気泳動方法;そのための装置)
要約
【課題】 セルスタックの上流側と下流側との圧力損失の調整に係る労力を大幅に低減する。
【解決手段】 セルスタック1は、固体電解質層12と空気極14と燃料極16とを含む電気化学単セル10を複数含んでおり、燃料室にガスを供給する第1供給路と、燃料室からガスを排出する第1排出路と、空気室にガスを供給する第2供給路と、空気室からガスを排出する第2排出路と、を備える。セルスタック1には、生成されるガスの種類に応じて区別される複数の運転モードのそれぞれでセルスタック1を運転した場合における、第1供給路の端部から第1排出路の端部までの第1圧力損失量と、第2供給路の端部から第2排出路の端部までの第2圧力損失量と、の少なくとも一方を運転モード毎に含む圧損特性情報が、外部から視認可能な位置に掲載されている。
【選択図】 図1
特許請求の範囲
【請求項1】
固体電解質層と、前記固体電解質層の表面側に積層配置された空気極と、前記固体電解質層の裏面側に積層配置された燃料極と、を含む固体酸化物形の電気化学単セルを複数含むセルスタックであって、
前記セルスタック内の燃料極側の空間である燃料室にガスを供給する第1供給路と、
前記燃料室からガスを排出する第1排出路と、
前記セルスタック内の空気極側の空間である空気室にガスを供給する第2供給路と、
前記空気室からガスを排出する第2排出路と、
を備え、
生成されるガスの種類に応じて区別される複数の運転モードのそれぞれで前記セルスタックを運転した場合における前記第1供給路の端部から前記第1排出路の端部までの圧力損失量である第1圧力損失量と、前記第2供給路の端部から前記第2排出路の端部までの圧力損失量である第2圧力損失量と、の少なくとも一方を前記運転モード毎に含む圧損特性情報が、外部から視認可能な位置に掲載されている、
セルスタック。
続きを表示(約 1,600 文字)
【請求項2】
請求項1に記載のセルスタックであって、
前記第1圧力損失量は、前記第1供給路から供給される第1供給ガスの体積流量及び前記セルスタックの温度に依存する圧力損失量を含み、
前記第2圧力損失量は、前記第2供給路から供給される第2供給ガスの体積流量及び前記温度に依存する圧力損失量を含む、
セルスタック。
【請求項3】
請求項1又は請求項2に記載のセルスタックであって、
前記複数の電気化学単セルのそれぞれが電解単セルとして使用される運転モードの場合、
前記第1圧力損失量は、印加電流と、前記第1供給路から供給される第1供給ガスに含まれる電気分解の対象となる電解対象ガスの前記第1供給ガスに対する体積流量比率と、前記電解対象ガスの実効利用率と、前記第1供給ガスのリーク量と、の少なくとも1つに依存する圧力損失量を含み、
前記第2圧力損失量は、前記印加電流と、前記第2供給路から供給される第2供給ガスのリーク量と、の少なくとも一方に依存する圧力損失量を含み、
前記複数の電気化学単セルのそれぞれが燃料電池単セルとして使用される運転モードの場合、
前記第1圧力損失量は、所定時間における発電量と、前記第1供給ガスに含まれる化合の対象となる第1化合対象ガスの実効利用率と、前記第1供給ガスのリーク量と、の少なくとも1つに依存する圧力損失量を含み、
前記第2圧力損失量は、前記発電量と、前記第2供給ガスに含まれる化合の対象となる第2化合対象ガスの実効利用率と、前記第2供給ガスのリーク量と、の少なくとも1つに依存する圧力損失量を含む、
セルスタック。
【請求項4】
請求項1に記載のセルスタックであって、
前記運転モードは、
前記複数の電気化学単セルのそれぞれが水素を生成する電解単セルとして使用される第1モードと、
前記複数の電気化学単セルのそれぞれが一酸化炭素を生成する電解単セルとして使用される第2モードと、
前記複数の電気化学単セルのそれぞれが水素及び一酸化炭素を含む合成ガスを生成する電解単セルとして使用される第3モードと、
前記複数の電気化学単セルのそれぞれが水蒸気を生成する燃料電池単セルとして使用される第4モードと、
の少なくとも1つのモードを含む、
セルスタック。
【請求項5】
請求項1、請求項2又は請求項4に記載のセルスタックであって、
前記圧損特性情報は、外部機器を用いて読み出し可能な形態で掲載されている、
セルスタック。
【請求項6】
請求項5に記載のセルスタックであって、
前記形態は、二次元バーコードである、
セルスタック。
【請求項7】
請求項1に記載の複数のセルスタックを備えるセルスタックシステムの製造方法であって、
前記複数のセルスタックを準備することと、
前記複数のセルスタックのそれぞれに掲載されている前記圧損特性情報を取得することと、
前記取得された圧損特性情報に基づいて、前記複数のセルスタックの相対位置関係を決定することと、
を含む、
セルスタックシステムの製造方法。
【請求項8】
請求項1に記載の1又は複数のセルスタックと、
前記セルスタックに供給されるガスと熱交換を行う熱交換器と、
前記セルスタックを加熱するためのヒータと、
前記セルスタック、前記熱交換器及び前記ヒータがその内部に配置される断熱材と、
を備える、
ホットモジュール。
【請求項9】
前記複数の電気化学単セルのそれぞれが電解単セルとして使用される運転モードで用いられる請求項8に記載のホットモジュールを備える、
ガス製造装置。
発明の詳細な説明
【技術分野】
【0001】
本発明は、固体酸化物形の電気化学単セルを複数含むセルスタック、セルスタックシステムの製造方法、ホットモジュール、及び、ガス製造装置に関する。
続きを表示(約 3,000 文字)
【背景技術】
【0002】
従来から、1又は複数のセルスタックを備えるセルスタックシステムが知られている。セルスタックを構成する固体酸化物形の複数の電気化学単セルは、高温環境下において高効率で電気化学反応を行うことを特徴としており、固体酸化物形電解セル(SOEC:Solid Oxide Electrolysis Cell)と、固体酸化物形燃料電池(SOFC:Solid Oxide Fuel Cell)と、に大別される(以下、複数の電気化学単セルを「電気化学セル」とも称する。)。SOECは、電気エネルギーによりガスを分解する機能を有しており、SOFCは、複数の異なるガス同士が化合することにより電気エネルギーを発生させる機能を有している。電気化学セルがSOECとして使用される場合、セルスタックシステムは電気分解装置として機能し、電気化学セルがSOFCとして使用される場合、セルスタックシステムは発電装置として機能する。
【0003】
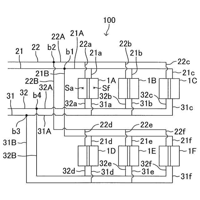
複数のセルスタックを備えるセルスタックシステムでは、各セルスタックが、ガスの供給配管及び排出配管に対してそれぞれ並列に接続されている。具体的には、各セルスタックと供給配管とは上流側の分岐配管により接続されており、各セルスタックと排出配管とは下流側の分岐配管により接続されている。これにより、供給配管に導入されたガス(供給ガス)は、上流側の複数の分岐配管を経由して、対応するセルスタックに分配供給される。これらのセルスタックから排出されたガス(排出ガス)は、下流側の対応する分岐配管を経由して排出配管にて合流し、その後、回収される。このようなセルスタックシステムを効率的に運転するためには、各セルスタックに分配供給される供給ガスの配分を適切に制御することが望ましい。これは、セルスタックシステムが電気分解装置又は発電装置の何れの用途で用いられる場合においても共通である。
【0004】
供給ガスの配分を制御する1つの方法として、上流側の各分岐配管に流量調整器を設けることが考えられる。しかしながら、この方法ではセルスタックシステムの管理が煩雑となり、実用的ではない。また、耐熱性を有する流量調整器は高価であるため、システムの製造コストが嵩むという問題もある。
【0005】
このため、流量調整器を用いずに供給ガスの配分を制御する別の方法として、下流側の分岐配管に必要に応じて圧損調整用部品(典型的には、オリフィス)を設け、セルスタックの上流側と下流側との圧力差(圧力損失)を調整することが考えられる。ここで、セルスタックは内部構造に起因した圧力損失を有しており、圧力損失量はセルスタック毎にばらついている。加えて、セルスタックの圧力損失量は、セルスタックシステムの運転条件(例えば、供給ガスの体積流量及びセルスタックの温度)によっても変化する。従って、この方法で供給ガスの配分を制御するには、圧損調整用部品を取り付ける前にセルスタックシステムを実際の運転条件で運転して各セルスタックの圧力損失量を測定しなければならない。そして、当該圧力損失量を考慮した上でセルスタック毎に圧損調整用部品の選択又は調整を行う必要がある。
【0006】
非特許文献1には、セルスタックシステムを構成する各セルスタックの圧力損失量のばらつきが大きい場合には、オリフィスを導入してガスの流量を均一化する旨が記載されている。しかしながら、上記の記載から明らかなように、この方法ではセルスタックの個数が増加するにつれて圧力損失量の測定作業に多大な時間及び手間を要するため、圧力損失の調整に係る労力が甚大なものになる。この問題は、セルスタックシステムをリバーシブルに運転する場合により顕著になる。即ち、リバーシブル運転の場合は各運転モードの運転条件で運転したときの圧力損失量を測定しなければならないため、測定作業に実質2倍の時間及び手間を要することになり、圧力損失の調整に係る労力が更に甚大なものになる。なお、リバーシブル運転とは、電気化学セルをSOECとして使用する運転モードと、SOFCとして使用する運転モードと、が切り替え可能に構成された運転である。以上のことから、圧力損失の調整に係る労力を低減できる技術の開発が望まれている。
【先行技術文献】
【非特許文献】
【0007】
高木義信、他7名、“固体酸化物形燃料電池による産業用発電装置の開発”、Hitz技報、2015年9月、vol.76、No.1、p.11-15
【発明の概要】
【0008】
本発明は、上述した問題に対処するためになされたものである。即ち、本発明の目的の一つは、セルスタックの上流側と下流側との圧力損失の調整に係る労力を大幅に低減することが可能な技術を提供することにある。
【0009】
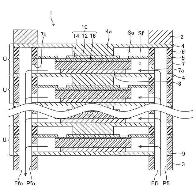
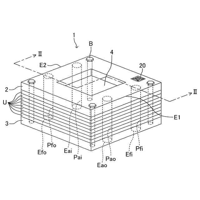
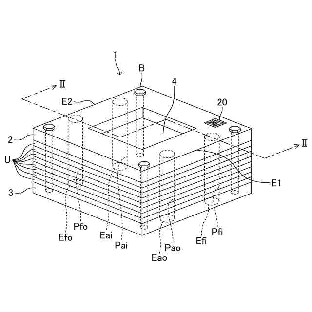
本発明に係るセルスタック(1)は、
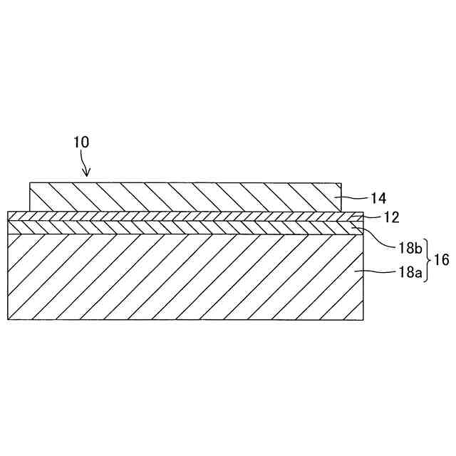
固体電解質層(12)と、前記固体電解質層の表面側に積層配置された空気極(14)と、前記固体電解質層の裏面側に積層配置された燃料極(16)と、を含む固体酸化物形の電気化学単セル(10)を複数含む。
このセルスタックは、
前記セルスタック内の燃料極側の空間である燃料室(Sf)にガスを供給する第1供給路(Pfi)と、
前記燃料室からガスを排出する第1排出路(Pfo)と、
前記セルスタック内の空気極側の空間である空気室(Sa)にガスを供給する第2供給路(Pai)と、
前記空気室からガスを排出する第2排出路(Pao)と、
を備え、
生成されるガスの種類に応じて区別される複数の運転モードのそれぞれで前記セルスタック(1)を運転した場合における前記第1供給路(Pfi)の端部(Efi)から前記第1排出路(Pfo)の端部(Efo)までの圧力損失量である第1圧力損失量と、前記第2供給路(Pai)の端部(Eai)から前記第2排出路(Pao)の端部(Eao)までの圧力損失量である第2圧力損失量と、の少なくとも一方を前記運転モード毎に含む圧損特性情報が、外部から視認可能な位置に掲載されている。
【0010】
このセルスタックには、圧損特性情報が外部から視認可能な位置に掲載されている。圧損特性情報は、第1圧力損失量(燃料室に接続されている第1供給路の端部から第1排出路の端部までの圧力損失量)と、第2圧力損失量(空気室に接続されている第2供給路の端部から第2排出路の端部までの圧力損失量)と、の少なくとも一方を、運転モード毎に含む情報である。このため、セルスタックの納入先における作業者は、セルスタックに掲載された圧損特性情報を参照するだけで当該セルスタックの圧力損失量を容易に取得することが可能となる。別言すれば、圧力損失量の測定作業が不要になるとともに、測定を目的としたセルスタックシステムの運転自体を行う必要がなくなる。従って、圧力損失量の取得に係る時間及び手間を大幅に低減することができ、結果として、セルスタックの上流側と下流側との圧力損失の調整に係る労力を大幅に低減することが可能となる。
(【0011】以降は省略されています)
この特許をJ-PlatPat(特許庁公式サイト)で参照する
関連特許
有限会社 ナプラ
端子
1か月前
株式会社カネカ
電解装置
1か月前
株式会社ノーリツ
電解水生成装置
29日前
SMD株式会社
めっき処理装置
1か月前
本田技研工業株式会社
電解装置
14日前
大同特殊鋼株式会社
触媒合金
1か月前
株式会社カネカ
可撓性ガス拡散電極
3日前
株式会社東芝
アルマイト処理方法
23日前
本田技研工業株式会社
水電解システム
27日前
本田技研工業株式会社
水電解システム
1か月前
本田技研工業株式会社
水電解システム
1か月前
トヨタ自動車株式会社
水電解スタック
1か月前
本田技研工業株式会社
電気化学スタック
22日前
株式会社村田製作所
電子部品及びその製造方法
1か月前
株式会社SOKEN
電解セル
1か月前
本田技研工業株式会社
電解セルの製造方法
7日前
株式会社豊田中央研究所
電極
3日前
ナミックス株式会社
銅部材
15日前
NOK株式会社
セルユニット
3日前
NOK株式会社
セルユニット
3日前
睦技研株式会社
バレルめっき装置
1か月前
株式会社神戸製鋼所
導電材料およびその製造方法
23日前
NOK株式会社
セルユニット
3日前
NOK株式会社
セルユニット
3日前
東京瓦斯株式会社
水電解システム
1か月前
東京瓦斯株式会社
水電解システム
10日前
株式会社豊田中央研究所
アルミニウム電析方法
1か月前
東京瓦斯株式会社
水電解システム
1か月前
東京瓦斯株式会社
水電解システム
1か月前
株式会社SCREENホールディングス
前処理方法およびセル
1か月前
株式会社アイシン
水電解装置
1か月前
三菱マテリアル株式会社
酸性電解銅めっき液
13日前
株式会社東芝
電解装置及び電解方法
7日前
株式会社アイシン
電解システム
1か月前
トヨタ自動車株式会社
水電解セル、水電解スタック
1か月前
国立研究開発法人理化学研究所
電気化学セル
1か月前
続きを見る
他の特許を見る