TOP
|
特許
|
意匠
|
商標
特許ウォッチ
Twitter
他の特許を見る
10個以上の画像は省略されています。
公開番号
2025127062
公報種別
公開特許公報(A)
公開日
2025-09-01
出願番号
2024023554
出願日
2024-02-20
発明の名称
遊技機
出願人
株式会社ニューギン
代理人
個人
,
個人
,
個人
主分類
A63F
7/02 20060101AFI20250825BHJP(スポーツ;ゲーム;娯楽)
要約
【課題】興趣の向上を図ることができる遊技機を提供すること。
【解決手段】大当り予告演出に比して有利に展開されることへの期待度が高いプレミアム演出では、キャラクタが有する口が動作せず、キャラクタにおける特定動作を伴わない。しかし、プレミアム演出に比して有利に展開されることへの期待度が低い大当り予告演出では、キャラクタが有する口が動作し、キャラクタにおける特定動作を伴う。
【選択図】図12
特許請求の範囲
【請求項1】
演出を実行可能な演出実行手段と、
前記演出実行手段を制御可能な演出制御手段と、を備え、
前記演出には、第1演出と、第2演出と、があり、
前記第1演出及び前記第2演出は、有利に展開されることを示唆可能な演出であり、
前記第2演出は、前記第1演出に比して有利に展開されることへの期待度が高く、
前記第2演出では、キャラクタにおける特定動作を伴わず、
前記第1演出では、キャラクタにおける特定動作を伴う場合があることを特徴とする遊技機。
発明の詳細な説明
【技術分野】
【0001】
この発明は、遊技機に関する。
続きを表示(約 2,500 文字)
【背景技術】
【0002】
従来、遊技機の中には、今後の展開を期待させる演出を実行可能な遊技機がある。例えば、特許文献1に記載された遊技機では、遊技者が操作可能な操作手段を操作することにより、クレーンがアイテムを持ち上げるなどの各種の演出が行われる。そして、特許文献1に記載された遊技機は、クレーンによってどのようなアイテムが持ち上げられるかに注目させ、興趣の向上を図っている。
【先行技術文献】
【特許文献】
【0003】
特開2006-271630号公報
【発明の概要】
【発明が解決しようとする課題】
【0004】
しかし、従来の遊技機においては、興趣を向上させる余地があった。
【課題を解決するための手段】
【0005】
上記課題を解決する遊技機は、演出を実行可能な演出実行手段と、前記演出実行手段を制御可能な演出制御手段と、を備え、前記演出には、第1演出と、第2演出と、があり、前記第1演出及び前記第2演出は、有利に展開されることを示唆可能な演出であり、前記第2演出は、前記第1演出に比して有利に展開されることへの期待度が高く、前記第2演出では、キャラクタにおける特定動作を伴わず、前記第1演出では、キャラクタにおける特定動作を伴う場合があることを要旨とする。
【発明の効果】
【0006】
本発明によれば、興趣の向上を図ることができる。
【図面の簡単な説明】
【0007】
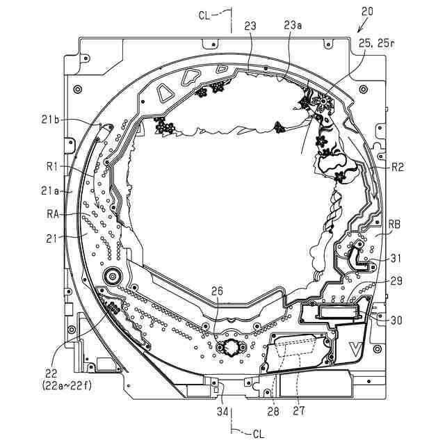
図1は、パチンコ遊技機の斜視図である。
図2は、遊技盤の正面図である。
図3は、演出モードを示す図である。
図4は、パチンコ遊技機の電気的構成を示すブロック図である。
図5(a)及び図5(b)は、大当り予告演出が実行されたときの演出表示装置の表示内容とスピーカから出力される音の一例を示す図である。
図6は、プレミアム演出が実行されたときの演出表示装置の表示内容とスピーカから出力される音の一例を示す図である。
図7(a)は右打ち報知演出が実行されたときの演出表示装置の表示内容とスピーカから出力される音の一例を示す図であり、図7(b)は左打ち報知演出が実行されたときの演出表示装置の表示内容とスピーカから出力される音の一例を示す図である。
図8(a)~図8(c)は、チャレンジ演出が実行されたときの演出表示装置の表示内容とスピーカから出力される音の一例を示す図である。
図9(a)~図9(e)は、終結演出が実行されたときの演出表示装置の表示内容とスピーカから出力される音の一例を示す図である。
図10(a)は第1突入演出が実行されたときの演出表示装置の表示内容とスピーカから出力される音の一例を示す図であり、図10(b)は第2突入演出が実行されたときの演出表示装置の表示内容とスピーカから出力される音の一例を示す図である。
図11(a)~図11(d)は、カスタマイズ画像を示す図である。
図12(a)~図12(c)は、演出表示装置の表示内容とスピーカから出力される音の一例を示す図である。
図13(a)~図13(f)は、演出表示装置の表示内容とスピーカから出力される音の一例を示す図である。
【発明を実施するための形態】
【0008】
以下、遊技機の実施形態について説明する。本明細書における上、下、左、右、前(表)、及び後(裏)は、遊技者から見たときの各方向を示すものとする。
図1に示すように、遊技機としてのパチンコ遊技機10(以下、遊技機10と示す)は、外枠12、中枠13及び前枠14を備えている。外枠12は、遊技場などの遊技機設置設備(所謂、島設備)に固定される。中枠13は、外枠12の開口前面側に開閉可能に支持されている。中枠13には、遊技盤20を含む遊技盤ユニットが固定される。前枠14は、遊技盤20の前面を覆うように、中枠13の前面側に開閉可能に支持されている。前枠14には、遊技盤20を保護する保護ガラス15が支持されている。なお、図1において、保護ガラス15は、一部を残して図示が省略されているが、実際には前枠14の開口部14aの全体を覆っている。遊技機10は、前枠14の前面側に、発射ハンドル16を備えている。発射ハンドル16は、遊技者が触れることが可能な位置に設けられている。遊技機10では、発射ハンドル16の操作量(回動量)に応じた強度にて、遊技媒体としての遊技球が発射される。即ち、遊技機10は、発射ハンドル16を操作することにより、遊技球の発射強度を調整可能に構成されている。
【0009】
遊技機10は、前枠14の前面側に、発光可能な装飾ランプ17を備えている。装飾ランプ17は、内蔵された発光体を点灯及び消灯させる演出(以下、発光演出と示す)を実行する。遊技機10は、前枠14の前面側に、音を出力可能なスピーカ18を備えている。スピーカ18は、音声、効果音、楽曲などの音を出力する演出(以下、音演出と示す)を実行する。遊技機10は、前枠14の前面側に、操作可能な演出ボタンEBを備えている。遊技機10は、前枠14の前面側に、上ボタンB1、右ボタンB2、下ボタンB3及び左ボタンB4を備えている。演出ボタンEB及びボタンB1~B4は、それぞれ遊技者が操作することができる。操作可能な操作手段には、演出ボタンEBが含まれる。
【0010】
図2に示すように、遊技盤20の前面側には、正面視において略円形の遊技領域21が画成されている。遊技盤20は、発射された遊技球を遊技領域21へ案内する案内路21aを備えている。遊技盤20は、遊技領域21へ打ち出された遊技球が案内路21aへ逆戻りすることを防止する防止弁21bを備えている。発射された遊技球は、案内路21aで案内され、案内路21aの最下流に位置する防止弁21bを通過して遊技領域21に到達する。遊技領域21に到達した遊技球は、遊技領域21を流下する。
(【0011】以降は省略されています)
この特許をJ-PlatPat(特許庁公式サイト)で参照する
関連特許
株式会社ニューギン
遊技機
8日前
株式会社ニューギン
島設備
6日前
株式会社ニューギン
遊技機
14日前
株式会社ニューギン
遊技機
14日前
株式会社ニューギン
遊技機
14日前
株式会社ニューギン
遊技機
14日前
株式会社ニューギン
遊技機
15日前
株式会社ニューギン
遊技機
15日前
株式会社ニューギン
遊技機
15日前
株式会社ニューギン
遊技機
15日前
株式会社ニューギン
遊技機
15日前
株式会社ニューギン
遊技機
6日前
株式会社ニューギン
遊技機
6日前
株式会社ニューギン
遊技機
6日前
株式会社ニューギン
遊技機
6日前
株式会社ニューギン
遊技機
6日前
個人
玩具
4か月前
個人
玩具
1か月前
個人
自走玩具
1か月前
個人
ゲーム玩具
5か月前
個人
運動補助具
3か月前
個人
打撃練習用具
14日前
株式会社三共
遊技機
7か月前
株式会社三共
遊技機
7か月前
株式会社三共
遊技機
7か月前
株式会社三共
遊技機
7か月前
株式会社三共
遊技機
7か月前
株式会社三共
遊技機
7か月前
株式会社三共
遊技機
7か月前
株式会社三共
遊技機
3か月前
株式会社三共
遊技機
7か月前
株式会社三共
遊技機
7か月前
株式会社三共
遊技機
7か月前
株式会社三共
遊技機
7か月前
株式会社三共
遊技機
7か月前
株式会社三共
遊技機
7か月前
続きを見る
他の特許を見る