TOP
|
特許
|
意匠
|
商標
特許ウォッチ
Twitter
他の特許を見る
公開番号
2025035913
公報種別
公開特許公報(A)
公開日
2025-03-14
出願番号
2023143255
出願日
2023-09-04
発明の名称
電力変換装置
出願人
株式会社デンソー
代理人
個人
,
個人
,
個人
主分類
H02M
7/48 20070101AFI20250307BHJP(電力の発電,変換,配電)
要約
【課題】コンデンサとスイッチモジュールにおける配置の自由度向上と体格の増大の抑制を両立可能な電力変換装置を提供する。
【解決手段】電力変換装置は、スイッチモジュール8、コンデンサ4と、第1バスバー11,21、第2バスバー12,22、抵抗基板50、および、締結部材81、62を備える。コンデンサはスイッチモジュールに電気的に接続されている。第1バスバーはコンデンサに接続されている。第2バスバーはスイッチモジュールに接続されている。抵抗基板は第1バスバーに電気的に接続され、コンデンサに蓄積された残留電荷を放電する。締結部材は導電性を有し、第1バスバー、第2バスバー、および、放電抵抗を締結している。抵抗基板がコンデンサとスイッチモジュールの間に設けられている。
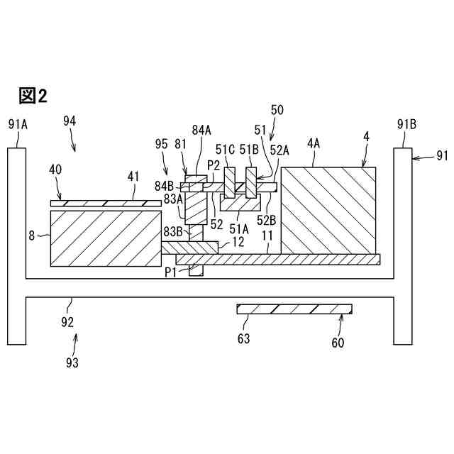
【選択図】図2
特許請求の範囲
【請求項1】
スイッチ(7)を備えるスイッチモジュール(8)と、
前記スイッチモジュールに電気的に接続されるコンデンサ(4)と、
前記コンデンサに接続されている第1バスバー(11,21)と、
前記スイッチモジュールに接続されている第2バスバー(12,22)と、
前記第1バスバーに電気的に接続され、前記コンデンサに蓄積された残留電荷を放電する抵抗基板(50)と、
前記第1バスバー、前記第2バスバー、および、前記抵抗基板を締結する導電性の締結部材(81、82)と、を備え、
前記抵抗基板が前記コンデンサと前記スイッチモジュールの間に設けられている電力変換装置。
続きを表示(約 780 文字)
【請求項2】
前記抵抗基板は、抵抗(51)と、前記抵抗が搭載されるとともに前記締結部材が締結される基材(52)と、を有し、
前記基材の板厚方向(TD)に関して前記締結部材が延びており、
前記第1バスバーおよび前記第2バスバーと前記締結部材との第1締結点(P1)と前記基材と前記締結部材との第2締結点(P2)と、が前記板厚方向に離間しており、
前記板厚方向に関して前記第1締結点と前記第2締結点との間に前記抵抗が設けられている請求項1に記載の電力変換装置。
【請求項3】
前記スイッチモジュールを駆動させる駆動基板(40)をさらに備え、
前記駆動基板と前記抵抗基板とが別体である請求項2に記載の電力変換装置。
【請求項4】
前記抵抗を複数有し、
前記スイッチモジュールと前記コンデンサとが並ぶ並び方向(WD)と前記板厚方向の両方に直交する直交方向(DP)に関して複数の前記抵抗が整列し、
複数の前記抵抗が並列接続されている請求項3に記載の電力変換装置。
【請求項5】
前記基材が前記コンデンサまたは前記スイッチモジュールと前記並び方向で重なっている、もしくは、前記コンデンサおよび前記スイッチモジュールと前記並び方向で重なっている請求項4に記載の電力変換装置。
【請求項6】
車両に搭載される電力変換装置であって、
前記スイッチである第1スイッチとは異なる、前記抵抗に接続される第2スイッチ(61)、および、前記車両に衝撃が与えられた場合に前記抵抗に前記コンデンサの前記残留電荷が放電されるように前記第2スイッチを制御する制御回路(62)を有する制御基板(60)をさらに備える請求項2~5のいずれか1項に記載の電力変換装置。
発明の詳細な説明
【技術分野】
【0001】
本明細書に記載の開示は、電力変換装置に関するものである。
続きを表示(約 1,600 文字)
【背景技術】
【0002】
特許文献1には、パワーモジュール、コンデンサ、放電抵抗基板、および、これらを電気的に接続するバスバを備える電力変換ユニットが記載されている。パワーモジュールとコンデンサがx方向に並んでいる構成が記載されている。コンデンサと放電抵抗基板がz方向に並んでいる構成が記載されている。バスバがパワーモジュールとコンデンサと放電抵抗基板に接続されるように屈曲しながら一体的に延びている。
【先行技術文献】
【特許文献】
【0003】
特許第7124693号公報
【発明の概要】
【発明が解決しようとする課題】
【0004】
特許文献1の構成においては、バスバがパワーモジュールとコンデンサと放電抵抗基板に接続されるように屈曲しながら一体的に延びているために、バスバの形状を複雑化させることなくパワーモジュールとコンデンサの配置の自由度を向上させることが難しかった。またコンデンサと放電抵抗基板がz方向に並んでいるために電力変換装置のz方向の体格が増大している。コンデンサとパワーモジュールにおける配置の自由度向上と体格増大の抑制の両立が難しかった。
【0005】
本開示の目的は、コンデンサとスイッチモジュールにおける配置の自由度向上と体格の増大の抑制を両立可能な電力変換装置を提供することである。
【課題を解決するための手段】
【0006】
本開示の一態様による電力変換装置は、
スイッチ(7)を備えるスイッチモジュール(8)と、
スイッチモジュールに電気的に接続されるコンデンサ(4)と、
コンデンサに接続されている第1バスバー(11,21)と、
スイッチモジュールに接続されている第2バスバー(12,22)と、
第1バスバーに電気的に接続され、コンデンサに蓄積された残留電荷を放電する抵抗基板(50)と、
第1バスバー、第2バスバー、および、抵抗基板を締結する導電性の締結部材(81、82)と、を備え、
抵抗基板がコンデンサとスイッチモジュールの間に設けられている。
【0007】
コンデンサ(4)とスイッチモジュール(8)が第1バスバー(11,21)と第2バスバー(12,22)を介して接続されるために、第1バスバーおよび第2バスバーの形状が複雑化することなくコンデンサとスイッチモジュールの配置の自由度を向上させることができる。また抵抗基板(50)がコンデンサとスイッチモジュールの間に設けられているために、コンデンサとスイッチモジュールが並ぶ方向に電力変換装置の体格の増大を抑制することができる。コンデンサとスイッチモジュールにおける配置の自由度向上と体格の増大の抑制を両立できる。
【0008】
なお、上記の括弧内の参照番号は、後述の実施形態に記載の構成との対応関係を示すものに過ぎず、技術的範囲を何ら制限するものではない。
【図面の簡単な説明】
【0009】
電力変換装置の電気回路図である。
電力変換装置の断面図である。
板厚方向から見た抵抗基板の平面図である。
図3に示すIV-IV線に示す断面図である。
【発明を実施するための形態】
【0010】
以下、図面を参照しながら本開示を実施するための複数の形態を説明する。各形態において先行する形態で説明した事項に対応する部分には同一の参照符号を付して重複する説明を省略する場合がある。各形態において構成の一部のみを説明している場合は、構成の他の部分については先行して説明した他の形態を適用することができる。
(【0011】以降は省略されています)
この特許をJ-PlatPat(特許庁公式サイト)で参照する
関連特許
株式会社デンソーウェーブ
筐体
11日前
株式会社デンソー
回転機
11日前
株式会社デンソー
電子装置
今日
株式会社デンソー
検出装置
10日前
株式会社デンソー
反力装置
18日前
株式会社デンソー
レーダ装置
17日前
株式会社デンソー
電流センサ
11日前
株式会社デンソー
熱交換装置
4日前
株式会社デンソー
半導体装置
6日前
株式会社デンソー
電力変換装置
4日前
株式会社デンソー
電力変換装置
12日前
株式会社デンソー
画像処理装置
11日前
株式会社デンソー
運航管理装置
17日前
株式会社デンソー
電圧検出回路
4日前
株式会社デンソー
はんだ付け装置
12日前
株式会社デンソー
非接触受電装置
6日前
株式会社デンソー
スパークプラグ
6日前
株式会社デンソー
部品の当接構造
5日前
株式会社デンソー
巻線界磁ロータ
3日前
株式会社デンソー
巻線界磁ロータ
3日前
株式会社デンソー
巻線界磁ロータ
12日前
株式会社デンソー
ブラシレスモータ
10日前
株式会社デンソー
スイッチング素子
10日前
株式会社デンソーウェーブ
レーザレーダ装置
10日前
株式会社デンソーウェーブ
レーザレーダ装置
10日前
株式会社デンソー
アンテナデバイス
3日前
株式会社デンソーウェーブ
通行管理システム
18日前
株式会社デンソー
セル制御システム
17日前
株式会社デンソー
フェード検知装置
18日前
株式会社デンソー
突入電流防止回路
3日前
株式会社デンソー
ステータ及びモータ
13日前
株式会社デンソー
中継装置、プログラム
18日前
株式会社デンソー
半導体装置の製造方法
5日前
株式会社デンソー
スイッチング制御装置
13日前
株式会社デンソー
熱交換器および減圧器
3日前
株式会社デンソー
半導体装置の製造方法
5日前
続きを見る
他の特許を見る