TOP
|
特許
|
意匠
|
商標
特許ウォッチ
Twitter
他の特許を見る
公開番号
2025158641
公報種別
公開特許公報(A)
公開日
2025-10-17
出願番号
2024061386
出願日
2024-04-05
発明の名称
情報処理システム、プログラム、情報処理方法
出願人
株式会社アカツキ
代理人
One ip弁理士法人
主分類
A63F
13/79 20140101AFI20251009BHJP(スポーツ;ゲーム;娯楽)
要約
【課題】ゲームで用いられるAIの利用量を可視化して管理することができる情報処理システム、プログラム、及び、情報処理方法を提供することである。
【解決手段】人工知能を利用するゲームを提供する情報処理システムであって、ユーザが保有するゲーム媒体及び該ゲーム媒体の数量を示す保有数情報を記憶するユーザ情報記憶部と、人工知能への入力のデータ量、及び/又は、人工知能からの出力のデータ量と、所定ゲーム媒体の数量と、を換算するための換算レートを記憶する換算レート記憶部と、換算レートに基づく、所定ゲーム媒体と、入力及び/又は出力のデータ量との間の換算に基づいて、ユーザによる人工知能の利用量を管理するAI利用量管理部と、を備える情報処理システム。
【選択図】図4
特許請求の範囲
【請求項1】
人工知能を利用するゲームを提供する情報処理システムであって、
ユーザが保有するゲーム媒体及び該ゲーム媒体の数量を示す保有数情報を記憶するユーザ情報記憶部と、
前記人工知能への入力のデータ量、及び/又は、前記人工知能からの出力のデータ量と、所定ゲーム媒体の数量と、を換算するための換算レートを記憶する換算レート記憶部と、
前記換算レートに基づく、前記所定ゲーム媒体と、前記人工知能に関わる入力及び/又は出力のデータ量との間の換算に基づいて、前記ユーザによる前記人工知能の利用量を管理するAI利用量管理部と、を備える情報処理システム。
続きを表示(約 1,500 文字)
【請求項2】
前記ゲームで利用される人工知能は、出力の属性が異なる複数の生成AIモデルを含み、
前記換算レートは、前記生成AIモデルごとにそれぞれ設定され、前記換算レート記憶部に記憶されている請求項1に記載の情報処理システム。
【請求項3】
前記所定ゲーム媒体は、前記人工知能の利用により消費される消費媒体であり、
前記生成AIモデルごとに対応する消費媒体が設定されて、前記生成AIモデルごとに対応する前記消費媒体との前記換算レートが前記換算レート記憶部に記憶されている請求項2に記載の情報処理システム。
【請求項4】
前記所定ゲーム媒体は、前記人工知能の利用により消費される消費媒体である請求項1または2に記載の情報処理システム。
【請求項5】
前記消費媒体には、有償媒体、及び、無償媒体が含まれ、
前記換算レート記憶部は、前記有償媒体に対応する換算レートと、前記無償媒体に対応する換算レートとを記憶している請求項4に記載の情報処理システム。
【請求項6】
前記AI利用量管理部は、前記ユーザが保有する前記所定ゲーム媒体の数量を上限として、前記ユーザによる前記人工知能の利用を制限する制限情報を生成する請求項1又は2に記載の情報処理システム。
【請求項7】
前記AI利用管理部は、前記人工知能の1回あたり、又は、単位期間あたりの利用で使用可能な前記所定ゲーム媒体の上限数の設定を受け付け、前記換算レートに基づいて算出される当該上限数に応じたデータ量を、前記人工知能の1回あたり、又は、単位期間あたりの利用における入力及び/又は出力の上限値として設定する、請求項1又は2に記載の情報処理システム。
【請求項8】
前記AI利用管理部は、前記ユーザが前記人工知能を利用した際の入力に関するデータ量、及び/又は、出力に関するデータ量に応じた前記所定ゲーム媒体の消費量を算出し、算出した消費量を前記ユーザが保有する前記所定ゲーム媒体の数量から差し引いて、前記ユーザの保有数情報を更新する請求項1又は2に記載の情報処理システム。
【請求項9】
人工知能を利用するゲームの提供に関わる情報処理をコンピュータに実行させるためのプログラムであって、
ユーザが保有するゲーム媒体及び該ゲーム媒体の数量を示す保有数情報を記憶することと、
前記人工知能への入力のデータ量、及び/又は、前記人工知能からの出力のデータ量と、所定ゲーム媒体の数量と、を換算するための換算レートを記憶することと、
前記換算レートに基づく、前記所定ゲーム媒体と、前記人工知能に関わる入力及び/又は出力のデータ量との間の換算に基づいて、前記ユーザによる前記人工知能の利用量を管理することと、を前記コンピュータに実行させるためのプログラム。
【請求項10】
コンピュータが、人工知能を利用するゲームの提供に関わる情報処理を実行する情報処理方法であって、
ユーザが保有するゲーム媒体及び該ゲーム媒体の数量を示す保有数情報を記憶することと、
前記人工知能への入力のデータ量、及び/又は、前記人工知能からの出力のデータ量と、所定ゲーム媒体の数量と、を換算するための換算レートを記憶することと、
前記換算レートに基づく、前記所定ゲーム媒体と、前記人工知能に関わる入力及び/又は出力のデータ量との間の換算に基づいて、前記ユーザによる前記人工知能の利用量を管理することと、を前記コンピュータが実行する情報処理方法。
発明の詳細な説明
【技術分野】
【0001】
本開示は、情報処理システム、プログラム、情報処理方法に関する。
続きを表示(約 1,500 文字)
【背景技術】
【0002】
近年、人工知能(Artificial Intelligence)に関連する技術の発展に伴い、ゲーム業界においてもAIを利用したゲームが提案されている。例えば、特許文献1は、ユーザがAIによって制御されているキャラクタとの会話を楽しむことができる育成ゲームを開示している。
【先行技術文献】
【特許文献】
【0003】
特開2018-072805公報
【発明の概要】
【発明が解決しようとする課題】
【0004】
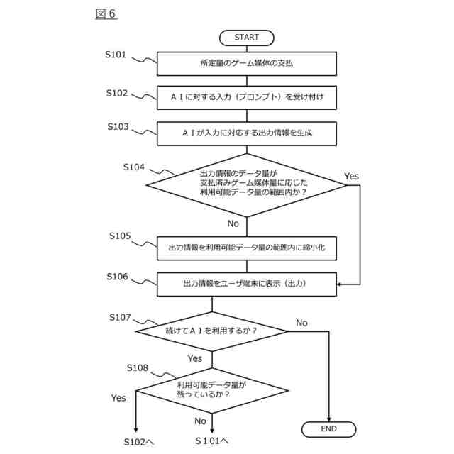
AIを利用するゲームでは、膨大な量のデータを処理することが想定され、各ユーザ(プレイヤ)によるAIの利用を適正に管理することが求められる。
【0005】
本開示における例示的な実施形態の目的は、ゲームで用いられるAIの利用量を可視化して管理することができる情報処理システム、プログラム、及び、情報処理方法を提供することである。
【課題を解決するための手段】
【0006】
本開示の一態様に係わる情報処理システムは、
ユーザが保有するゲーム媒体及び該ゲーム媒体の数量を示す保有数情報を記憶するユーザ情報記憶部と、
前記人工知能への入力のデータ量、及び/又は、前記人工知能からの出力のデータ量と、所定ゲーム媒体の数量と、を換算するための換算レートを記憶する換算レート記憶部と、
前記換算レートに基づく、前記所定ゲーム媒体と、前記人工知能に関わる入力及び/又は出力のデータ量との間の換算に基づいて、前記ユーザによる前記人工知能の利用量を管理するAI利用量管理部と、を備える。
【0007】
情報処理システムが上記の特徴を有することで、各ユーザによるゲームプレイにおけるAIの利用量を可視化して管理することができる。
【0008】
本開示の一態様に係わるプログラムは、
人工知能を利用するゲームの提供に関わる情報処理をコンピュータに実行させるためのプログラムであって、
ユーザが保有するゲーム媒体及び該ゲーム媒体の数量を示す保有数情報を記憶することと、
前記人工知能への入力のデータ量、及び/又は、前記人工知能からの出力のデータ量と、所定ゲーム媒体の数量と、を換算するための換算レートを記憶することと、
前記換算レートに基づく、前記所定ゲーム媒体と、前記人工知能に関わる入力及び/又は出力のデータ量との間の換算に基づいて、前記ユーザによる前記人工知能の利用量を管理することと、を前記コンピュータに実行させる。
【0009】
プログラムが上記の特徴を有することで、各ユーザによるゲームプレイにおけるAIの利用量を可視化して管理することができる。
【0010】
本開示の一様態に係わる情報処理方法は、
コンピュータが、人工知能を利用するゲームの提供に関わる情報処理を実行する情報処理方法であって、
ユーザが保有するゲーム媒体及び該ゲーム媒体の数量を示す保有数情報を記憶することと、
前記人工知能への入力のデータ量、及び/又は、前記人工知能からの出力のデータ量と、所定ゲーム媒体の数量と、を換算するための換算レートを記憶することと、
前記換算レートに基づく、前記所定ゲーム媒体と、前記人工知能に関わる入力及び/又は出力のデータ量との間の換算に基づいて、前記ユーザによる前記人工知能の利用量を管理することと、を前記コンピュータが実行する。
(【0011】以降は省略されています)
この特許をJ-PlatPat(特許庁公式サイト)で参照する
関連特許
株式会社アカツキ
情報処理システム、プログラム、情報処理方法
11日前
株式会社アカツキ
情報処理システム、プログラム、情報処理方法
29日前
株式会社アカツキ
情報処理システム、情報処理装置、プログラム及び情報処理方法
今日
株式会社アカツキ
情報処理システム、プログラム、情報処理方法
11日前
個人
玩具
4か月前
個人
玩具
1か月前
個人
自走玩具
1か月前
個人
玩具
9か月前
個人
運動補助具
3か月前
個人
小型卓球台
今日
個人
ゲーム玩具
5か月前
個人
盤上遊戯具
9か月前
個人
フィギュア
9か月前
個人
パズル
1日前
個人
打撃練習用具
19日前
株式会社三共
遊技機
7か月前
株式会社三共
遊技機
7か月前
株式会社三共
遊技機
7か月前
株式会社三共
遊技機
7か月前
株式会社三共
遊技機
7か月前
株式会社三共
遊技機
7か月前
株式会社三共
遊技機
7か月前
株式会社三共
遊技機
7か月前
株式会社三共
遊技機
7か月前
株式会社三共
遊技機
7か月前
株式会社三共
遊技機
7か月前
株式会社三共
遊技機
7か月前
株式会社三共
遊技機
7か月前
株式会社三共
遊技機
7か月前
株式会社三共
遊技機
7か月前
株式会社三共
遊技機
7か月前
株式会社三共
遊技機
7か月前
株式会社三共
遊技機
7か月前
株式会社三共
遊技機
7か月前
株式会社三共
遊技機
7か月前
株式会社高尾
遊技機
7か月前
続きを見る
他の特許を見る